5月17日,NMPA发布最新一批药品批准证明文件送达信息,其中,齐鲁制药的奥拉帕利片获批上市,斩获国内首仿药。2022年,该抗癌药在全球大卖了26.38亿美元,在我国院内的销售额同比增长了18.5%,突破10亿大关,且市场扩张趋势明显。

截图来源:NMPA官网
一、全球首款PARP抑制剂抗癌药,去年大卖26亿美元
奥拉帕利(Olaparib)是全球首款获批上市的口服多腺苷二磷酸核糖聚合酶(PARP)抑制剂,通过抑制PARP酶活性和防止PARP与DNA解离,协同DNA损伤修复功能缺陷,杀死肿瘤细胞。原研由阿斯利康和默沙东-MSD联合开发,商品名为Lynparza。
据药融云数据库,2014年12月19日,奥拉帕利获FDA批准用于治疗卵巢癌。截至目前,奥拉帕利已相继斩获卵巢癌、乳腺癌、去势抵抗性前列腺癌、胰腺癌、输卵管癌、腹膜癌等多项适应症。自上市以来,奥拉帕利的销售额逐年增长。阿斯利康2022年财报显示,奥拉帕利全年销售额已达26.38亿美元。
奥拉帕利全球已获批上市适应症

截图来源:药融云全球药物研发数据库
在国内,奥拉帕利最早于2018年8月获NMPA批准上市,用于治疗卵巢恶性肿瘤,后陆续获批腹膜或腹膜后肿瘤、输卵管恶性肿瘤、前列腺癌等适应症。2019年,奥拉帕利通过谈判降价61.8%进入医保乙类目录,后经过多次新适应症获批+医保谈判,现该抗癌药医保使用范围已拓宽至3项:
- 携带胚系或体细胞BRCA突变的(gBRCAm或sBRCAm)晚期上皮性卵巢癌、输卵管癌或原发性腹膜癌初治成人患者在一线含铂化疗达到完全缓解或部分缓解后的维持治疗;
- 铂敏感的复发性上皮性卵巢癌、输卵管癌或原发性腹膜癌成人患者在含铂化疗达到完全缓解或部分缓解后的维持治疗;
- 携带胚系或体细胞BRCA突变(gBRCAm或sBRCAm)且既往治疗(包括一种新型内分泌药物)失败的转移性去势抵抗性前列腺癌成人患者。
据药融云统计,奥拉帕力片在我国院内的销售额于2020年大涨,突破亿元大关,2022年的院内销售额又突破10亿元大关,同比增长18.5%,市场增长趋势明显。

截图来源:药融云全国医院销售数据库
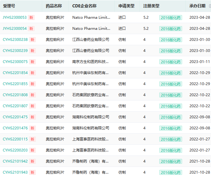
二、九家药企布局,齐鲁制药斩获国内首仿药
据药融云数据库,奥拉帕利的化合物专利在2024年3月到期,制剂专利在2029年10月到期,用途专利在2024年11月到期。
尽管如此,国内已有湖南科伦制药、齐鲁制药、石药欧意、中美华东制药、山香药业、方生和医药/利泰尔药业、上海宣泰医药/江苏宣泰药业等9家药企递交了奥拉帕利片的仿制上市申请,其中此次齐鲁制药率先获批,斩获国内首仿药。此外还有重庆药友制药、江苏诚康药业等药企开展了BE试验。
奥拉帕力片新分类注册申报概况

截图来源:药融云中国药品审评数据库
参考来源:
[1] NMPA官网
[2] 药融云数据库
想要解锁更多药品信息吗?查询药融云数据库(vip.pharnexcloud.com/?zmt-mhwz)掌握药品各国上市情况、药品批文信息、销售情况与各维度分析、市场竞争格局、一致性评价情况、集采中标情况、药企申报审批信息、最新动态与前景等,以及帮助企业抉择可否投入时提供数据参考!注册立享15天免费试用!

<END>








川公网安备51019002008863号
本网站未发布麻醉药品、精神药品、医疗用毒性药品、放射性药品、戒毒药品和医疗机构制剂的产品信息
收藏
登录后参与评论
暂无评论