
从生物医药领域相关的投融资事件如何看待投资趋势?如何分析资本追逐的热门赛道?本期,药融咨询从9月创投事件展开分析,追踪国内医药大健康投融资与发展动向。
据药融云《全球在研新药与靶点月报》数据统计,2023年9月全球医药大健康行业共发生投融资事件246起,与上月数量比较减少17%,其中融资热度TOP3细分领域分别为医疗器械耗材、创新药、医疗/医药技术,本月融资事件发生数量分别为72起、78起、66起。

图片来源:药融云《全球在研新药与靶点月报》
国内医药大健康行业共发生投融资事件76起,与上月数量比较减少30%,其中医疗器械耗材热度最高,本月共发生融资事件33起,医疗/医药技术次之(为19起),创新药、医药制造/服务、医疗服务、其他发生数量分别为17起、4起、2起、1起。
本月创新药大类中,生物药品、基因治疗为资本关注的热门赛道;从疾病领域来看,肿瘤为热门投融资疾病领域。从融资轮次来看,本月创新药大类涉及企业总体融资轮次靠前;从融资金额来看,专注于双抗研发的友芝友生物,专注于细胞疗法的启函生物、沙砾生物,专注于肿瘤药物研发的凌科药业、宜明昂科,以及和泽医药、江苏创健医疗7家企业在1亿元人民币以上。
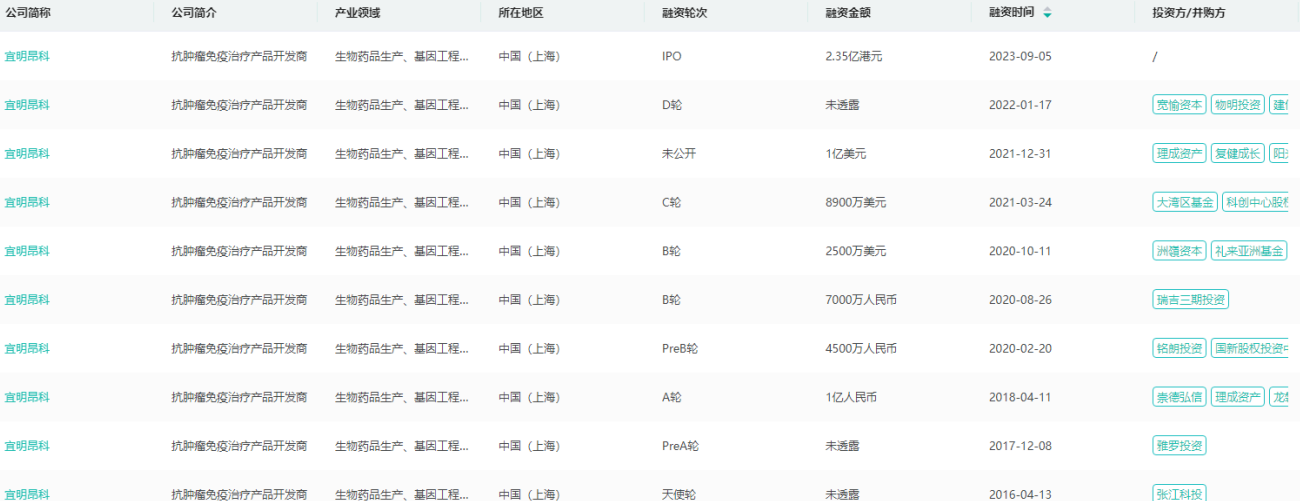
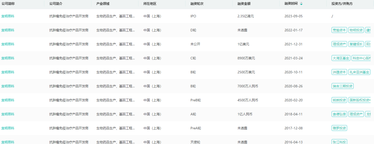
1.宜明昂科港交所挂牌上市,市值高达73亿!
2023年9月5日,宜明昂科在港交所主板挂牌上市,发行价为18.6港元/股,开盘价为21.2港元/股,开盘价较发行价上涨13.98%。开盘后呈现上涨的趋势,股价最高达22港元/股,市值最高达82.1亿港元,随后有所回落,截至9:37分,股价为21.1港元/股,较发行价上涨13.44%,市值为78.75亿港元(折算为人民币73亿元)。
药融云医药投融资数据库显示,宜明昂科自成立后从2017年开始融资,6年共融资6轮,投资方涉及礼来亚洲基金、洲嶺资本、宽愉资本、建信投资、铭朗投资、黄河三角洲产业投资等。
宜明昂科投融资事件

图片来源:药融云医药投融资数据库
作为一家临床阶段生物技术公司,宜明昂科致力于开发肿瘤免疫疗法,主要包括新型重组蛋白、双特异性抗体等;宜明昂科从CD47、CD24、CD70等少见靶点入手,开发出14款创新候选药物的在研管线,能用于治疗多种血液肿瘤和实体瘤等。其中,正在进行的临床项目有8个,包括IMM01、IMM0306、IMM2510、IMM27M和IMM2902等。
IMM01是宜明昂科的核心产品之一,是新一代CD47靶向分子,也是中国首个进入临床阶段的SIRPα-Fc融合蛋白。具有IgG1 Fc的IMM01能够通过双重作用机制充分激活巨噬细胞—同时通过干扰CD47/SIRPα相互作用阻断“别吃我”信号,并通过激活巨噬细胞的Fcγ受体传递“吃我”信号。
IMM01不同适应症研发现状

图片来源:药融云全球药物研发数据库
IMM01体内具有强大的抗肿瘤活性,临床可以观察到单药的有效性。同时,在临床前体内药效试验中与靶向药物和免疫治疗药物联用,针对实体瘤显示强大的肿瘤抑制活性和联合用药潜力。IMM01目前已分别在中国、日本和美国获批发明专利。
2.科药业有望成为国内第三代JAK抑制剂领军企业
创新药研发公司凌科药业完成了C2轮融资,本轮融资由盛世投资管理的绍兴滨海新区生物医药产业股权投资基金、海邦投资、好买母基金共同参与,老股东联新资本和礼来亚洲基金持续加注。这是继5月31日C1轮融资之后公司获得的新一笔融资,截止目前C轮总融资额3.22亿人民币。浩悦资本担任本轮融资的独家财务顾问。
凌科药业是一家聚焦肿瘤及自身免疫疾病,致力于小分子FIC与BIC类药物研发的医药企业。在研管线布局上,以第二代高选择性和第三代组织特异性JAK抑制剂的开发为核心。
药融云全球药物研发数据库显示,其目前有4个适应症处于临床II期,临床数据优势明显,其中多个管线即将进入临床III期。其中,凌科药业的LNK01001处于前列,其临床前数据显示,在对照研究中,无论是从激酶或细胞或全血实验中,对于JAK2的选择性都远高于主要竞品。
凌科药业研发管线布局(部分)

图片来源:药融云全球药物研发数据库
此外,在第三代组织限制性JAK抑制剂领域,凌科药业已有3条管线进入临床试验阶段:LNK01002、 LNK01003和LNK01004。凌科药业在该领域的竞争中具有明显的先发优势,作为“先手”企业有望成为国内乃至全球第三代JAK抑制剂的领军企业。
凌科药业成立3年半时间已拿到3个原研产品的中美IND批件,顺利开展全球临床开发,并在2020年成功地将1个产品的海外开发权益转让给一个美国公司(首付款和里程碑付款近两亿美元)和从日本神户大学和理研引进一个潜在的全球首创的RAS项目。
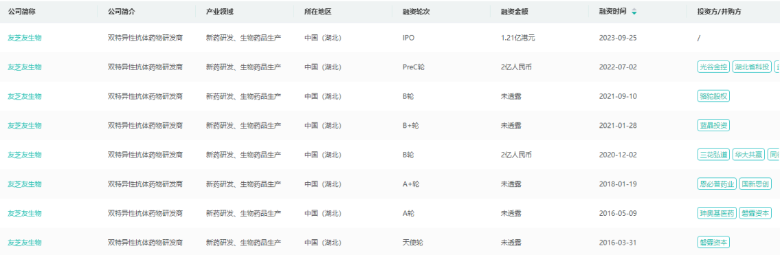
3.友芝友生物登陆港股,癌症治疗领域的新星崛起
友芝友生物成功登陆港交所,发行价为16港元/股,开盘价为16.4港元/股,较发行价微涨2.5%,随后最高上涨至16.6港元/股,然后有所滑落。截至10:16分,股价为16.36港元/股,总市值为31.57亿港元(约合29.5亿元)。
友芝友生物制药是一家专门从事以肿瘤免疫疗法为核心的生物制药公司,专注于双特异性抗体药物的研发与产业化。2018年1月与国内制药龙头企业石药集团达成战略合作,以3.56亿元人民币收购武汉友芝友39.56%股权,成为目前其第一大股东。
友芝友生物投融资事件

图片来源:药融云医药投融资数据库
双特异性抗体药物是下一代抗体药物的核心研发方向,在肿瘤、免疫、炎症、心血管和感染等重大疾病领域具有广泛的治疗前景。
药融云数据库显示,友芝友生物用于治疗胃癌、乳腺癌和用于治疗晚期癌性腹水的2个品种在中国率先获批临床批件并开展临床研究,另有10个品种处在临床前不同研发阶段,覆盖肿瘤、眼科、新冠等多个疾病领域。其中,M701(EpCAM/CD3双抗)、Y-101D(PD-L1/TGF-β双抗)等为进度较快的管线,正在进行II期临床研究。
<END>
医药大健康行业还有哪些值得关注的投融资事件?想要获取药融云《全球在研新药与靶点月报》全部报告内容,请关注“药融云”公众号,后台回复“报告”关键词进行领取;或者前往“药融云”数据库进行查询。








浙公网安备33011002015279
本网站未发布麻醉药品、精神药品、医疗用毒性药品、放射性药品、戒毒药品和医疗机构制剂的产品信息
收藏
登录后参与评论
暂无评论