
近日,据CDE官网公示,浙江华海药业的4类仿制化药阿戈美拉汀片上市申请获受理。目前该品种院内市场基本由江苏豪森垄断。

截图来源:CDE官网
阿戈美拉汀原研来自法国施维雅,是5-羟色胺2C(S-HTx)受体拮抗剂,同时又是褪黑素受体1A和1B(MT1和MT2)激动剂,能够有效改善抑郁情绪,也有一定的抗焦虑作用,临床上主要用于治疗成人抑郁症。该药是精神疾病类又一个“重磅炸弹”级的药物,2011年原研产品获批进入中国,后进入国家医保目录(乙类)。
7亿+独家品种,华海药业入局
据《2022年国民抑郁症蓝皮书》数据显示,我国抑郁症患者人数超过9500万,其中30%是18岁以下青少年,且女性患病率为男性的2倍。新冠疫情后,全球抑郁症患者更是激增了5300万。伴随着患病人群的持续增多强烈推动了抗抑郁药物市场的发展,据药融云数据统计2022年抗抑郁药院内销售额达62亿元;从企业来看,江苏豪森市场份额最高,这主要是由于其阿戈美拉汀片市场优势极大。阿戈美拉汀2022年院内销售额为7.6亿元,同比增长13%,是抗抑郁药的TOP2品种。

截图来源:药融云全国医院销售数据库
2014年江苏豪森获批生产阿戈美拉汀,后于2022年通过一致性评价,这也是目前唯一一家拥有该品种批文的本土药企;同时,江苏豪森几乎垄断了该品种的院内市场,2021年份额超95%。
此次,华海药业是最新入局该品种的企业,目前除华海药业,还有北京福元医药、华益泰康药业、四川国为制药、四川科伦药业等16家企业提交仿制申请,均在审评审批中。
抗抑郁TOP1品种,3家药企垄断
近年来,抗抑郁症类药物随着抑郁症病理生理学研究的深入而逐渐发展。目前,针对中度以上抑郁发作的主要治疗措施是药物治疗。临床上,抗抑郁药主要分为五类,有单胺氧化酶抑制剂(MAOI)、选择性去甲肾上腺素再摄取抑制剂(NARI)、选择性5-HT再摄取抑制剂(SSRI)、选择性5-HT及去甲肾上腺素再摄取抑制剂(SNRI)和其他类如植物药、中药类等。据药融云2022年抗抑郁药(化药)院内销售数据,排名前五均为SSRI/SNRI抑制剂,分别是草酸艾司西酞普兰片(SSRIs)、阿戈美拉汀片(SNRIs)、米氮平片(SNRIs)、盐酸舍曲林片(SSRIs)和马来酸氟伏沙明片(SSRIs)。5款药物合计占据院内市场60%的份额,市场集中度较高。
在2022年全国院内销售TOP10产品中,草酸艾司西酞普兰片高居榜首。目前艾司西酞普兰在国内有片剂和口服溶液两种剂型获批上市,其中该品种市场由四川科伦、山东京卫制药和原研丹麦灵北占领,合计份额高达84%。其次是阿戈美拉汀,居第二位,该产品国内市场由江苏豪森企业垄断,2022年全国院内占比份额超89%。

截图来源:药融云全国医院销售数据库-全局分析
百亿抗抑郁赛道,72家药企攻势强劲
据世界卫生组织数据,全球约3.8%的人口,5%的成年人患有抑郁症,预计到2030年抑郁症将成为全球疾病负担第一的疾病。报告显示,2030年中国抗抑郁药物预计将达到238亿元的市场规模。
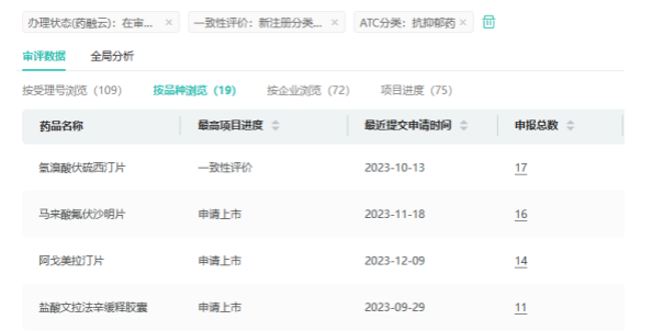
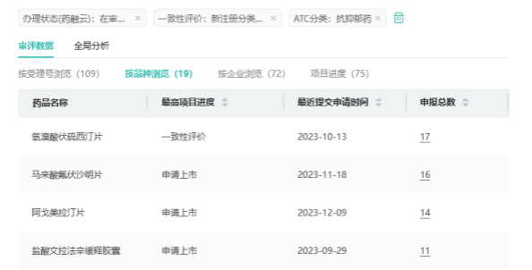
据药融云数据统计,目前抗抑郁药共有19个仿制药品种报产在审,其中,氢溴酸伏硫西汀片、马来酸氟伏沙明片等品种受理号最多;阿戈美拉汀片最为抢手,报产厂家多达14家。此外抗抑郁药百亿市场,还有扬子江药业、石家庄四药、宜昌人福药业等72家企业展开了强势攻击。

截图来源:药融云中国药品审评数据库
抗抑郁新药方面,华海制药的盐酸羟哌吡酮片获批临床。此外,国内还有超10款抗抑郁1类新药处于获批临床及以上阶段,涉及广东东阳光药业、广为医药、华海药业、豪森药业、信立泰、石药集团等多家企业,涵盖包括GABAA受体、NMDA受体等新靶点。
<END>
要解锁更多企业药品研发信息吗?查询药融云数据库(vip.pharnexcloud.com/?zmt-mhwz)掌握药品各国上市情况、药品批文信息、销售情况与各维度分析、市场竞争格局、一致性评价情况、集采中标情况、药企申报审批信息、最新动态与前景等,以及帮助企业抉择可否投入时提供数据参考!注册立享15天免费试用!








川公网安备51019002008863号
本网站未发布麻醉药品、精神药品、医疗用毒性药品、放射性药品、戒毒药品和医疗机构制剂的产品信息
收藏
登录后参与评论
暂无评论