
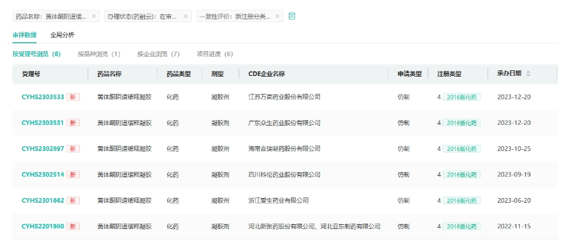
日前,据CDE官网最新公示,江苏万高药业和广东众生药业递交的4类仿制化药黄体酮阴道缓释凝胶上市申请获同日受理。目前,该品种由原研独家在售,尚无国产仿制药获批。

截图来源:CDE官网
黄体酮阴道缓释凝胶原研来自德国默克,可以通过靶向给药,改善子宫内膜容受性,促进胚胎着床并减少流产风险,用于辅助生育技术中黄体酮的补充治疗。1997年,FDA批准黄体酮阴道缓释凝胶上市,商品名Crinone。默克雪兰诺的黄体酮阴道缓释凝胶于1999年通过非集中审评在欧盟获批上市。2008年,黄体酮阴道缓释凝胶获批进入中国,商品名为雪诺同,规格为8%(90mg)。
40亿凝胶剂市场,珠海亿胜生物制药居榜首
近年来,我国不孕不育症的患者基数和患病率均持续走高。根据弗若斯特沙利文数据,中国不孕不育夫妻的数量逐年增加,人数在2020年达到了5050万。发表在《柳叶刀》上的一篇报告分析结果显示,2007-2010年间,我国不孕发病率已经从11.9%升至15.5%,2020年的发病率将接近18%。据药融云数据统计,凝胶剂在2022年全国院内销售额近40亿元,同比增长达4.23%,其中黄体酮阴道缓释凝胶在2022年全国院内销售近6亿元,同比增长达5.78%。由此看来,作为辅助生殖的常用药,黄体酮阴道缓释凝胶前景明朗。

截图来源:药融云全国医院销售数据库
凝胶剂市场从企业的竞争格局来看(以集团计),国内药企正在迎头赶上,市场份额逐渐扩大,2022年全国院内TOP10企业中,珠海亿胜、默克和扬子江在凝胶剂市场居列前三。其中珠海亿胜以15.7%的市场份额成为榜首。默克紧随其后,以15%的市场份额位列第二。扬子江以14%的市场份额位列第三。

截图来源:药融云全国医院销售数据库-全局分析
6亿凝胶制剂,科伦等7家药企“扎堆”抢首仿
目前,黄体酮阴道缓释凝胶由原研默克独家在售,尚无国产仿制药获批。从当前“仿制”布局来看,竞争异常激烈。除了此次2家药企提交报产申请,还有科伦、海南合瑞制药、浙江爱生药业等5家药企扎堆抢首仿。若其中一家企业顺利获批,将有望成为国内首仿,进一步瓜分原研的存量市场。

截图来源:药融云中国药品审评数据库
据药融云数据统计,黄体酮已有多种剂型在国内获批,包括注射剂、栓剂、胶囊、缓释凝胶等,除了缓释凝胶,其他剂型均已有国产仿制药获批。此外江苏万高药业和广东众生药业2家药企目前尚无凝胶制剂相关批文,若此次的黄体酮阴道缓释凝胶顺利获批,将成为2家药业首款凝胶剂。
2023年至今,江苏万高药业获批的品种有枸橼酸西地那非片、间苯三酚注射液、地氯雷他定口服溶液等15个品种获批生产并视同过评,广东众生药业有羧甲司坦口服溶液、地夸磷索钠滴眼液等5个品种获批生产并视同过评。
<END>
要解锁更多企业药品研发信息吗?查询药融云数据库(vip.pharnexcloud.com/?zmt-mhwz)掌握药品各国上市情况、药品批文信息、销售情况与各维度分析、市场竞争格局、一致性评价情况、集采中标情况、药企申报审批信息、最新动态与前景等,以及帮助企业抉择可否投入时提供数据参考!注册立享15天免费试用!








川公网安备51019002008863号
本网站未发布麻醉药品、精神药品、医疗用毒性药品、放射性药品、戒毒药品和医疗机构制剂的产品信息
收藏
登录后参与评论
暂无评论