
6月25日,据NMPA官网公示,扬子江药业提交的3类仿制药盐酸艾司氯胺酮注射液获批上市并视同过评。据药融云数据库显示,此前盐酸艾司氯胺酮注射液仅恒瑞一家药企拥有生产批文,此次扬子江药业是第2家获批该品种的药企。

截图来源:NMPA官网
盐酸艾司氯胺酮注射液限用于手术镇痛镇静和重度抑郁症的治疗,或用于与镇静麻醉药(如丙泊酚)联合诱导和实施全身麻醉。2020年经谈判进入国家医保目录。据药融云数据库显示,盐酸艾司氯胺酮注射液在2022年全国医院内的销售额已接近2亿元,同比增长达11.57%。进入2023年,该品种在全国院内销售额逼近3亿元,同比增长达50.50%,市场潜力可期。

截图来源:药融云全国医院销售数据库
此前,盐酸艾司氯胺酮注射液仅恒瑞一家药企拥有生产批文,恒瑞在2019年拿下盐酸艾司氯胺酮注射液的国内首仿。宜昌人福药业在2020年首次提交盐酸艾司氯胺酮注射液的3类仿制上市申请,目前还在审评审批中。此次扬子江药业是第2家获批该品种的药企。

截图来源:药融云中国药品批文数据库
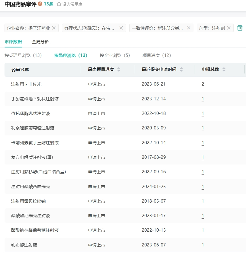
在注射剂仿制药布局方面,扬子江药业提交了注射用卡非佐米、丁酸氯维地平乳状注射液、依托咪酯乳状注射液、依托咪酯乳状注射液、钆布醇注射液等12个品种的上市申请。

截图来源:药融云中国药品审评数据库
2024年至今,扬子江药业有盐酸艾司氯胺酮注射液、阿加曲班注射液、他氟前列素滴眼液、吸入用乙酰半胱氨酸溶液等9个品种获批并过评。
<END>
想要解锁更多药物研发信息吗?查询药融云数据库(vip.pharnexcloud.com/?zmt-mhwz)掌握药物基本信息、市场竞争格局、销售情况与各维度分析、药企研发进展、临床试验情况、申报审批情况、各国上市情况、最新市场动态、市场规模与前景等,以及帮助企业抉择可否投入时提供数据参考!注册立享15天免费试用!








川公网安备51019002008863号
本网站未发布麻醉药品、精神药品、医疗用毒性药品、放射性药品、戒毒药品和医疗机构制剂的产品信息
收藏
登录后参与评论
暂无评论