
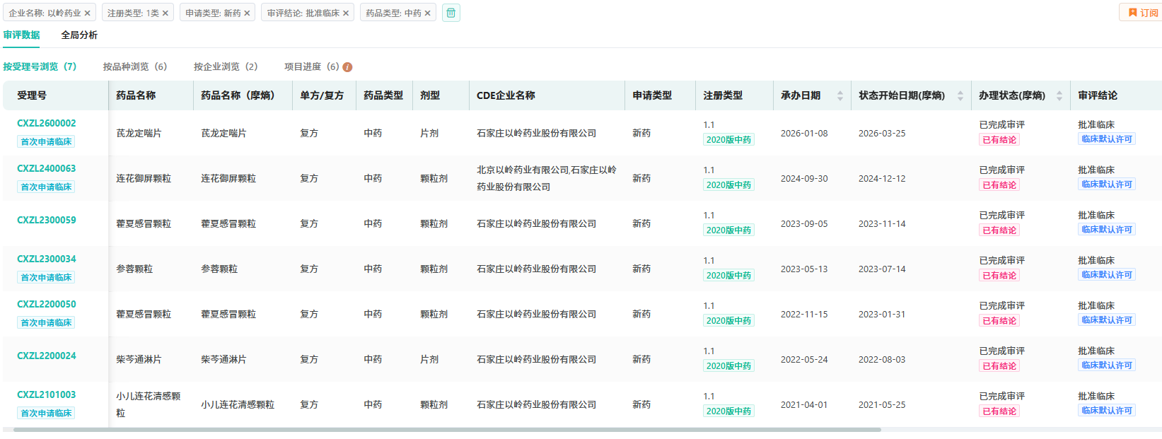
3月26日,CDE官网公示显示,石家庄以岭药业申报的1.1类中药新药芪龙定喘片正式获批临床。该药拟定功能主治为“益气活血通络、化痰止咳平喘”,主要针对慢性阻塞性肺疾病(简称“慢阻肺”)稳定期中,心肺气虚、痰瘀阻滞的病症患者。

截图来源:CDE官网
一、抢占百亿呼吸市场蓝海,以岭龙头地位稳固
芪龙定喘片是以岭药业2026年收获的首个中药创新药临床批件。该药于1月8日首次提交申请,仅用两个多月即获批准临床,进展迅速。
呼吸系统疾病中成药市场空间广阔,且保持稳定增长。据摩熵医药数据库显示,呼吸系统疾病中成药在2024年全终端医院市场的销售额已突破700亿元,同比增长2.92%。2025年前三季度销售额也超过500亿元,市场需求旺盛。

查数据,找摩熵!图源:摩熵医药-全终端医院销售数据库
在企业竞争格局中,以岭药业已建立起显著优势。2025年前三季度,其呼吸系统药物在全终端医院市场销售额突破18亿元,稳居行业前四。尤其在针对“心肺气虚、痰瘀阻滞证”的创新药赛道,国内目前尚无同类产品获批上市,芪龙定喘片的临床推进,意味着以岭药业正在抢占一片全新的蓝海。

查数据,找摩熵!图源:摩熵医药-全终端医院销售数据库
二、拿下19款呼吸系统中成药,12款1类新药获批临床
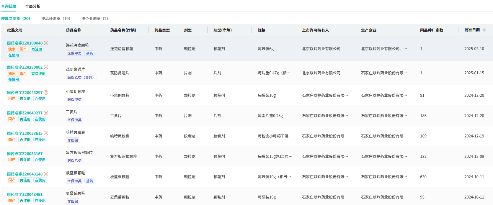
呼吸系统疾病用药是以岭药业长期深耕的核心领域之一,其市场地位建立在丰富的产品矩阵之上。目前公司(含子公司)拥有19款呼吸系统中成药的生产批文,其中有连花清瘟颗粒、芪防鼻通片、连花清瘟胶囊、连花清咳片、连花清瘟片5款独家品种。










川公网安备51019002008863号
本网站未发布麻醉药品、精神药品、医疗用毒性药品、放射性药品、戒毒药品和医疗机构制剂的产品信息
收藏
登录后参与评论
暂无评论