
随着冬季来临,气温持续走低,心脑血管疾病进入高发期,其用药市场也迎来关键观察窗口。2024年中国三大终端心脑血管中成药销售额达935.34亿元,医院终端以79.66%占比主导市场;2025年上半年医院端销售额349.38亿元,TOP20产品中仅5个正增长,企业TOP10中7家负增长,但13个独家品种仍占据半壁江山......
心脑血管疾病指因心脏或脑部血管病变引发的缺血性、出血性或功能衰竭性疾病,涵盖心脏血管疾病(如冠心病、高血压、心肌梗死、心力衰竭、心律失常)和脑血管疾病(如脑卒中、脑血栓、脑出血、脑动脉硬化)两大类。
据摩熵医药数据库统计,2024年中国药品三大终端(医院终端、实体药店与网上药店)中成药心脑血管疾病用药销售额为935.34亿元,其中医院终端占比79.66%。2025年上半年,三大终端该品类销售额共计437.01亿元。
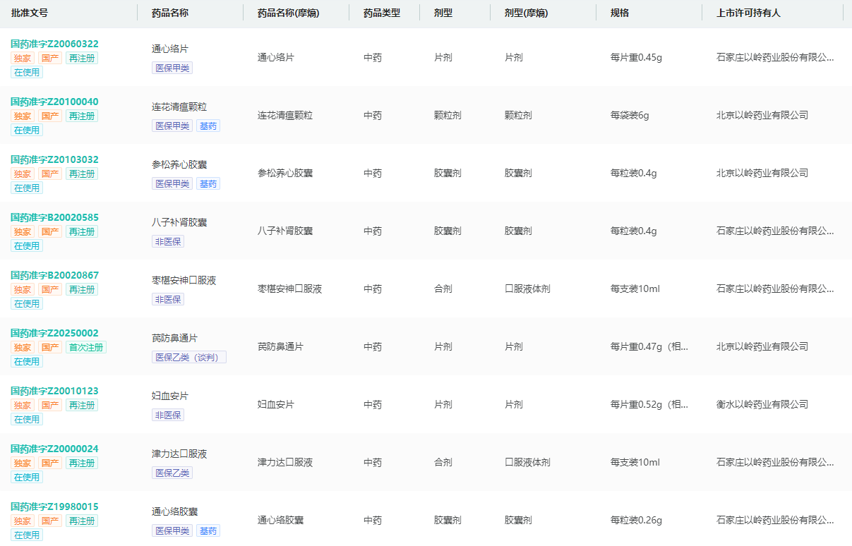
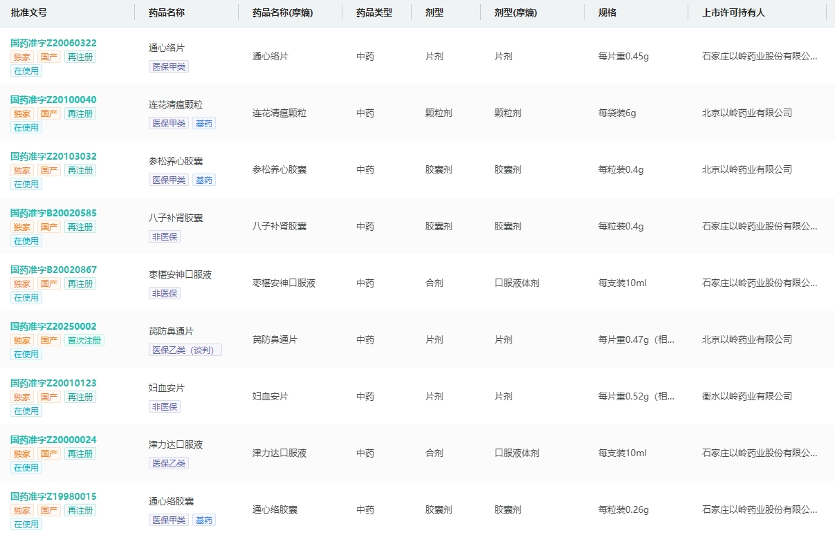
在医院终端中成药市场中,心脑血管疾病用药为第一大类别,2024年销售额达745.05亿元,占全国医院中成药市场总规模的26.11%。其中,销售排名前十的药品合计占据33.04%的市场份额。具体来看,注射用血塞通以36.03亿元的销售额位居第一,占比14.64%;复方丹参滴丸排名第二,占比11.85%;脑心通胶囊排名第三,占比11.22%。
2024年医院终端中成药市场心脑血管疾病用药TOP10

图片来源:摩熵医药-全终端医院销售数据库
2025年上半年,医院终端心脑血管疾病用药销售规模为349.38亿元,同比下降7.97%。在前20名产品中,仅5个实现正增长,其余均有下滑。其中销售额突破10亿元的药品共有7个,麝香保心丸以14.34亿元位居榜首,同比增长6.30%。
2025H1医院终端中成药市场心脑血管疾病用药TOP20

数据来源:摩熵医药-全终端医院销售数据库
从增长表现来看,注射用丹参多酚酸盐同比增长58.38%,销售额达5.86亿元,排名第十四;参附注射液同比增长26.76%,销售额为4.69亿元,排名跃升至第十九。此外,苏合香丸销售额5.8亿元,同比增长15.08%;丹红注射液销售额11.86亿元,同比增长4.31%,位列第四。另一方面,强力定眩片、醒脑静注射液、银杏二萜内酯葡胺注射液则跌出前二十名榜单。
从生产企业TOP10来看,其中有7家企业销售额呈现负增长,仅上海和黄药业、山东步长制药股份有限公司及山东丹红制药有限公司3家企业实现正增长。具体来看,天士力医药集团以17.79亿元的销售额位居第一,同比下滑6.66%;石家庄以岭药业位列第二,销售额为15.98亿元,同比下降8.21%;上海和黄药业销售额为14.35亿元,同比增长6.38%。
2025H1医院端中成药市场心脑血管疾病用药企业分析TOP10

图片来源:摩熵医药-全终端医院销售数据库
在2025H1医院终端中成药市场心脑血管疾病用药TOP20产品中,包含13个独家品种。其中,步长制药(含子公司)和以岭药业拥有的品种数量最多,各有3款产品入选:步长制药包括丹红注射液、脑心通胶囊、稳心颗粒;以岭药业包括参松养心胶囊、通心络胶囊、芪苈强心胶囊。其余独家品种还包括天士力的复方丹参滴丸、广西梧州制药的注射用血栓通等。
丹红注射液是山东丹红制药(步长制药子公司)的独家专利品种,属医保乙类,但非基药且在多地限二级以上医院使用。在2016年前后曾创下医院终端销售额超60亿元的巅峰业绩,是当时中成药领域名副其实的“超级大品种”。但此后因被纳入重点监控药品目录及行业政策收紧,销售额连续下滑。目前,其2024年销售额仍超过20亿元,占公司营收约17%,并已完成医保续约。









川公网安备51019002008863号
本网站未发布麻醉药品、精神药品、医疗用毒性药品、放射性药品、戒毒药品和医疗机构制剂的产品信息
收藏
登录后参与评论
暂无评论