
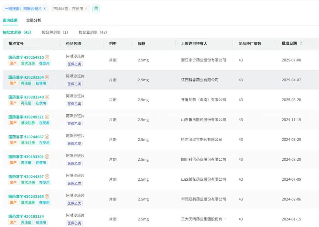
9月12日,CDE官网显示,天方药业有限公司按4类化药注册申报的阿哌沙班片上市申请已获受理。该品种曾是全球小分子药物销冠,年销超千亿元;天方药业的入局,叠加日前3D打印技术的突破,让其备受瞩目。

截图来源:CDE官网
阿哌沙班(Apixaban)是一种新型口服抗凝药,可以直接、可逆、高选择性地阻断Ⅹa因子的活性位点,阻断凝血酶原转化为凝血酶,从而预防血栓形成,用于治疗血栓栓塞性疾病。

截图来源:摩熵医药全球药物研发数据库
阿哌沙班片由百时美施贵宝与辉瑞联合研发,2011年率先在欧盟上市,2012年12月获美国FDA批准,2013年进入中国市场,商品名为“艾乐妥”,并于2017年纳入国家医保目录。
阿哌沙班在全球市场表现卓越。据摩熵医药数据库显示,该药2021年全球销售额为167.32亿美元,成功登顶全球小分子药物销售榜首。2022年,其以182.69亿美元(1274亿人民币)位居全球第二,仅次于新冠药物Paxlovid;2024年销售额突破两百亿美元,达到206.99亿,持续领跑全球抗凝药市场。

截图来源:摩熵医药全球药物研发数据库
然而这个年销售额超1000亿元的抗凝“巨头”,进入中国市场后却明显“水土不服”。阿哌沙班在我国院内最高销售额仅1.16亿元,2020年被纳入第三批国家集采后,院内销售额持续下滑,与全球市场形成鲜明反差。














川公网安备51019002008863号
本网站未发布麻醉药品、精神药品、医疗用毒性药品、放射性药品、戒毒药品和医疗机构制剂的产品信息
收藏
登录后参与评论
暂无评论