
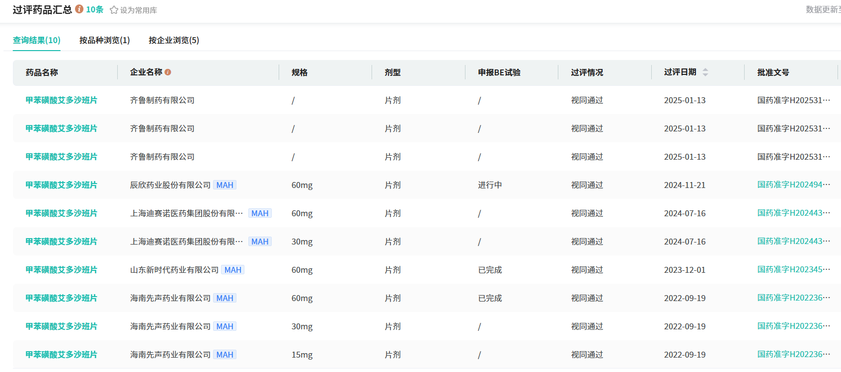
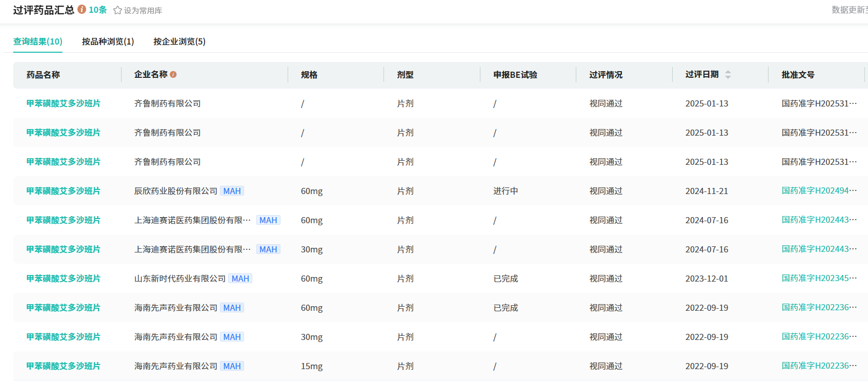
2025年1月13日,据NMPA官网最新显示,齐鲁制药提交的4类仿制药甲苯磺酸艾多沙班片获批并视同过评,该品种原研在国内院内市场中占据了大半江山,份额高达98.56%。

截图来源:NMPA官网
艾多沙班由第一三共开发,是一款可直接作用于凝血因子Xa的新型抗凝药物。该产品2018年在中国获批,此后通过价格谈判成功进入2020版国家医保目录,乙类目录,并开始实现快速放量。据摩熵医药数据库显示,艾多沙班在2023年全球销售额超18亿美元,同比增长达4.20%。

截图来源:摩熵医药全球药物研发数据库
在国内市场,甲苯磺酸艾多沙班片在2024年(Q1-Q3)全国院内销售额逼近3亿元。其中,原研产品占据了高达98.56%的市场份额,稳居市场首位;紧随其后的是海南先声药业,其市场份额为1.41%,位列第二。









川公网安备51019002008863号
本网站未发布麻醉药品、精神药品、医疗用毒性药品、放射性药品、戒毒药品和医疗机构制剂的产品信息
收藏
登录后参与评论
暂无评论