
2022年已进入到第四季度,随着集采的持续推进与集采对产品的市场影响加深,医院药品市场又有哪些新趋势呢?医院销售药品排名又有哪些更新呢?让我们一起来看看。
据药融云全国医院销售数据库统计,2022年上半年,我国医院药品市场销售额总数达4503.47亿元,同比增加1.7%。而2021年上半年与2022上半年相比,医院市场药品销售排名也有所变化。
2021年H1医院市场销售药品Top10(微信搜索"药融云小程序"查看更多相关数据)

图片来源:药融云全国医院销售数据库
2022年H1医院市场销售药品Top10

图片来源:药融云全国医院销售数据库
可以看到,2021年H1销售前10的品种有2个未进入2022年H1药品销售Top10榜单,分别是吸入用布地奈德混悬液与碘克沙醇注射液。吸入用布地奈德混悬液2022年上半年医院销售额为16.5亿元,同比下降71%;碘克沙醇注射液销售额为8.98亿元,同比下降180%。
2022年H1医院药品销售Top10榜单中,新上榜的两个药品分别是丁苯酞氯化钠注射液与静注人免疫球蛋白(pH4)。丁苯酞氯化钠注射液2022年上半年医院销售额为24.5亿元,同比增长20%,生产企业为石药集团恩必普药业;静注人免疫球蛋白(pH4)销售额为22.64亿元,同比增长9%;其中销售额排名前三的企业分别是:山东泰邦生物(19.84%)、成都蓉生药业(13.65%)、华兰生物(10.25%)。除此之外,人血白蛋白以73.76亿元销售额位居榜首,同比增长14%;注射用头孢哌酮钠舒巴坦钠以30.63亿元的销售额晋升前三,同比增长17%。
2022H1静注人免疫球蛋白(pH4)销售企业竞争格局

图片来源:药融云全国医院销售数据库
据药融云药品集中采购数据库统计,在2022H1医院市场销售排名前10的品种中,有2个大品种进入国采,分别是:氯化钠注射液、注射用美罗培南。目前已进入国采的氯化钠注射液品种有:左氧氟沙星氯化钠注射液(中选企业6家,中选规格2个,中选药品数8个)、盐酸替罗非班氯化钠注射液(中选企业6家,中选规格3个,中选药品数10个)、氟康唑氯化钠注射液(中选企业3家,中选规格1个,中选药品数3个)、盐酸莫西沙星氯化钠注射液(中选企业2家,中选规格1个,中选药品数2个)。
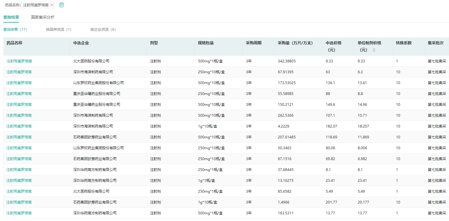
目前,注射用美罗培南的集采中选药品达到15个,多为注射剂;中选价格平均降幅为61.24%,最高降幅被北大医药拿下,中选价格9.33元,降幅70.65%;最低降幅为重庆圣华曦药业,中选价格8.8元,降幅52.95%。国采中,注射用美罗培南的中选企业一共有6家,分别是重庆圣华曦药业、深圳华药南方制药、深圳海滨制药、石药集团、北大医药、山东罗欣药业。
注射用美罗培南国采信息(部分)

图片来源:药融云药品集中采购数据库
下面,对医院市场2022H1药品销售额Top10的前五个品种进行简单介绍。
1、人血白蛋白
人血白蛋白2022年H1医院市场销售规模达73.76亿元,同比增长14%。人血白蛋白是一种血液制品,其生理功能主要是扩充血容量和维持血浆胶体渗透压,还具有载体及维持毛细血管完整性等功能;自1941年白蛋白首次临床应用以来,已经被广泛用于多种疾病的治疗。
现在市场上的人血白蛋白,国产产品产量不足,市场用药超一半为进口产品。据药融云全国医院销售数据库显示,人血白蛋白医院市场销售排名前五的生产企业,有四家为外资厂家;其中,瑞士杰特贝林生物占据34.31%的市场份额,西班牙基立福17.4%,希尔制药14.84%,山东泰邦生物8.76%,奥地利奥克特珐玛6.09%。国内生产商还有:南岳生物制药、华兰生物工程;江西博雅生物制药、山西康宝生物、上海新兴医药、成都蓉生药业、远大医药、中国医药集团等等。
人血白蛋白医院市场销售企业竞争格局

图片来源:药融云全国医院销售数据库
2、氯化钠注射液
氯化钠注射液2022年H1医院市场销售规模达68.59亿元,同比增长4%。氯化钠注射液是0.9%生理盐水,可用于治疗各种原因引起的失水和电解质紊乱。具有一定的消炎杀菌作用,可用于清洗伤口,避免感染。
药融云数据显示,医院市场氯化钠注射液生产厂家竞争格局中,排名前五的分别是:科伦药业、石药集团、石家庄四药、拜耳、大冢制药,其中排名第一的科伦药业占据了近30%的市场份额,石药集团和石四药旗鼓相当,分别占据15.31%与13.81%的市场份额。
据悉,全球氯化钠注射液市场规模2021年已达到140.93亿元,2018年至2025年,氯化钠注射液市场预计将以2.1%的复合年增长率增长,从2017年的20.66亿美元增长到2025年的24.38亿美元。中国是世界上人口最多的国家,也是最大的生理盐水供应和消费市场,市场份额大约33%,欧洲和美国也占据了超过20%的市场份额。
3、注射用头孢哌酮钠舒巴坦钠
注射用头孢哌酮钠舒巴坦钠2022年H1医院市场销售规模达36.96亿元,同比增长17%。注射用头孢哌酮舒巴坦钠,主要成分为头孢哌酮钠(CPZ)和舒巴坦钠(SBT),用于敏感菌所致的呼吸道感染、泌尿系感染、腹膜炎、胆囊炎和其它腹腔内感染,败血症、脑膜炎、皮肤软组织感染、骨骼及关节感染,盆腔炎、子宫内膜炎、淋病及其它生殖系统感染等。
药融云数据显示,注射用头孢哌酮钠舒巴坦钠在医院市场呈现逐年稳步增长的趋势,2021年销售额为64.67亿元,预计2022年或将突破成为70亿大品种,市场前景广阔。其中,辉瑞一家独大,占据超80%的市场份额。
注射用头孢哌酮钠舒巴坦钠医院市场销售趋势

图片来源:药融云全国医院销售数据库
4、贝伐珠单抗注射液
贝伐珠单抗注射液2022年H1医院市场销售规模达32.38亿元,同比增长11%。贝伐珠单抗Avastin(安维汀®)是由罗氏(Roche)研发的一款人源化单克隆抗体IgG1,是一种血管生成抑制剂,也是美国第一个获批上市的通过抑制肿瘤血管生成的药物,获批时间为2004年2月。目前在全球已获批8项适应症,用于治疗非小细胞肺癌、结直肠癌、胶质母细胞瘤、肾细胞癌、宫颈癌、卵巢癌等多种实体瘤。
药融云数据显示,贝伐珠单抗是竞争最为激烈的生物类似药品种之一,超百亿市场已经有30多家药企争相布局。截至目前,国内获批上市的贝伐珠单抗药物共计9种,包括罗氏、齐鲁制药、信达生物、博安生物、恒瑞医药、百奥泰生物、天广实生物、东曜药业和上海复宏汉霖,另有多款处于注册申请或临床试验阶段,市场竞争十分激烈。
贝伐珠单抗注射液不同研发阶段药品数量

图片来源:药融云全球药物研发数据库
贝伐珠单抗注射液在医院市场销售规模呈逐年大幅增长态势,2021年销售额达61.86亿元,同比增长56.83%;其中罗氏占据超60%的市场份额,排名第一;其次是齐鲁制药占据30%的市场份额,位居第二。
5、地佐辛注射液
地佐辛注射液2022年H1医院市场销售规模达31.28亿元,同比下降17%。地佐辛注射液原研药由Wyeth-Ayerst实验室研发,最早于1989年在美国获批上市,因战略布局问题于2000年退市,后经国内扬子江和合作伙伴天津药物研究院重新开发,于2009年获批上市,商品名加罗宁,用于使用阿片类镇痛药物治疗的各种疼痛。
地佐辛注射液医院市场销售趋势

图片来源:药融云全国医院销售数据库
地佐辛注射液是扬子江药业在止痛药领域的主打产品,于2009年10月上市,凭借镇痛活性高,较少有呼吸抑制、便秘、镇痛耐受和成瘾等不良反应的优势,用量快速增长。在医院市场,销售额从2014年27.09亿元快速增长至2019年67.67亿元,2019年后虽增速放缓但增长态势不变。2021年全年销售73.34亿元,同比增长10.34%,基本处于市场垄断地位。地佐辛注射液是神经系统化药TOP1产品,目前除了扬子江药业外,南京优科制药是该品种国内第二家获批上市的企业,目前江苏恩华药业正在冲刺国产第3家。
想要解锁更多药物销售情况吗?查询药融云数据库(vip.pharnexcloud.com/?zmt-mhwz)掌握药物全国医院和零售药店年度及季度销售情况、销售药物排行、生产企业排行、ATC分类销售额占比等更多全局分析,以及帮助企业抉择可否投入时提供数据参考!!注册立享15天免费试用!

<END>







川公网安备51019002008863号
本网站未发布麻醉药品、精神药品、医疗用毒性药品、放射性药品、戒毒药品和医疗机构制剂的产品信息
收藏
登录后参与评论
暂无评论