
4月25日,据CDE官网公示,豪森药业递交的4类化药仿制药注射用磷酸特地唑胺上市申请已获受理。不久前,该药的国内首仿由扬子江药业拿下,豪森药业此次入局该13亿超级抗生素,抢国产第仿制药二家。
豪森药业注射用磷酸特地唑胺受理信息

截图来源:CDE官网
磷酸特地唑胺是利奈唑胺的衍生药物,最早由韩国Dong-A 制药开发的一款二代恶唑烷酮类抗生素,辗转后授权Trius Therapeutics,Cubist (后被默克收购)和拜耳医药进行商业化开发,在2014年06月20日获得美国FDA批准上市,2015年6月在欧盟上市。2019年3月,这款超级抗生素的片剂及注射液获批在中国上市。
磷酸特地唑胺药品批文信息

截图来源:药融云中国药品批文数据库
目前磷酸特地唑胺在国内获批有2个品种,分别为注射用磷酸特地唑胺和磷酸特地唑胺片,前者批文由原研和扬子江药业持有,后者由原研独家销售。据药融云统计,利奈唑胺近年院内销售额峰值在17亿,2021年有所下滑,为13亿。作为其衍生药物,特地唑胺市场前景明朗。
利奈唑胺院内销售情况

截图来源:药融云全国医院销售数据库
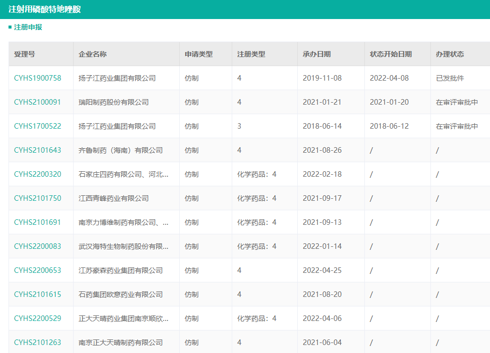
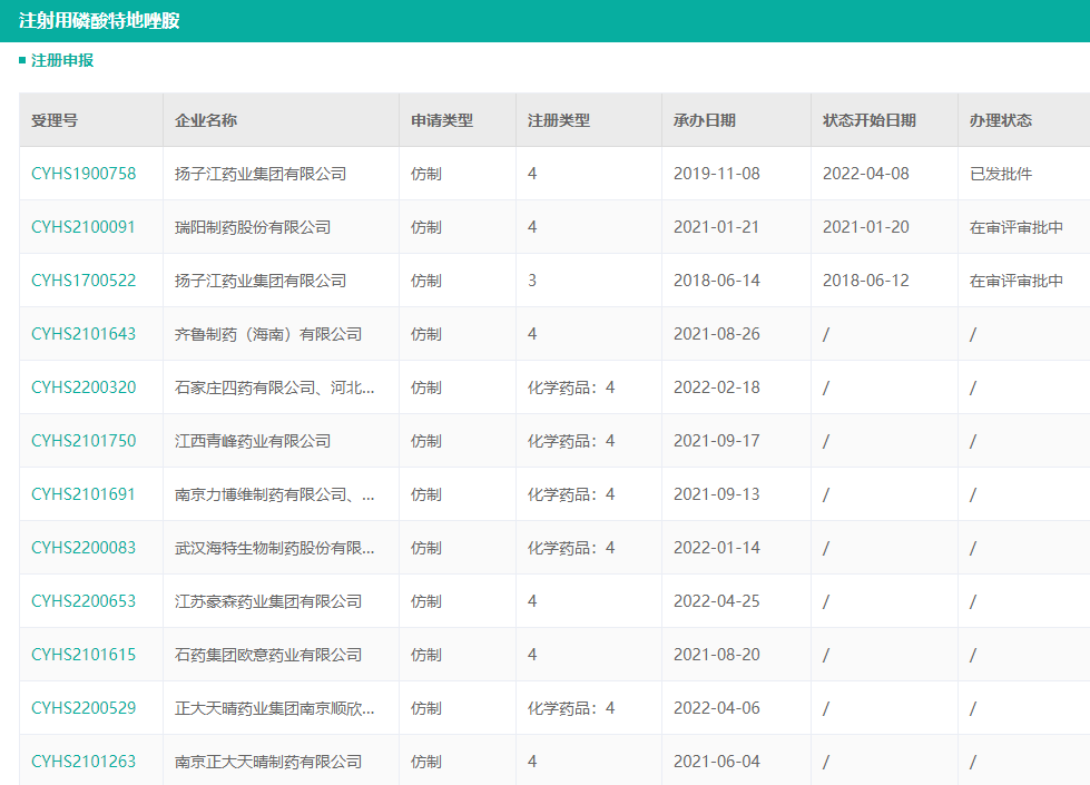
据药融云查询,目前扬子江药业、豪森药业、齐鲁制药、石四药、正大天晴、石药欧意等11家企业相继递交了注射用磷酸特地唑胺的仿制药上市申请,其中扬子江药业率先获批,斩获首仿。相较之下,磷酸特地唑胺片剂的首仿之争较小,目前仅福元医药和南京正大天晴递交了仿制药上市申请。
注射用磷酸特地唑胺仿制药注册申报情况

截图来源:药融云一致性评价数据库
除此次报产的注射用磷酸特地唑胺外,豪森药业还递交了酒石酸长春瑞滨软胶囊和瑞戈非尼片等2款4类化药的上市申请。
想要解锁更多药企仿制药申报信息吗?查询药融云数据库(https://www.pharnexcloud.com/?zmt-mhwz)掌握药企仿制药申报情况、最新进展、审评情况、竞争格局、销售情况、市场规模与前景,可否投入仿制!注册立享15天免费试用和虎年首份医药数据大礼包!

—END—







川公网安备51019002008863号
本网站未发布麻醉药品、精神药品、医疗用毒性药品、放射性药品、戒毒药品和医疗机构制剂的产品信息
收藏
登录后参与评论
暂无评论