
近日,上海联盟办公室公示了由上海牵头的15省(区、市)联盟药品集采拟中选结果,公示期截至2023年9月1日。本次联盟集采是国家药品集采的接续,共计有49个国采品种拟纳入此次接续,涉及125个药品,103家生产企业。公示期结束后,正式公布中选结果。
据药融云数据库统计,拟纳入此次接续的49个国采品种,其中2个为4+7及扩围集采品种,13个为第二批集采品种,10个为第三批集采品种,10个为第四批集采品种,14个为第五批集采品种。
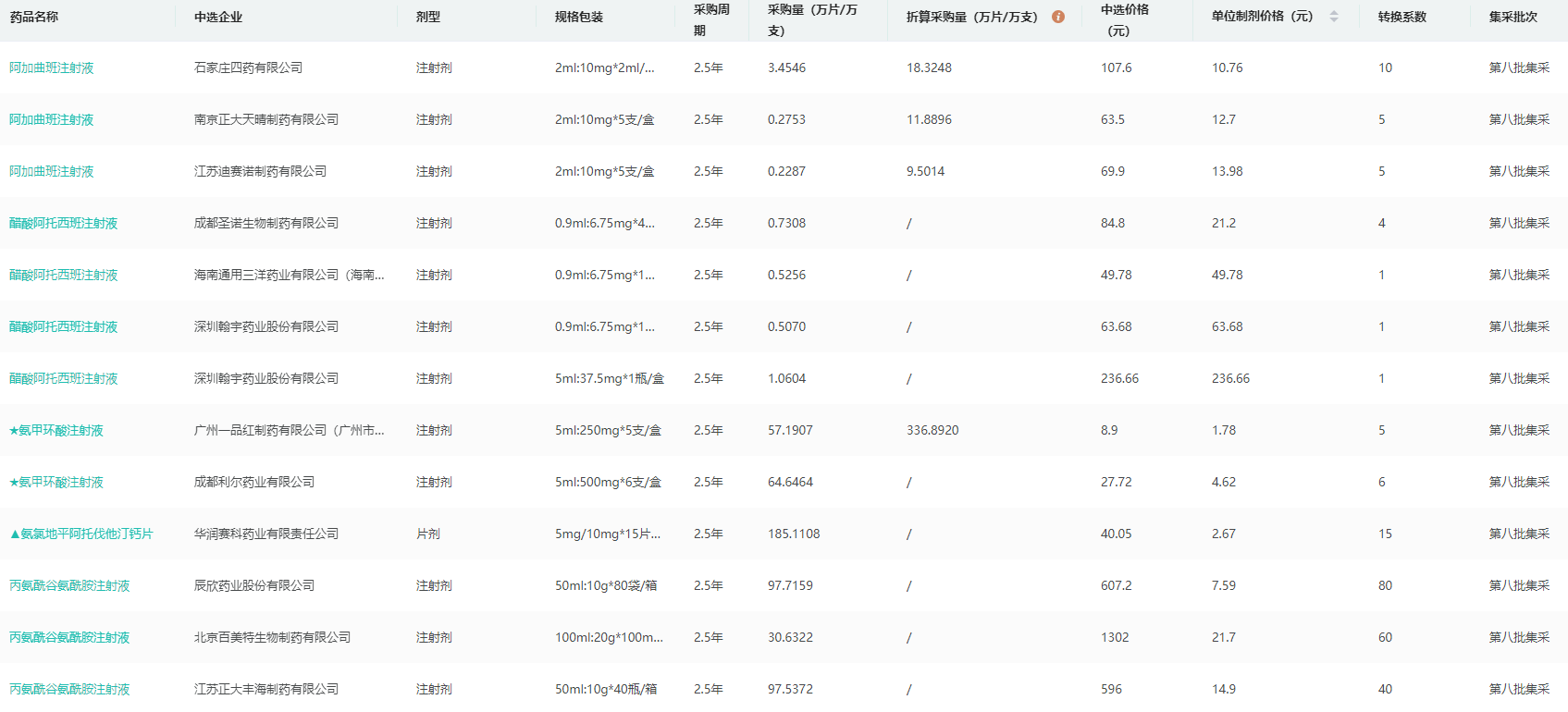
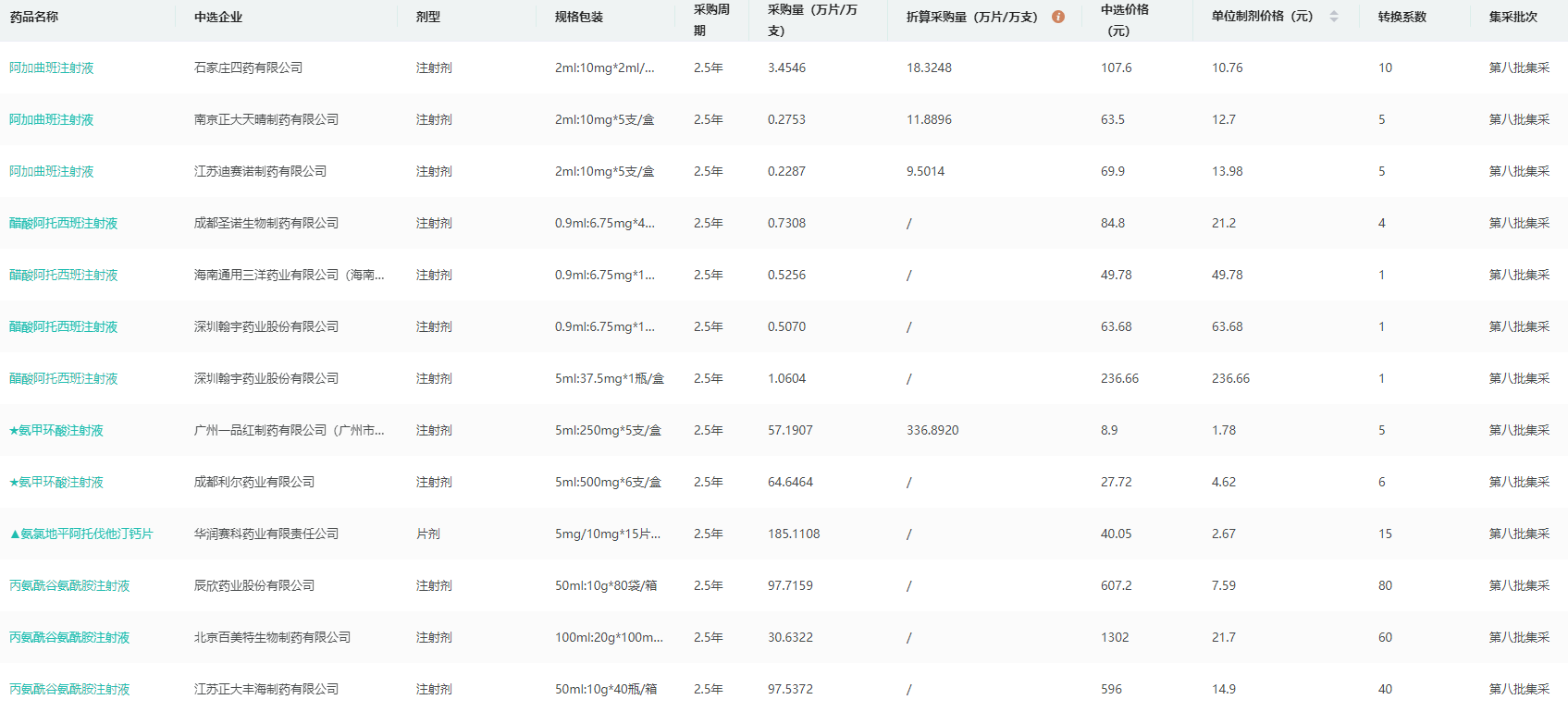
国家药品集中采购中选信息查询(部分)

图片来源:药融云药品集中采购数据库
从治疗领域分类来看,拟中选品种主要集中在全身用抗感染药物(16个)、消化系统及代谢药(11个)、呼吸系统用药(6个)、神经系统药物(6个)四个治疗领域,占比80%;其次是心脑血管系统药物、肌肉-骨骼系统用药、生殖泌尿系统和性激素类药物等。
从拟中选企业来看,科伦药业领跑,共有7个品种拟中选成最大赢家,分别是:ω-3鱼油中/长链脂肪乳注射液、阿昔洛韦片、盐酸莫西沙星滴眼液、替硝唑片、阿莫西林胶囊、草酸艾司西酞普兰片、头孢氨苄胶囊。
15省联盟集采科伦药业拟中选药品

药融云药品集中采购数据库显示,截至目前科伦药业已有43个品种中选国家药品集采,从治疗领域分布来看,系统用抗感染药最多,占比44.19%;其次是神经系统用药、血液和造血系统用药,分别占比11.63%。
科伦药业国家集采中选品种治疗领域分布

图片来源:药融云药品集中采购数据库
其次是复星医药有6个品种拟中选,分别是:非布司他片、富马酸喹硫平片、盐酸乙胺丁醇片、阿奇霉素胶囊、异烟肼片、吲达帕胺片。石药集团收获4个拟中选品种,分别是:阿莫西林胶麠、阿奇霉素片、盐酸普拉克索片、诺氟沙星片。此外,九典制药、信立泰、正大制药、鲁抗医药、华邦制药等6家企业拟中选品种数均达到3个。
从拟中选价格来看,125个药品中,有58个降价,26个涨价。其中,有7个品种的价格在3元以内,包括盐酸氨溴索胶囊、盐酸氨溴索片、对乙酰氨基酚片、格列美脲片、盐酸克林霉素胶囊、吲达帕胺片、盐酸左西替利嗪片、盐酸环丙沙星片。
其中,吲达帕胺片的最低拟中选价格为1.39元,生产企业为国药集团,拟中选地区有北京、江西、四川、云南、重庆;盐酸左西替利嗪片的最低拟中选价格为2.11元,生产企业为杭州民生药业,拟中选地区有甘肃、浙江、重庆。
在第二批国家药品集采中,吲达帕胺片的最低中选价格为0.69元,中选企业为复星医药;盐酸左西替利嗪片的最低中选价格为1.38元,中选企业为九典制药。
第二批集采盐酸左西替利嗪片中选信息

图片来源:药融云药品集中采购数据库
药融云全国医院销售(全终端)数据库显示,部分原国采中标药品在全国医院终端的市场份额有所提升。比如第二批集采执行后,福元医药的奥美沙坦酯片在医院全终端的市场份额快速提升,由2019年的22.85%提升至2022年的62.81%;2022年奥美沙坦酯片的销售额为3.87亿元,同比增长12.59%,并且超越第一三共,位居医院端销售榜首。
第三批集采执行后,仁合益康的琥珀酸普芦卡必利片医院终端的市场份额由2020年的0.64%提升至2022年的33.89%;第四批集采执行后,京新药业的盐酸普拉克索片在医院终端的市场份额由2021年的6.42%提升至2022年的17.95%。

图片来源:药融云全国医院销售(全终端)数据库
随着药品集采制度化、常态化,国家带量采购从品种试点走向全面扩围,从原来过评且充分竞争的化药,逐步走向采购金额高、充分竞争、社会影响强烈的全品种。大品种仿制药业务逐渐接近“应采尽采”,头部企业逐渐将重心转向创新药领域。而对于中小企业和部分难以获得零售增量的药物领域来说,集采仍是提升中标产品市场渗透率的关键。
<END>
要解锁更多企业药品研发信息吗?查询药融云数据库(vip.pharnexcloud.com/?zmt-mhwz)掌握药品各国上市情况、药品批文信息、销售情况与各维度分析、市场竞争格局、一致性评价情况、集采中标情况、药企申报审批信息、最新动态与前景等,以及帮助企业抉择可否投入时提供数据参考!注册立享15天免费试用!








川公网安备51019002008863号
本网站未发布麻醉药品、精神药品、医疗用毒性药品、放射性药品、戒毒药品和医疗机构制剂的产品信息
收藏
登录后参与评论
暂无评论