
近日,据NMPA官网公示,四川普锐特药业(倍特药业子公司)和南昌百济制药提交的4类化学药品布地奈德鼻喷雾剂已获生产(国药准字CYHS2200681/国药准字CYHS2200682/国药准字CYHS2200751/国药准字CYHS2200752)并视同通过一致性评价。2家药企同日斩获布地奈德鼻喷雾剂国产首仿。

截图来源:NMPA官网
布地奈德(budesonide)是由原研阿斯利康研发,是一种具有抗炎作用的糖皮质激素类药物,常用于治疗哮喘和慢性支气管炎。目前布地奈德主要有鼻喷雾剂、吸入气雾剂、吸入粉雾剂和吸入混悬剂四种剂型,其中鼻喷雾剂是过敏性鼻炎(又称为变应性鼻炎)的一线推荐用药。据药融云数据统计,2022年布地奈德鼻喷雾剂全国院内销售近3亿元,同比增长达到12% 。

截图来源:药融云全国医院销售数据库
在全国呼吸系统用药化药/生物药院内,2022年销售TOP10药品中,吸入剂强势占有7个名额。单从吸入制剂来看,吸入剂在全国医院销售最高峰值达189亿元,布地奈德鼻喷雾剂跻身全国院内销售TOP30名单。
2022年院内销售额超1亿元的吸入制剂有24款,其中吸入用布地奈德混悬液、吸入用七氟烷、吸入用乙酰半胱氨酸溶液和布地奈德福莫特罗吸入粉雾剂(Ⅱ)4款均为15亿+的大品种。

截图来源:药融云全国医院销售数据库
值得一提的是,TOP10品种中,有3款药物均含有布地奈德成分。实际上,国内目前布地奈德相关药物共有8款,院内销售额峰值近80亿元,2022年院内销售额合计达55亿元。其中一个重要原因在于,其主力销售品种吸入用布地奈德混悬液纳入第5批集采(普瑞特药业、长风药业、健康元、正大天晴等中选),院内销售额由2021年的53亿元下滑至2022年的30亿元,跌幅近半。
除布地奈德鼻喷雾剂,过敏性鼻炎的鼻喷雾剂一线推荐用药还包括丙酸氟替卡松鼻喷雾剂、糠酸莫米松鼻喷雾和盐酸氮䓬斯汀鼻喷雾剂等产品。
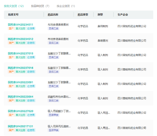
目前四川普锐特药业已有7个品种获批,除布地奈德鼻喷雾剂,目前还有吸入用乙酰半胱氨酸溶液、富马酸福莫特罗吸入溶液、布地奈德福莫特罗吸入气雾剂等5个品种提交了仿制申请,均在审评审批中。南昌百济制药目前仅布地奈德鼻喷雾剂过评。

截图来源:药融云中国药品批文数据库
此外,四川普锐特药业和南昌百济制药同时还提交了丙酸氟替卡松鼻喷雾剂和糠酸莫米松鼻喷雾剂的仿制申请,均在审评审批中。此次四川普锐特药业和南昌百济制药2家药企同日斩获布地奈德鼻喷雾剂国产首仿。
<END>
要解锁更多企业药品研发信息吗?查询药融云数据库(vip.pharnexcloud.com/?zmt-mhwz)掌握药品各国上市情况、药品批文信息、销售情况与各维度分析、市场竞争格局、一致性评价情况、集采中标情况、药企申报审批信息、最新动态与前景等,以及帮助企业抉择可否投入时提供数据参考!注册立享15天免费试用!








浙公网安备33011002015279
本网站未发布麻醉药品、精神药品、医疗用毒性药品、放射性药品、戒毒药品和医疗机构制剂的产品信息
收藏
登录后参与评论
暂无评论