
江苏万高药业发威!据NMPA官网公示,近日递交的4类仿制化药阿司匹林肠溶片的上市申请获批并通过一致性评价。同时递交的4类仿制化药洛索洛芬钠凝胶贴膏上市申请,今日已获CDE受理。据药融云数据统计,阿司匹林肠溶片近年来在全国院内的销售额均在10亿元左右,目前已满足国采的入围“门槛”。

截图来源:NMPA
9家企业过评,已满足集采的入围“门槛”
阿司匹林肠溶片作为一种在老年人中广泛使用的药物,不仅在抗血栓治疗及预防中占据核心地位,而且市场份额也相当可观。它通过抑制血小板聚集,能够有效预防短暂脑缺血发作、心肌梗死、人工心脏瓣膜和静脉瘘等手术后血栓的形成。此外,该产品还有解热、镇痛、抗炎、抗风湿等作用,用于感冒或流感引起的发热,也可缓解轻度或中度的疼痛等。
据药融云数据统计,阿司匹林肠溶片在2022年全国院内销售额超17亿元,同比增长达4.98%,然而,进入2023年后,销售额略有下滑,接近13亿元。尽管如此,这一数字仍然显示出该品种在市场上的强大竞争力。

截图来源:药融云全国医院销售数据库
目前阿司匹林肠溶片暂未纳入国采,除此次过评的企业,还有浙江京新药业、石药集团欧意药业、桂林南药、重庆药友制药、辰欣药业等8家药企过评,满足集采的入围“门槛”。

截图来源:药融云过评药品汇总数据库
此外,阿司匹林肠溶片目前还有仁合益康、吉林四环制药、江苏必易生物科技等10家企业提交了仿制申请,均在审评审批中。
10亿元高壁垒品种,江苏万高抢国产第2家!
洛索洛芬钠凝胶贴膏原研企业为LEADCHEMICALCO.,LTD.,销售公司为第一三共株式会社,最早于2006年在日本上市。2019年,洛索洛芬钠凝胶贴膏被纳入乙类医保,医保价格为24.25元/贴;2022年3月份,洛索洛芬钠凝胶贴膏中选广东联盟地区集采,中选价格约为18.19元/贴。
洛索洛芬钠为日本非甾体抗炎药中销量第一的品种,是继氟比洛芬之后上市的第一个丙酸类前体型非甾体抗炎药。作为局部外用贴膏剂,包容药量大,给药剂量准确,具有高渗透性,能保证优异的起效速度和起效强度,贴敷舒适、皮肤相容性好,安全性高,具有一定的临床优势和市场前景。据药融云数据统计,洛索洛芬钠凝胶贴膏在2023年全国院内市场销售额近10亿元,同比增长4.58%。

截图来源:药融云全国医院销售数据库
由于凝胶贴膏剂的成型工艺复杂,壁垒较高,尤其是对于药物释放进入皮肤组织的渗透速率控制十分困难,多家布局凝胶贴膏的企业都已折戟。纵观外用抗炎镇痛药市场,凝胶贴膏产品高成长同时也高稀缺,国内此前仅有6个化学药凝胶贴膏品种获批上市。
九典制药的洛索洛芬钠凝胶贴膏是在原研厂商LEAD的洛索洛芬钠贴剂基础上做了剂型改良,于2017年获国家药监局批准上市,成为首仿。此次申请若顺利获批,江苏万高药业有望获得国产第2家。

截图来源:药融云中国药品批文数据库
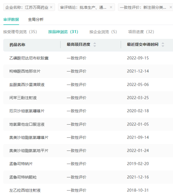
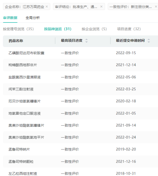
目前江苏万高药业还有乙磺酸尼达尼布软胶囊、枸橼酸西地那非片、间苯三酚注射液、厄贝沙坦氢氯噻嗪片、左乙拉西坦注射液等31款品种获批并过评。

此外,仿制药布局领域,江苏万高药业还提交了米诺地尔外用溶液、吡仑帕奈片、富马酸伏诺拉生片、盐酸氨溴索口服溶液、达格列净片等36个品种的仿制申请,均在审评审批中。
<END>
要解锁更多企业药品研发信息吗?查询药融云数据库(vip.pharnexcloud.com/?zmt-mhwz)掌握药品各国上市情况、药品批文信息、销售情况与各维度分析、市场竞争格局、一致性评价情况、集采中标情况、药企申报审批信息、最新动态与前景等,以及帮助企业抉择可否投入时提供数据参考!注册立享15天免费试用!








川公网安备51019002008863号
本网站未发布麻醉药品、精神药品、医疗用毒性药品、放射性药品、戒毒药品和医疗机构制剂的产品信息
收藏
登录后参与评论
暂无评论