
6月5日,据NMPA官网公示,齐鲁安替制药的注射用头孢噻肟钠通过一致性评价。据药融云数据库显示,注射用头孢噻肟钠在2022年全国院内市场销售额超23亿元,是院内系统用抗感染药TOP7品种。

截图来源:NMPA
注射用头孢噻肟钠适用于敏感细菌所致的肺炎及其他下呼吸道感染、尿路感染、脑膜炎、败血症、腹腔感染、盆腔感染、皮肤软组织感染、生殖道感染、骨和关节感染等。据药融云数据库显示,注射用头孢噻肟钠在2022年全国院内市场销售额超23亿元,同比增长达23.67%。

截图来源:药融云全国医院销售数据库
在2022年全国医院系统抗感染药物(化学药或生物药)销售排行榜中,注射用头孢噻肟钠强势入围,荣列院内系统抗感染药物销量TOP7榜单。

截图来源:药融云全国医院销售数据库
目前,有成都倍特药业、湖南恒生制药、四川制药制剂等超100家药企拥有注射用头孢噻肟钠生产批文,其中有齐鲁安替制药、成都倍特药业、山东鲁抗医药等25家药企过评。

截图来源:药融云过评药品汇总数据库
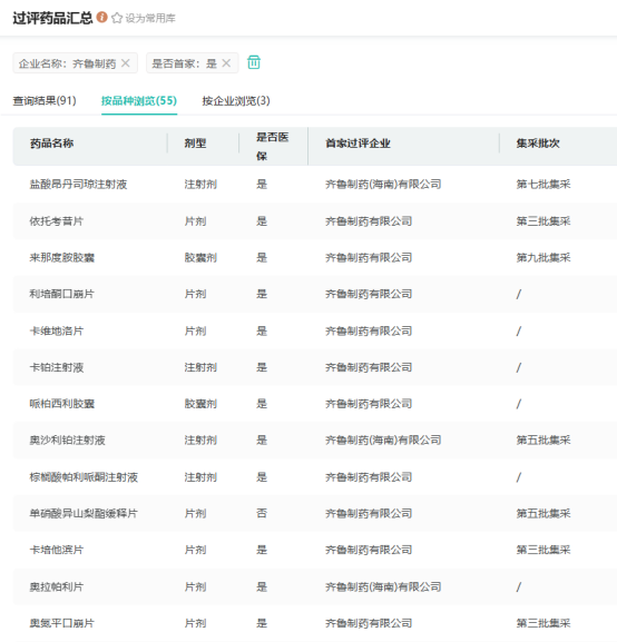
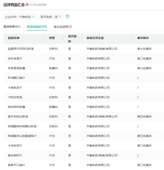
此外,齐鲁制药布局产品种类丰富,目前已有164个品种过评,包括胶囊剂19款、颗粒剂2款、口服液体剂2款、片剂高达72款、眼用制剂8款以及注射剂61款。其中有55款品种为首家过评。
截图来源:药融云过评药品汇总数据库
今年(截止6月6日)齐鲁制药有15个品种过评,其中卡维地洛片、头孢泊肟酯片、盐酸苯达莫司汀注射用浓溶液、艾曲泊帕乙醇胺片4个品种为首家过评。
参考来源:
[1] NMPA官网
[2] 药融云数据库
<END>
想要解锁更多药物研发信息吗?查询药融云数据库(vip.pharnexcloud.com/?zmt-mhwz)掌握药物基本信息、市场竞争格局、销售情况与各维度分析、药企研发进展、临床试验情况、申报审批情况、各国上市情况、最新市场动态、市场规模与前景等,以及帮助企业抉择可否投入时提供数据参考!注册立享15天免费试用!








川公网安备51019002008863号
本网站未发布麻醉药品、精神药品、医疗用毒性药品、放射性药品、戒毒药品和医疗机构制剂的产品信息
收藏
登录后参与评论
暂无评论