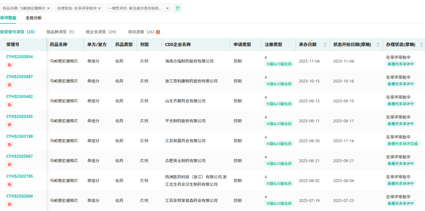
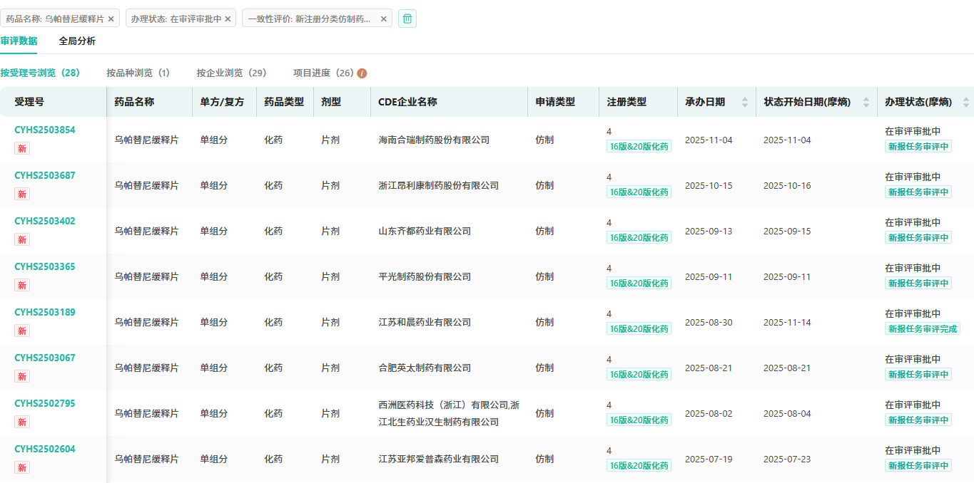
乌帕替尼自上市以来,便遭到国内仿制企业的“围剿”,专利无效诉讼案件频发,首仿竞争异常激烈。国内大批仿制药已经在路上,目前有超25家仿制药企提交了4类新注册的上市申请,均在审评审批中。可以预见,扎堆获批不过早晚之事。而在这场激烈的角逐中,若九华华源药业和华益药业能突出重围、顺利获批,将有望拿下乌帕替尼缓释片的国内首仿。

截图来源:摩熵医药中国药品审评数据库
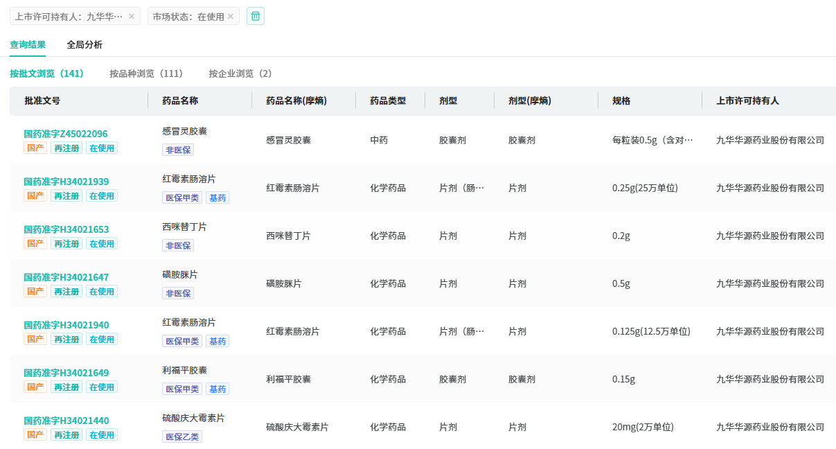
截至目前,九华华源药业有超100款品种获批上市,其中玉叶金花清热片、百蕊颗粒、玉叶清火片、厌食康颗粒4款为独家中成药。目前公司仅有口服补液盐散(Ⅲ)1款仿制药获批并视同过评。

截图来源:摩熵医药中国药品批文数据库
在仿制药布局方面,公司有5款提交了新注册仿制申请,其中依达拉奉右莰醇注射用浓溶液、瑞维那新吸入溶液、乙酰半胱氨酸口服溶液、乌帕替尼缓释片4款在国内暂无仿制药获批,九华华源药业均有望拿下首仿。
参考来源:
[1] CDE官网
[2] 摩熵医药(原药融云)数据库
扩展阅读:
1. 原来乌帕替尼专利无效的机会,藏在18年这份文件里🔺🖊
2. 卡左双多巴缓释片首仿争夺战!石家庄四药、华海药业...纷纷入局
3. 超5亿热销抗癫痫药,重庆药友制药冲击首仿!
想要解锁更多药物研发信息吗?查询摩熵医药(原药融云)数据库(vip.pharnexcloud.com/?zmt-mhwz)掌握药物基本信息、市场竞争格局、销售情况与各维度分析、药企研发进展、临床试验情况、申报审批情况、各国上市情况、最新市场动态、市场规模与前景等,以及帮助企业抉择可否投入时提供数据参考!注册立享15天免费试用!

收藏
登录后参与评论
暂无评论