
1月17日,据海思科发布公告,称其子公司上海海思盛诺的1类新药HSK41959片IND申请获CDE受理,拟用于晚期实体瘤的治疗。据摩熵医药数据库显示,2024年(Q1-Q3)抗肿瘤药和免疫机能调节药物在全国院内市场的销售总额超1000亿元。

截图来源:企业公告
海思科4款1类新药,剑指千亿市场
HSK41959是海思科公司自主研发的一种口服小分子抑制剂,具有强效且高度选择性,旨在治疗晚期实体瘤。临床前研究显示,它能有效阻止肿瘤细胞增长,抗肿瘤效果显著,并且安全性高,患者耐受良好,具有较大的安全范围。因此,HSK41959作为一种极具潜力的抗肿瘤新药,有望为晚期实体瘤患者带来新的治疗希望。
据摩熵医药数据库显示,2024年(Q1-Q3)抗肿瘤药和免疫机能调节药物在全国院内市场的销售总额超1千亿元,同比增长达9.15%。

截图来源:摩熵医药全国医院销售数据库
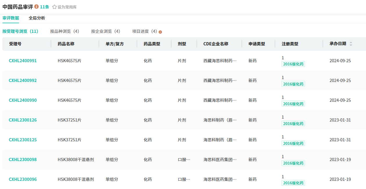
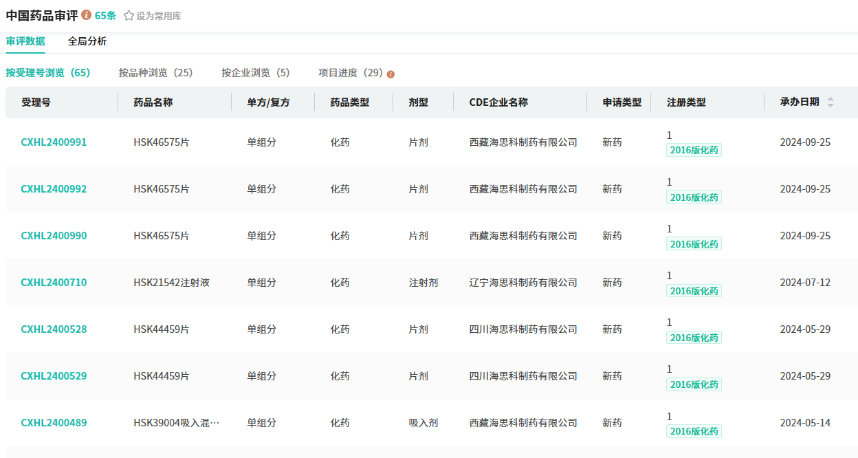
此外,海思科在抗肿瘤药和免疫机能调节药物研发领域成果丰硕。目前有HSK-29116散、HSK-38008干混悬剂、HSK-46575片、HSK-37251片4款1类新药获批临床,进一步丰富了其在该领域的产品管线。










川公网安备51019002008863号
本网站未发布麻醉药品、精神药品、医疗用毒性药品、放射性药品、戒毒药品和医疗机构制剂的产品信息
收藏
登录后参与评论
暂无评论