
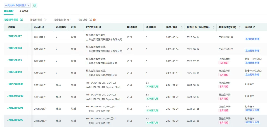
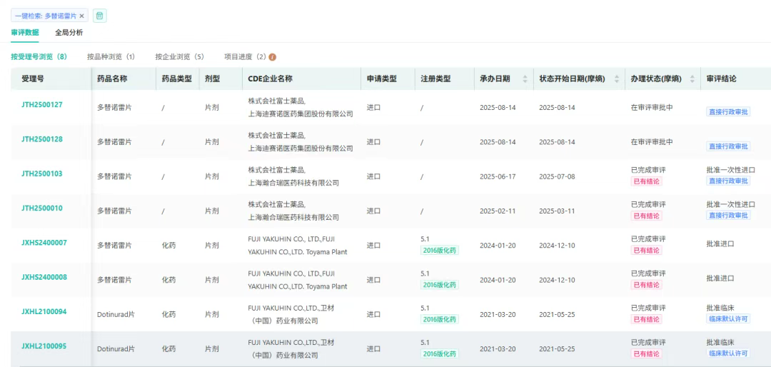
8月25日,CDE官网显示,天地恒一制药股份有限公司按4类化药注册申报的多替诺雷片上市申请已获受理。该药物被誉为痛风新星,目前国内仅原研上市,若天地恒一制药顺利获批,极大可能斩获首仿。

截图来源:CDE官网
多替诺雷(dotinurad)是一种高选择性尿酸转运蛋白(URAT1)抑制剂,用于治疗痛风和高尿酸血症。其原研企业是富士药品株式会社,卫材负责多替诺雷在中国的独家开发和销售。

截图来源:摩熵医药全球药物研发数据库
多替诺雷片于2020年1月在日本率先获批,2024年12月在中国批准进口。市场表现方面,多替诺雷2022年销售额达22亿日元,2023年同比增长至33亿日元。国内暂无该产品的销售数据。顶峰制药的Apex-Dotin是其全球首个仿制药。

2021年《中国高尿酸及痛风趋势白皮书》显示,我国高尿酸血症总体患病率达13.3%,患病人数约1.77亿;痛风发病率为1.1%,患病人数约1466万。尤为值得关注的是,两类疾病均出现低龄化倾向,年轻群体中的患病比例逐年攀升。

截图来源:摩熵医药流行病学数据库
摩熵医药销售数据表明,我国医院终端抗痛风药物累计销售额已达139亿元;2024年该类药物销售额约15.99亿元,同比增长9.67%,整体市场呈稳步上升趋势。












川公网安备51019002008863号
本网站未发布麻醉药品、精神药品、医疗用毒性药品、放射性药品、戒毒药品和医疗机构制剂的产品信息
收藏
登录后参与评论
暂无评论