高血压作为典型的慢性疾病,是引发心脑血管疾病的高危因素,近年来,其发病率呈逐年上升且年轻化的趋势。据统计我国现有高血压患者近3亿人,每年新增300万人以上,用药人群基数庞大。
根据摩熵医药数据,2024年我国高血压药物院内市场规模约35亿元,而复方制剂作为其中的重要组成部分,市场规模正持续扩大。2024年,该类制剂院内销售额同比增长8.24%,突破7亿元量级,达到7.44亿元。


截图来源:摩熵医药全国医院(全终端)销售数据库
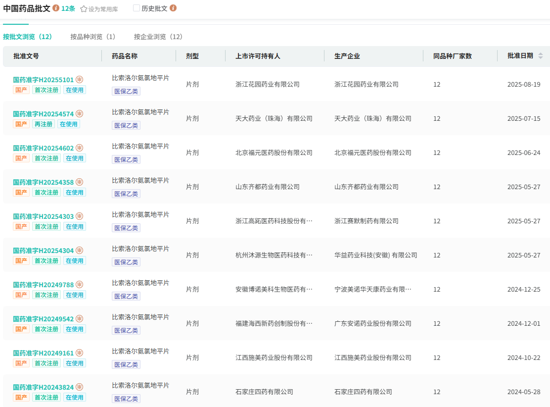
截至目前,除原研外,国内已有浙江赛默制药、石家庄四药、北京福元医药、江西施美药业等11家药企获得比索洛尔氨氯地平片生产批文,形成“原研1+国产11”的竞争态势,市场竞争正不断加剧。

截图来源:摩熵医药中国药品批文数据库
2024年4月,成都硕德药业(苑东生物全资子公司)拿下该药国内首仿+首家过评。

截图来源:摩熵医药一致性评价数据库
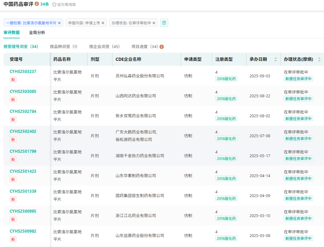
另有湖南九典制药、山东新时代药业、成都倍特药业、国药集团、山东朗诺制药等45家企业的34个仿制上市受理号在审评审批中。

截图来源:摩熵医药中国药品审评数据库
在专利方面,2023年底,国知局宣告埃吉斯药物公司的制剂专利CN200980138060.7部分无效,无效宣告请求人为石家庄四药。在单一活性成分化合物专利均到期的情况下,该专利成为了影响比索洛尔氨氯地平片市场竞争的关键因素。

该品种的仿制药赛道竞争激烈,各大药企并驱争先。庞大的患者基数与持续增长的用药需求,仍是吸引众多药企入局的核心动力。
45家企业的扎堆申报,叠加此前 “原研 1 家 + 国产 11 家” 的现有格局,进一步加剧了比索洛尔氨氯地平片仿制药市场的 “内卷” 态势。未来仿制药企业若想顺利突围,还需多维度差异化竞争构建优势,方能在激烈的赛道中站稳脚跟。
想要解锁更多药物研发信息吗?查询摩熵医药(原药融云)数据库(vip.pharnexcloud.com/?zmt-mhwz)掌握药物基本信息、市场竞争格局、销售情况与各维度分析、药企研发进展、临床试验情况、申报审批情况、各国上市情况、最新市场动态、市场规模与前景等,以及帮助企业抉择可否投入时提供数据参考!注册立享15天免费试用!

收藏
登录后参与评论
暂无评论