
4月30日,NMPA发布药品通知件送达信息,共有13条新注册分类仿制药(涉及12个品种)上市申请被驳回,乙酰半胱氨酸注射液、吸入用盐酸氨溴索溶液等多个知名品种在列。

截图来源:国家药监局官网
1. 地西泮直肠凝胶
该品种1997年在美国批准上市,用于癫痫急救,起效迅速(预计2分钟内起效),原研未在国内上市,目前特丰制药是唯一一家提交了仿制申请的企业。但是直肠给药这种方式并不容易被患者或护理人员所接受,特丰制药敢于挑战此剂型也是一种突破,但可惜失败了。
2. 乙酰半胱氨酸注射液
成都瑞尔医药多次提交该品种的上市申请被驳回,不过该品种的原研进度可喜,Zambon已于4月24日完成资料补充,离获批不远了。等这些3类仿制申请一家家被驳回后,未来或许会出现批量进行4类仿制申请的“盛况”。

截图来源:摩熵医药中国药品审评数据库
3. 盐酸丙美卡因滴眼液
该品种除了合肥立方于2025年2月顺利过评,兴齐眼药、兆科眼科、莎普爱思等统统以失败告终,这些眼科巨头纷纷折戟,这款滴眼液难度应当不低。

截图来源:摩熵医药中国药品审评数据库
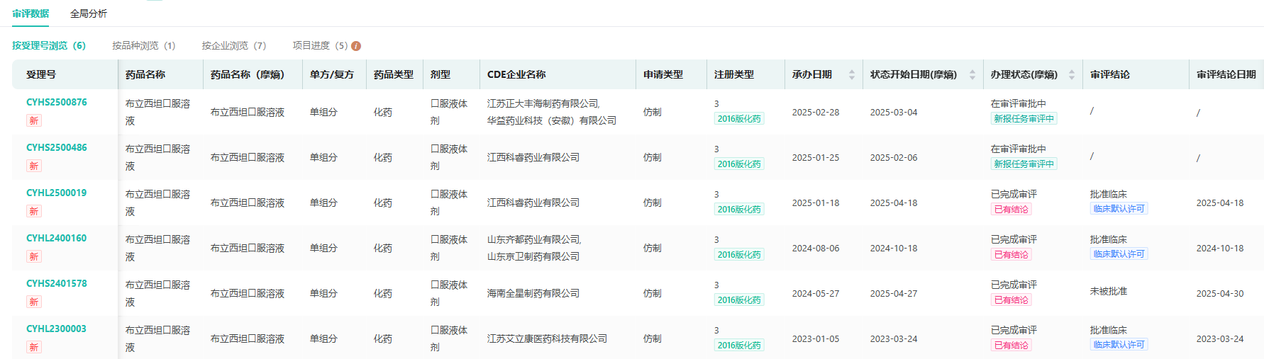
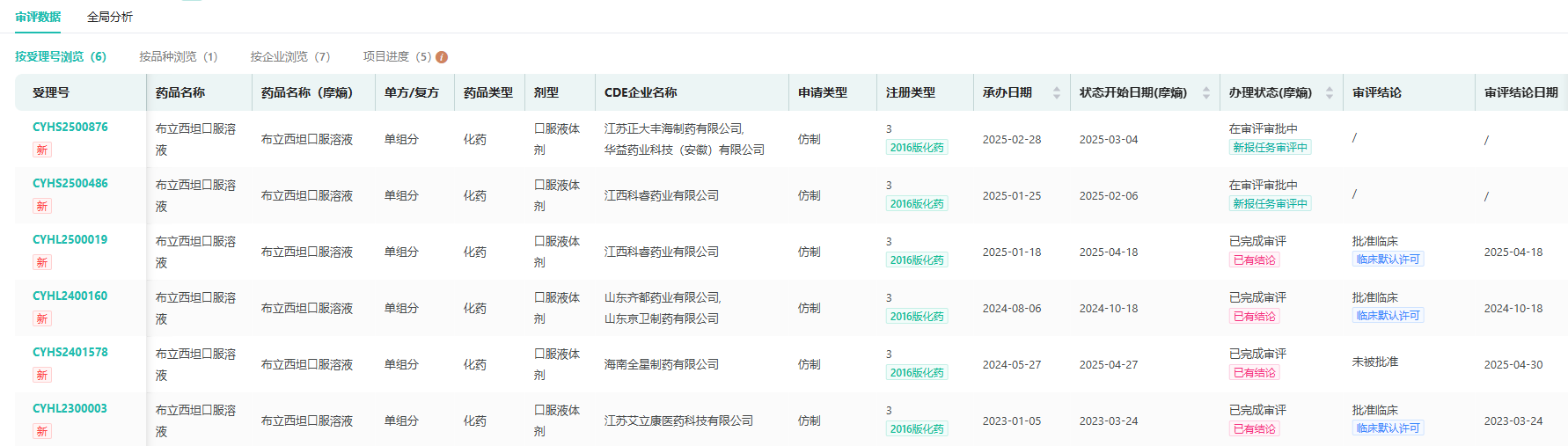
4. 布立西坦口服溶液
截至目前该品种仍无企业过评,此次海南全星制药仅完成BE试验进行上市申请,最终被驳回。根据摩熵医药数据库显示,目前江苏科睿、山东京卫和江苏艾力康三家企业已获得临床批件但未有临床进度。

截图来源:摩熵医药中国药品审评数据库
5. 盐酸苯海拉明注射液
继河南润弘制药之后,扬州中宝的申请也被驳回。目前该品种暂无过评,除上述两家接连被驳回外,尚有臣功制药、朗科生物等7家企业在走上市流程。从时间上看,扬州中宝的上市申请在3月才受理,4月就被驳回了,可能是资料不齐全的原因。

截图来源:摩熵医药中国药品审评数据库
据统计,4月共有28个品种仿制药一致性评价申报未通过,涉及多个品种,粉雾剂、乳剂、分散片等较复杂制剂均有驳回记录。除通知件常客黄体酮和叶酸注射液外,其余品种均只有一家企业未通过,具体详见下表:

参考来源:
[1] NMPA官网
[2] 摩熵医药(原药融云)数据库
想要解锁更多药物研发信息吗?查询摩熵医药(原药融云)数据库(vip.pharnexcloud.com/?zmt-mhwz)掌握药物基本信息、市场竞争格局、销售情况与各维度分析、药企研发进展、临床试验情况、申报审批情况、各国上市情况、最新市场动态、市场规模与前景等,以及帮助企业抉择可否投入时提供数据参考!注册立享15天免费试用!








川公网安备51019002008863号
本网站未发布麻醉药品、精神药品、医疗用毒性药品、放射性药品、戒毒药品和医疗机构制剂的产品信息
收藏
登录后参与评论
暂无评论