
近日,据CDE官网显示,上海海雁医药(扬子江药业子公司)申报的1类新药YZJ-5799磷酸盐胶囊获得临床试验默示许可。据药融云数据显示,目前扬子江有7款1类抗肿瘤和免疫调节新药申请并获批临床。

截图来源:CDE官网
YZJ-5799磷酸盐胶囊是扬子江药业集团研发的一款1类新药,针对特定的肿瘤靶点进行设计,展现了强大的抗肿瘤活性。这款药物的独特之处在于其能够精准地作用于肿瘤细胞,抑制其生长和扩散,同时减少对正常细胞的副作用。据药融云数据统计,在全国院内销售市场,抗肿瘤药和免疫机能调节药销售额超千亿,2023年全国院内销售额达1099亿元。

截图来源:药融云全国院内销售数据库
目前扬子江药业有YZJ-5053片、YZJ-3058片、YZJ-0318马来酸盐片、YZJ-0673马来酸盐片、YZJ-2440马来酸盐片、YZJ-5799磷酸盐胶囊、托西酸伊菲替尼片7款1类抗肿瘤新药申请并获批临床。此次申报的YZJ-5799磷酸盐胶囊是2024年首款获批临床的1类新药。

截图来源:药融云中国药品审评数据库
扬子江药业在创新药领域不断突破,YZJ-5799磷酸盐胶囊等1类新药的获批,彰显了其在创新药物研发上的雄厚实力和前瞻布局。这些新药不仅为患者提供了更多、更有效的治疗选择,也在行业内树立了新的标杆。
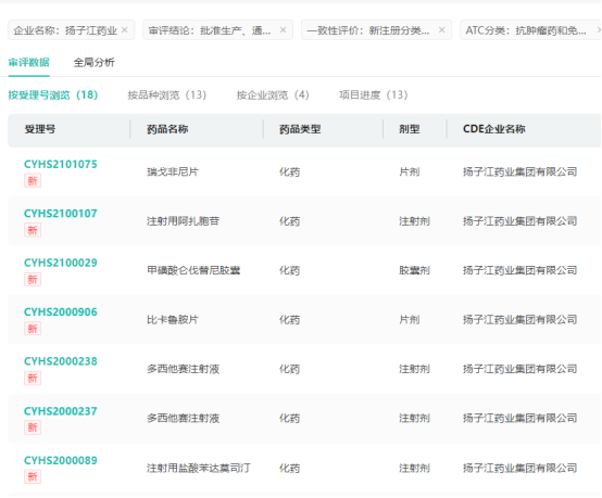
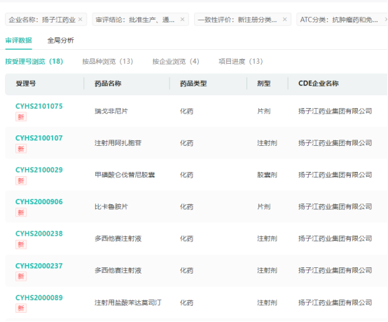
而在仿制药抗肿瘤领域,扬子江药业同样表现出色,目前已有瑞戈非尼片、注射用阿扎胞苷、甲磺酸仑伐替尼胶囊、比卡鲁胺片等13款仿制药获批并过评。

截图来源:药融云中国药品审评数据库
抗肿瘤仿制药布局方面,扬子江还提交了注射用卡非佐米、泊马度胺胶囊、替吉奥胶囊、艾拉莫德片等5款抗肿瘤药,均在审评审批中。
<END>
想要解锁更多企业药品研发信息吗?查询药融云数据库(vip.pharnexcloud.com/?zmt-mhwz)掌握药品各国上市情况、药品批文信息、销售情况与各维度分析、市场竞争格局、一致性评价情况、集采中标情况、药企申报审批信息、最新动态与前景等,以及帮助企业抉择可否投入时提供数据参考!注册立享15天免费试用!








川公网安备51019002008863号
本网站未发布麻醉药品、精神药品、医疗用毒性药品、放射性药品、戒毒药品和医疗机构制剂的产品信息
收藏
登录后参与评论
暂无评论