
近日,齐鲁制药捷报频传。据NMPA官网公示,齐鲁制药的3.4 类生物药注射用罗普司亭获批上市(受理号:CXSS2200029),推测适应症为原发免疫性血小板减少症。同时4类仿制药注射用醋酸西曲瑞克也获批上市并视同过评。(相关阅读:齐鲁制药1类新药:QLC1101胶囊获批临床!)

截图来源:NMPA
国产首款获批,齐鲁新品直击千亿市场
罗普司亭由安进原研,作为第二代TPO-R激动剂类药物,自2008年8月在美国率先上市后,经过EMA等机构的严格审批,迅速在全球范围内得到应用。注射用罗普司亭N01作为首个国产长效升血小板药物,其临床优势尤为突出。它不仅能迅速发挥药效,早期应答率高,而且给药频率极低,仅需每周一次,极大降低了患者的用药负担。据药融云数据统计,在全国院内市场血液和造血系统用药销售峰值超千亿元,2022年全国院内市场销售额达1135.3亿元。

截图来源:药融云全国医院销售数据库
在国内,协和麒麟的注射用罗普司亭已于 2022 年 1 月获批上市,用于原发免疫性血小板减少症(ITP)。此次齐鲁获批的是国产首款。

截图来源:药融云中国药品审评数据库
今年以来齐鲁制药获得7条批文,其中包括5个新产品。艾曲泊帕乙醇胺片是公司首个获批的止血药,本次获批的注射用罗普司亭N01是齐鲁制药在止血药市场新添了重磅一员,同时该品种也是齐鲁制药今年获批的首个生物药。

截图来源:药融云中国药品批文数据库
2亿+注射剂大品种,齐鲁制药最新拿下!
注射用醋酸西曲瑞克原研来自默克雪兰诺公司。是第三代促性腺激素释放激素拮抗剂(GnRH-A)药物,适用于防止在控制性卵巢刺激下女性的提前排卵,便于之后的采卵和辅助生殖技术治疗。据药融云数据显示,注射用醋酸西曲瑞克在2022年全国院内市场销售额超2亿元。

截图来源:药融云全国医院销售数据库
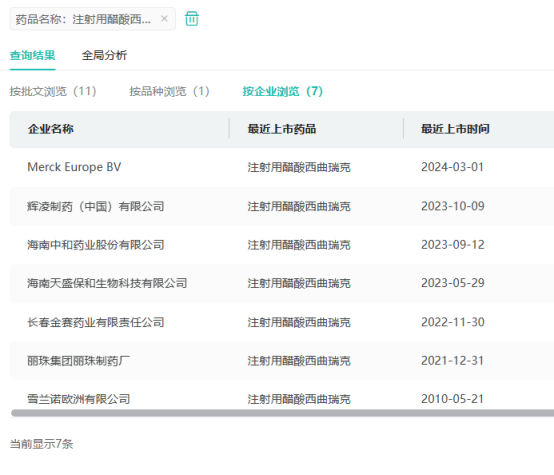
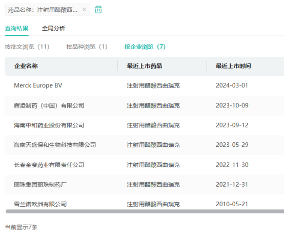
目前,除了原研厂家默克,注射用醋酸西曲瑞克在国内市场还有辉凌制药、丽珠集团、金赛药业、海南天盛保和、海南中和药业5家药企获批上市,此次,齐鲁制药为该产品国产第6家。

截图来源:药融云中国药品批文数据库
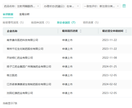
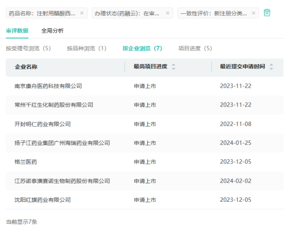
在仿制药布局方面,国内有南京康舟医药科、常州千红生化制药、开封明仁药业、扬子江药业集团等7家药企提交了注射用醋酸西曲瑞克产品的仿制申请,均在审评审批中。

截图来源:药融云过评药品汇总数据库
2024年至今,齐鲁制药已有氟尿嘧啶注射液、头孢克洛胶囊、头孢泊肟酯干混悬剂、注射用醋酸西曲瑞克、注射用阿扎胞苷、米拉贝隆缓释片、艾曲泊帕乙醇胺片7个品种过评。
<END>
要解锁更多企业药品研发信息吗?查询药融云数据库(vip.pharnexcloud.com/?zmt-mhwz)掌握药品各国上市情况、药品批文信息、销售情况与各维度分析、市场竞争格局、一致性评价情况、集采中标情况、药企申报审批信息、最新动态与前景等,以及帮助企业抉择可否投入时提供数据参考!注册立享15天免费试用!








川公网安备51019002008863号
本网站未发布麻醉药品、精神药品、医疗用毒性药品、放射性药品、戒毒药品和医疗机构制剂的产品信息
收藏
登录后参与评论
暂无评论