
8月7日,CDE官网显示,浙江华海药业股份有限公司按4类化药注册申报的注射用醋酸卡泊芬净上市申请已获受理。据摩熵医药数据库显示,该品种2023年院内市场规模超30亿元,国内多家药企争相布局。

截图来源:CDE官网
注射用醋酸卡泊芬净,是第一个新一代棘白菌素类广谱抗真菌药物,适用于成人患者和儿童患者(三个月及三个月以上)经验性治疗中性粒细胞减少、伴发热患者的可疑真菌感染、念珠菌感染以及对其他治疗无效或不能耐受的侵袭性曲霉菌病。

截图来源:摩熵医药全球药物研发数据库
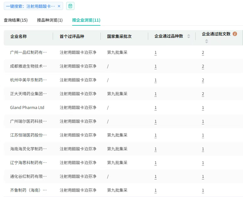
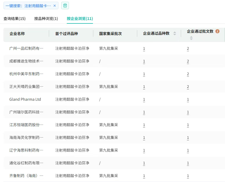
注射用醋酸卡泊芬净由美国默克开发,2001年1月获美国FDA批准上市,2002年进入中国市场,商品名为“科赛斯”。该药品已纳入国家医保乙类目录,并于2018年成功跻身国家基药目录。
摩熵医药数据显示,注射用醋酸卡泊芬净在全国院内市场涨势迅猛,是国内抗生素市场的重磅产品。其累计销售额已达202.7亿元。2023年同比增长30.33%,突破30亿元大关,创下销售峰值。













川公网安备51019002008863号
本网站未发布麻醉药品、精神药品、医疗用毒性药品、放射性药品、戒毒药品和医疗机构制剂的产品信息
收藏
登录后参与评论
暂无评论