
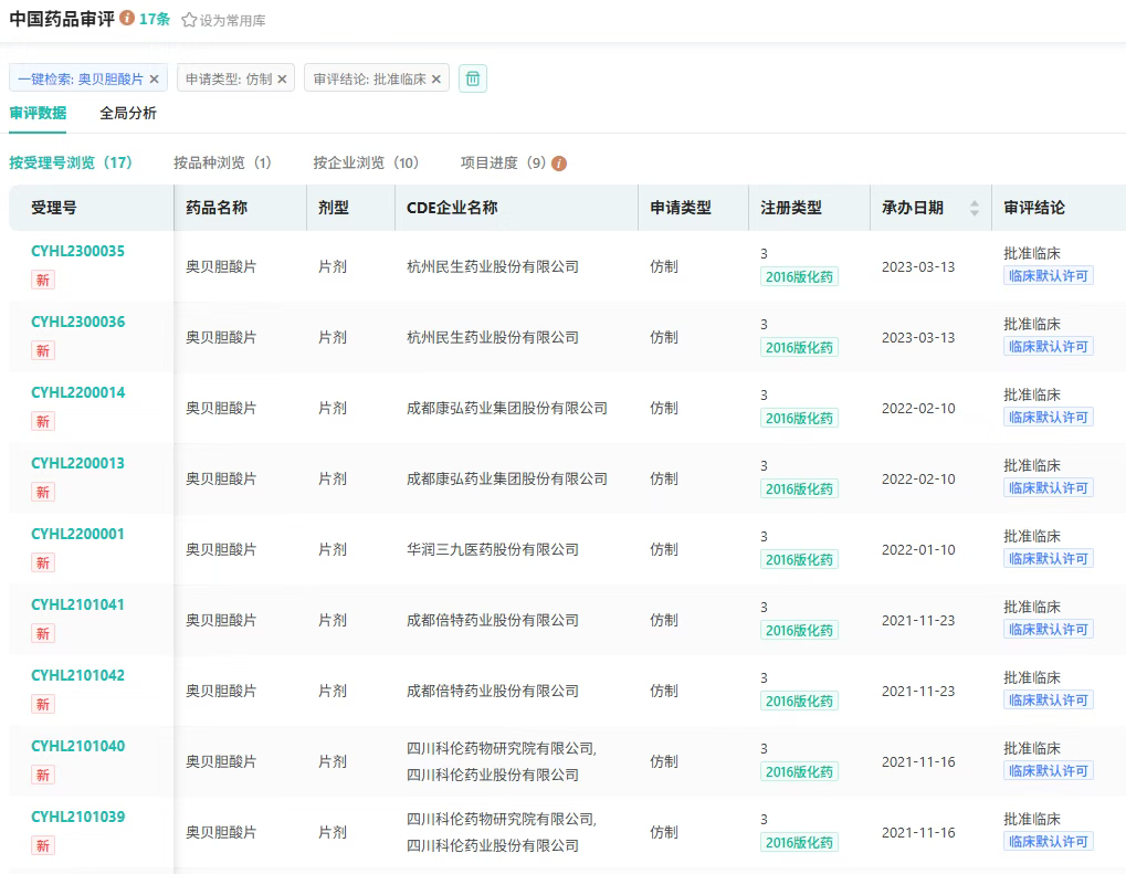
9月1日,国家药监局(NMPA)发布的药品通知件送达信息中,正大天晴申报的奥贝胆酸片榜上有名。该产品原研药已在欧洲退市,正大天晴抢夺首仿再次失败,这已是第二次“被拒”。

截图来源:NMPA官网
奥贝胆酸(Obeticholic acid,OCA)是一种法尼酯X受体(FXR)激动剂,用于对熊去氧胆酸(UDCA)无效或不耐受的,原发性胆汁性胆管炎(PBC)患者的二线治疗。

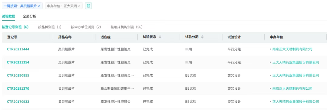
截图来源:摩熵医药全球药物研发数据库
奥贝胆酸最早于2016年5月获FDA批准,同年12月在欧盟上市,成为欧洲市场首个PBC二线治疗药物。2022年Advanz与原研药企Intercept达成合作,以4.05亿美元预付款+4500万美元额外付款的价格,获得该药物在美国以外其他地区的商业化权益。

截图来源:摩熵医药全球药物研发数据库
从市场表现观察,该药物在2016-2021年的全球销售额呈现稳步增长后趋于稳定的态势:2019年约为2.5亿美元,2020年增至3.1亿美元,同比增长25.3%,2021年攀升至3.63亿美元,后续几年稳定在3亿美元左右。

截图来源:摩熵医药全球药物研发数据库
原发性胆汁性胆管炎(PBC)是以肝内胆小管渐进性损伤为特征的慢性肝脏疾病。该病90%的患者为女性,多发于50岁左右人群,近年患病率持续上升。据摩熵医药数据库显示,我国肝胆疾病治疗药物的销售额始终保持在较为可观的水平。













川公网安备51019002008863号
本网站未发布麻醉药品、精神药品、医疗用毒性药品、放射性药品、戒毒药品和医疗机构制剂的产品信息
收藏
登录后参与评论
暂无评论