
了解最新医药动态,监测创新药/改良型新药注册申报详情,洞察最新医药行业发展方向,尽在《药融云医药行业观察周报》。
根据药融云数据统计,2023.09.25-2023.10.01期间,共有44个创新药/改良型新药注册申请获CDE承办(按受理号统计,不含补充申请)。其中,国产药品受理号37个,进口药品受理号7个。
本周共计38款创新药/改良型新药临床试验申请获得“默示许可”,包括化学药16款,生物药22款,无中药。
部分获批临床创新药/改良型新药部分信息速览(不含补充申请)


图片来源:《药融云医药行业观察周报》
备注:(1)此处未包括补充申请之情形;(2)此处所列创新药/改良型新药,主要是指国家药品监督管理局药品审评中心(CDE)受理批准的1类、2类、5.1类以及生物制品3.1类和3.2类。
其中值得注意的有:
(1)科伦再发力,两款创新药新适应症获批临床
9月末,国家药品监督管理局药品审评中心(CDE)官网公示:科伦博泰的KL-A167注射液和注射用SKB264的新适应症获得临床试验默示许可,拟用于不可手术切除的局部晚期、复发或转移性HR+/HER2-乳腺癌的治疗。
公开资料显示,KL-A167注射液是一款靶向PD-L1的人源化单克隆抗体,可通过特异性地与PD-L1结合,解除PD-1/PD-L1信号通路介导的免疫抑制。注射用SKB264是一款靶向TROP2的创新ADC,由靶向TROP2的人源化单克隆抗体、可酶促裂解的Linker连接着新型拓扑异构酶I抑制剂组合而成。
KL-A167注射液基本信息

截图来源:药融云全球药物研发数据库
SKB264药物基本信息

截图来源:药融云全球药物研发数据库
(2)KT032细胞注射液拟用于治疗卵巢癌
近期,国家药品监督管理局药品审评中心(CDE)官网公示:南京卡提医学的KT032细胞注射液获得临床试验默示许可,拟用于间皮素阳性的晚期卵巢癌。
KT032细胞注射液基本信息

截图来源:药融云全球药物研发数据库
卵巢癌被称为“妇癌之王”,是严重威胁妇女健康的恶性肿瘤之一。卵巢癌是指发生在卵巢的恶性肿瘤性疾病,原发于输卵管和腹膜的恶性肿瘤临床特征和治疗模式和卵巢癌相似,经常也统称为卵巢癌。卵巢癌可发生于任何年龄,其组织学类型多样,主要为上皮来源。卵巢癌根据不同的组织学来源分为多个不同的类别,包括:上皮性肿瘤、生殖细胞肿瘤、性索间质肿瘤和转移性肿瘤等。
公开资料显示,KT032细胞注射液是一款基于DAP-CAR平台技术的新型多链CAR-T,DAP-CAR技术平台为T细胞提供天然免疫受体信号。这是国内首款针对肿瘤微环境,从结构到元件,进行理性设计的新型CAR-T。
(3)联邦制药GLP-1/GIP/GCG三靶点受体激动剂在美国获批临床
近期,联邦制药宣布其全资附属公司联邦生物收到美国FDA关于同意UBT251注射液治疗2型糖尿病、超重及肥胖临床试验的函。
UBT251注射液是联邦制药自主研发的长效GLP-1/GIP/GCG三靶点受体激动剂,采用化学合成多肽法制备,预期临床每周皮下注射给药1次。该药已经于9月初在中国获批临床。胰高血糖素样肽1(GLP-1)是一种肠道L细胞分泌的肠促胰岛素,GLP-1受体激动剂在体内可葡萄糖依赖性促进胰岛素分泌,调节食欲和能量代谢,降低血糖和体重。UBT251此前已经在中国获批临床,针对适应症包括了成人2型糖尿病、超重/肥胖、非酒精性脂肪性肝病。临床前动物研究数据显示,UBT251具有较为显著的降糖、降脂、减重效果。
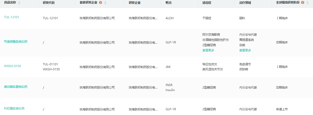
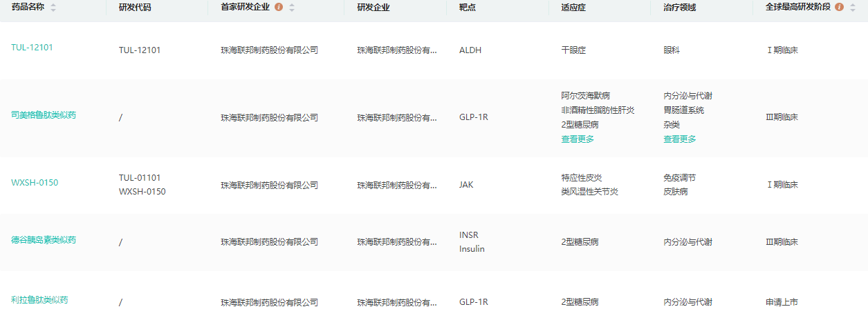
据药融云数据库显示,在糖尿病治疗领域,联邦制药除了UBT251注射液以外,还有多款在研药物,其中进度较快的有司美格鲁肽类似药、德谷胰岛素类似药、利拉鲁肽类似药,其中司美格鲁肽类似药、德谷胰岛素类似药已进入III期临床阶段;利拉鲁肽类似药上市申请于今年8月获受理(受理号:CXSS2300067)。
研发管线查询(部分)

截图来源:药融云全球药物研发数据库
<END>
要解锁更多企业药品研发信息吗?查询药融云数据库(vip.pharnexcloud.com/?zmt-mhwz)掌握药品各国上市情况、药品批文信息、销售情况与各维度分析、市场竞争格局、一致性评价情况、集采中标情况、药企申报审批信息、最新动态与前景等,以及帮助企业抉择可否投入时提供数据参考!注册立享15天免费试用!








川公网安备51019002008863号
本网站未发布麻醉药品、精神药品、医疗用毒性药品、放射性药品、戒毒药品和医疗机构制剂的产品信息
收藏
登录后参与评论
暂无评论