
近日,辉瑞的创新药物甲苯磺酸利特昔替尼胶囊(ritlecitinib,商品名:乐复诺)在国内获批上市,用于治疗12岁及以上青少年和成人斑秃患者,包括全秃和普秃。
利特昔替尼为重度斑秃患者提供了全新的治疗选择,同时,这也是全球首款针对患有严重斑秃的青少年的治疗方法。药融云数据显示,截至目前,全球只有两种JAK抑制剂获批用于治疗斑秃,即巴瑞替尼和利特昔替尼。
两款JAK抑制剂国内获批,重度斑秃患者治疗新希望
巴瑞替尼是一种可逆的选择性酪氨酸蛋白激酶(JAK)1和JAK2抑制剂,由礼来和Incyte制药公司研发,用于治疗自身免疫性疾病。巴瑞替尼于2017年2月首次在欧盟获批上市,2018年5月在美国批准上市(商品名:Olumiant)。
巴瑞替尼斑秃适应症全球研发详情

图片来源:药融云全球药物研发数据库
巴瑞替尼于2019年6月在中国获批,用于治疗类风湿性关节炎。2023年3月,巴瑞替尼新适应症在国内获批上市,用于治疗成人重度斑秃,成为国内首个用于系统性治疗重度斑秃的创新靶向药物。
利特昔替尼是由美国辉瑞开发的一款JAK3/TEC激酶家族双通道抑制剂,每日仅需口服一次,通过阻断ATP结合位点,不可逆地抑制JAK3和TEC激酶家族。
2020年12月,利特昔替尼曾获国家药监局斑秃治疗药物突破性疗法认定,并于2022年11月获国家药监局优先审评审批资格认定;而2023年6月以来,利特昔替尼的斑秃适应症相继在美国、欧盟、日本、中国等全球多个国家和地区获批上市。
实验室研究证明:利特昔替尼(ritlecitinib)可阻断信号分子和免疫细胞活性,这些信号分子和免疫细胞被认为是导致斑秃的原因。与第一代泛JAK抑制剂相比,ritlecitinib在降低毒性方面更有优势。
一项全球多中心、随机、双盲、安慰剂对照的关键性IIb/III期ALLEGRO研究,评估了ritlecitinib治疗12岁及以上斑秃患者(n=718,其中国内入组81人)的疗效和安全性。结果显示,每日服用30mg和50mg ritlecitinib治疗的患者(无论是否接受为期4周的初始治疗)在24周时,头皮毛发覆盖率≥80%的患者比例显著高于安慰剂组。
利特昔替尼不同适应症研发现状

图片来源:药融云全球药物研发数据库
此外,药融云数据库还显示,2022年12月,Ritlecitinib胶囊(利特昔替尼)用于12岁及以上适合接受系统性治疗的非节段型白癜风患者的临床试验申请在国内获批。这是继斑秃、溃疡性结肠炎后,利特昔替尼在国内获批临床的第3项适应症。目前,利特昔替尼在中国和美国均已启动了治疗非节段型白癜风的III期临床研究。
百亿脱发赛道,首款国产JAK抑制剂花落谁家?
斑秃是仅次于雄激素脱发的第二大常见脱发类型,据统计,全球大约有1.47亿斑秃患者,我国斑秃患者约400万人。据预测,到2026年,全球脱发市场规模将增长至134.4亿美元。在此背景下,国内各大企业也在积极布局百亿脱发赛道。
目前,除了巴瑞替尼和利特昔替尼,还有多款在研新药在开发斑秃适应症,涉及JAK、S1P受体、PD-1和ILT-7等靶点,其中一些已获批的JAK抑制剂也在用于开发斑秃适应症,包括迪高替尼、托法替布和芦可替尼等。
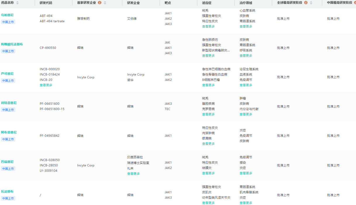
国内获批上市的JAK抑制剂

图片来源:药融云全球药物研发数据库
在国内企业中,目前进度较快的有泽璟制药的杰克替尼、恒瑞医药的艾玛昔替尼、科伦药业的KL130008胶囊等,前两者用于治疗斑秃适应症的临床试验均已进入了国内的3期阶段,后者正在进行II期临床。
1. 杰克替尼——JAK1/2/3抑制剂
盐酸杰克替尼是泽璟制药自主研发的一款新型JAK1/2/3抑制剂,属于1类新药;其上市申请已于2022年获国家药监局受理,适应症为骨髓纤维化,属于第一代泛JAK抑制剂。其重症斑秃适应症的临床申请于2019年11月获受理,目前正在国内进行Ⅲ期临床试验;重度斑秃适应症的临床试验许可今年4月也在美国获批。此外,杰克替尼乳膏还在国内开发轻中度斑秃适应症。
杰克替尼不同适应症全球研发详情

图片来源:药融云全球药物研发数据库
杰克替尼对Janus激酶包括JAK1、JAK2、JAK3和TYK2具有显著的抑制作用,且对JAK2和TYK2的抑制作用最强。盐酸杰克替尼能有效的抑制JAK信号通路的激活,抑制转录激活因子(STAT)磷酸化,从而抑制STAT调节的下游基因表达。杰克替尼通过直接或间接阻断多种相关细胞因子信号转导,抑制免疫过度或异常。
2. 艾玛昔替尼——JAK1抑制剂
艾玛昔替尼(SHR0302)是恒瑞医药研发的JAK1抑制剂,是1类新药,其于今年6月提交的用于治疗中重度特应性皮炎的上市许可申请已获受理。艾玛昔替尼在国内外开发的斑秃适应症,目前在国内已处于Ⅲ期临床试验阶段,在美国处于II期临床。
除了特应性皮炎、斑秃,艾玛昔替尼片还在多个自身免疫疾病开展II/III期临床研究,包括溃疡性结肠炎、克罗恩病、类风湿关节炎、强直性脊柱炎、银屑病关节炎等。其也有望成为首个针对自免适应症获批上市的国内自研JAK1抑制剂。
艾玛昔替尼在研适应症及进度查询

图片来源:药融云全球药物研发数据库
3. KL130008胶囊——JAK1/2抑制剂
KL130008胶囊是科伦药业旗下自主研发的一款靶向JAK1和JAK2激酶的选择性抑制剂,是1类创新药。临床前研究显示,该药品可高效、选择性抑制JAK激酶活性,有望在发挥治疗作用的同时,兼具良好的安全性和耐受性。目前,KL130008正在开展治疗重度斑秃和活动性类风湿关节炎适应症的II期临床试验。
斑秃的病因尚未明晰,目前认为它是一种与遗传相关的、受环境因素刺激的自身免疫性疾病。而JAK抑制剂通过阻断JAK磷酸化来抑制JAK-STAT(信号传导转录活化家族)通路,从而抑制信号传导及转录激活蛋白(STAT)激活,导致炎症介质(如IFNγ、细胞因子、趋化因子等)的下调或终止,从而减轻自身免疫性疾病和炎症。
除了两款JAK抑制剂,国内已获批准的针对斑秃主要的治疗方法包括外用、注射糖皮质激素,以及外用米诺地尔。在患者病情重或不宜系统应用糖皮质激素或对糖皮质激素无效的患者可酌情使用JAK抑制剂。
目前,尚无国产的JAK抑制剂获批上市,但杰克替尼和艾玛昔替尼都已经进入了申报上市阶段,且治疗斑秃适应症的临床试验在国内也都进入到III期研究阶段。
作为首款国产的JAK抑制剂,无论是谁胜出,它们的成功上市都将为国内斑秃患者带来更多的治疗选择。期待着首款国产JAK抑制剂的上市,为更多的斑秃患者带来福音。
<END>
想要获取更多信息如公司简介、历史融资信息、所在地区、最新融资时间等,可通过药融云投融资数据库进行查询。想要获取《药融云医药行业观察周报》完整报告内容,请关注“药融云”公众号,后台回复“报告”关键词进行领取;或者前往药融云“药融文库”网站【原创报告】栏目进行全文下载。








浙公网安备33011002015279
本网站未发布麻醉药品、精神药品、医疗用毒性药品、放射性药品、戒毒药品和医疗机构制剂的产品信息
收藏
登录后参与评论
暂无评论