
近日,据CDE官网显示,齐鲁制药提交的4类仿制化药达格列净二甲双胍缓释片(Ⅰ) / (Ⅲ)上市申请获CDE受理。据药融云数据统计,糖尿病用药在全国院内销售市场峰值超300亿元,目前国内尚未有达格列净二甲双胍缓释片仿制药获批。今年11月10日齐鲁制药申报的首个口服降糖1类新药QLR12018片获得临床试验默示许可,此次齐鲁制药又布局一款重磅复方降糖药,与正大天晴、北京福元医药、江苏宣泰药业等5家企业激战,猛攻首仿。

截图来源:CDE官网
达格列净二甲双胍缓释片原研产品由阿斯利康开发,达格列净二甲双胍缓释片结合了两种作用机制互补的抗高血糖药物:达格列净(商品名:安达唐),一种钠-葡萄糖协同转运蛋白-2(SGLT2)抑制剂,于2014年10月30日获FDA批准上市,商品名为Xigduo XR。Xigduo XR是第一个在美国获批的SGLT2抑制剂和盐酸二甲双胍缓释片的每日口服一次复方制剂。Xigduo XR可作为饮食和运动的辅助治疗,在同时使用达格列净和二甲双胍治疗的情况下,改善成人2型糖尿病患者的血糖控制。
300亿降糖市场引爆激战,齐鲁制药与5家企业猛攻首仿
近些年来,糖尿病对人类健康的威胁日益加剧,患者数量急剧上升无疑给人类健康和社会发展带来沉重负担。根据国际糖尿病联盟(IDF)预计,到2030年全球将有近5亿人罹患糖尿病。据药融云数据库显示,中国糖尿病化学药/生物药院内销售额由2014年200亿元增长到2022年340亿元,年复合增长率为7.0%。

截图来源:药融云全国医院销售数据库
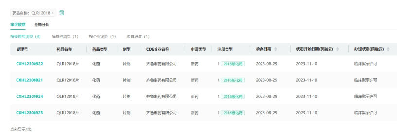
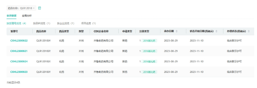
国内降糖药市场竞争日益激烈,齐鲁制药、南京正大天晴、北京福元医药和浙江华海药业等知名药企纷纷加入战局。今年2月,南京正大天晴率先报产达格列净二甲双胍缓释片,随后北京福元医药也在10月13日连报达格列净二甲双胍缓释片(Ⅰ) / (Ⅲ)。此外,浙江华海药业的达格列净二甲双胍缓释片(Ⅰ) 、达格列净二甲双胍缓释片(Ⅲ)、达格列净二甲双胍缓释片(IV)也于今年11月8日以仿制4类同日报产获CDE受理。齐鲁制药也不甘示弱,今年11月10日齐鲁制药申报的首个口服降糖1类新药QLR12018片获得临床试验默示许可,此次齐鲁制药又布局一款重磅复方降糖药。据药融云数据统计,目前,国内尚未有达格列净二甲双胍缓释片仿制药获批,齐鲁制药与正大天晴、北京福元医药、江苏宣泰药业等5家企业激战,猛攻首仿。

截图来源:药融云中国药品审评
TOP10洗牌!独家明星药首次跃进前十
2022年糖尿病用药(化学或生物药)在全国院内销售市场,产品TOP10销售额均超过10亿元,其中达格净列片、门冬胰岛素30注射液和甘精胰岛素注射液是超24亿级大品种。其中司美格鲁肽注射液飞速逆袭,首次跃升进入前十名单,目前该品种仅有诺和诺德1家拥有生产批文。

截图来源:药融云全国医药销售数据库-全局分析
据药融云数据统计,今年以来,糖尿病用药(化学或生物药)已有60品种(161个品规)获批上市;糖尿病仿制药有37品种(231品规)提交了仿制申请,均在审评审批中,市场竞争十分激烈。

此外,2023年至今齐鲁制药有1款1类新药进行IND申报并获批临床,有卡格列净片、西格列汀二甲双胍片(Ⅱ)2个品种过评。除此次提交的达格列净二甲双胍缓释片(Ⅰ) / (Ⅲ),2023年至今还提交了恩格列净利格列汀片、恩格列净片、达格列净片等6个糖尿病品种的仿制申请,均在审评审批中。
<END>
要解锁更多企业药品研发信息吗?查询药融云数据库(vip.pharnexcloud.com/?zmt-mhwz)掌握药品各国上市情况、药品批文信息、销售情况与各维度分析、市场竞争格局、一致性评价情况、集采中标情况、药企申报审批信息、最新动态与前景等,以及帮助企业抉择可否投入时提供数据参考!注册立享15天免费试用!








川公网安备51019002008863号
本网站未发布麻醉药品、精神药品、医疗用毒性药品、放射性药品、戒毒药品和医疗机构制剂的产品信息
收藏
登录后参与评论
暂无评论