
5月27日,据NMPA官网公示,齐鲁制药提交的2款仿制化药盐酸多柔比星脂质体注射液(赛贝泽®)和磷酸特地唑胺片同日获批上市并视同过评。据药融云数据统计,今年齐鲁制药有13个品种过评。

截图来源:NMPA
齐鲁拿下首款脂质体药物,院内市场销售额超25亿元
盐酸多柔比星作为一类广谱抗肿瘤药物,通过抑制DNA、RNA和蛋白合成从而达到治疗肿瘤的作用,常用于多发性骨髓瘤、淋巴瘤、卵巢癌、乳腺癌的化疗。而盐酸多柔比星脂质体注射液则可实现药物的增效减毒,定向聚集和精准治疗。据药融云数据统计,盐酸多柔比星脂质体注射液在2022年全国院内市场销售额超25亿元。

来源:药融云全国医院销售数据库
根据药融云数据库,此前我国在使用状态的脂质体注射剂批文共有15条。对应6个活性成分,其中盐酸多柔比星脂质体获批批文最多,共有八条,分别来自于浙江海正药业、上海复旦张江生物医药、浙江智达药业、常州金远药业、石药集团欧意药业等5家制药企业。

来源:药融云数据库、药融咨询深度报告
根据药融云数据库,截至2022年,有相关销售信息的活性物质共有4个,分别为盐酸多柔比星、盐酸米托蔥醌、两性霉素B及紫杉醇。2015-2020年间,我国脂质体市场保持快速增长,年复合增长率为18%;2020年后销售额逐年降低。目前市场主要由盐酸多柔比星及紫杉醇占据,为抗肿瘤药。石药集团近年在我国脂质体市场中份额来增长迅速,至2022年,其约占一半我国脂质体市场份额。(脂质体更多相关深度内容分析阅读:改良新药千亿市场!脂质体强劲增长,石药集团占半壁江山……)

来源:药融云数据库、药融咨询深度报告
脂质体药物制剂属于高技术壁垒、研发投入大的高端复杂制剂,转化周期长、临床成功率较低,国内外有能力研制成功的企业极少。据齐鲁制药集团消息显示,此次,赛贝泽®为齐鲁制药首个脂质体药物制剂,这也是齐鲁继白蛋白纳米粒、亚微乳、微球、微晶之后又一个重磅技术平台的突破,彰显齐鲁制药在高端复杂制剂领域的强大实力。
再添1款超级抗生素,剑指千亿市场
磷酸特地唑胺为利奈唑胺的衍生药物,是一款二代恶唑烷酮类抗生素,磷酸特地唑胺最初由韩国Dong-A制药研发,后由Merck和Bayer进行商业化开发,最早于2014年6月获得FDA批准上市,2015年6月在欧盟获批上市。原研的磷酸特地唑胺片及注射用磷酸特地唑胺于2019年获批进入国内市场。
利奈唑胺,作为磷酸特地唑胺的“前辈”,市场表现一直不俗。在2019年,其院内销售额更是达到了峰值17.5亿元。而系统用抗感染药物在全国院内市场的销售峰值超1300亿元,随着磷酸特地唑胺片在国内市场的逐步推广和应用,这款超级抗生素在市的发展将值得期待。

来源:药融云全国医院销售数据库
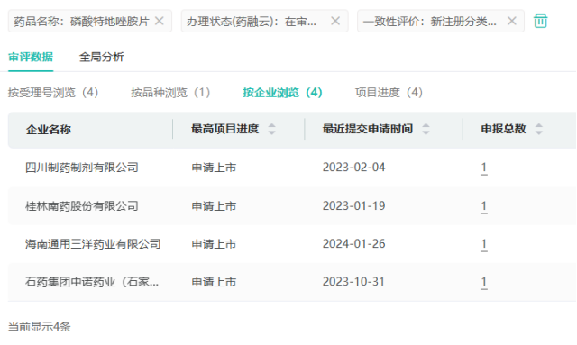
目前,磷酸特地唑胺片已有4家国内药企提交了4类仿制上市申请,包含石药集团中诺药业、海南通用三洋药业、桂林南药、四川制药制剂。

来源:药融云中国药品批文数据库
截至目前,齐鲁制药已有163个品种通过或视同通过一致性评价,其中56个为国内首家;有57个系统用抗感染药物获批并通过一致性评价。2024年至今(截止5月28日)齐鲁制药有卡维地洛片、盐酸多柔比星脂质体注射液、头孢泊肟酯干混悬剂、注射用醋酸西曲瑞克等13个品种过评。
参考来源:
[1] NMPA官网
[2] 药融云数据库
[3] 药融咨询深度报告
<END>
想要解锁更多药物研发信息吗?查询药融云数据库(vip.pharnexcloud.com/?zmt-mhwz)掌握药物基本信息、市场竞争格局、销售情况与各维度分析、药企研发进展、临床试验情况、申报审批情况、各国上市情况、最新市场动态、市场规模与前景等,以及帮助企业抉择可否投入时提供数据参考!注册立享15天免费试用!








川公网安备51019002008863号
本网站未发布麻醉药品、精神药品、医疗用毒性药品、放射性药品、戒毒药品和医疗机构制剂的产品信息
收藏
登录后参与评论
暂无评论