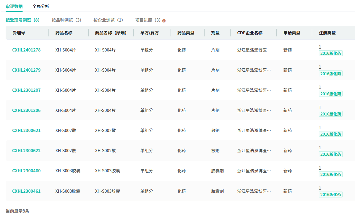
截至目前,浙江星浩澎博医药已有3款1类新药XH-S003胶囊、XH-S002散、XH-S004片获批临床。这三款新药分别涉及神经系统药物、生殖泌尿系统和性激素类药物、呼吸系统药物三大领域。

截图来源:摩熵医药中国药品审评数据库
此外,复星医药于1月14日宣布,其控股子公司浙江星浩澎博医药的XH-S003胶囊已在中国境内正式启动II期临床试验,该试验旨在评估其治疗IgA肾病等补体异常激活相关的肾小球疾病的疗效。此前,XH-S003已在中国境内及澳大利亚顺利完成了I期临床试验。

截图来源:摩熵医药中国临床试验数据库
截至目前,中国境内尚未有同一分子机制的小分子抑制剂获批用于治疗IgA肾病等补体异常激活相关的肾小球疾病。这意味着,一旦XH-S003胶囊成功完成临床试验并获批上市,将有望填补这一领域的市场空白,为患者带来新的治疗选择。
小结
浙江星浩澎博医药在呼吸系统药物研发领域取得了显著成果,其1类新药XH-S004片成功获得用于慢性阻塞性肺疾病的临床试验默示许可。同时,公司还拥有三款获批临床的1类新药,分别涉足神经系统药物、生殖泌尿系统和性激素类药物、呼吸系统药物三大领域。此外,XH-S003胶囊的II期临床试验也已正式启动,有望为中国IgA肾病等补体异常激活相关的肾小球疾病患者带来新的治疗希望。
参考来源:
[1] CDE官网
[2] 摩熵医药(原药融云)数据库
想要解锁更多药物研发信息吗?查询摩熵医药(原药融云)数据库(vip.pharnexcloud.com/?zmt-mhwz)掌握药物基本信息、市场竞争格局、销售情况与各维度分析、药企研发进展、临床试验情况、申报审批情况、各国上市情况、最新市场动态、市场规模与前景等,以及帮助企业抉择可否投入时提供数据参考!注册立享15天免费试用!

收藏
登录后参与评论
暂无评论