
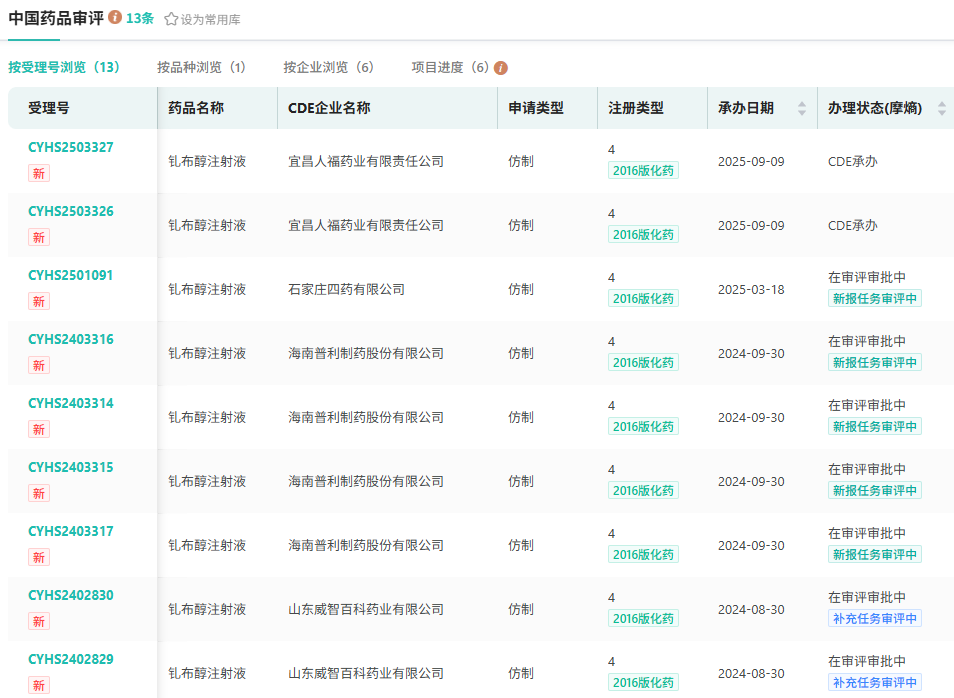
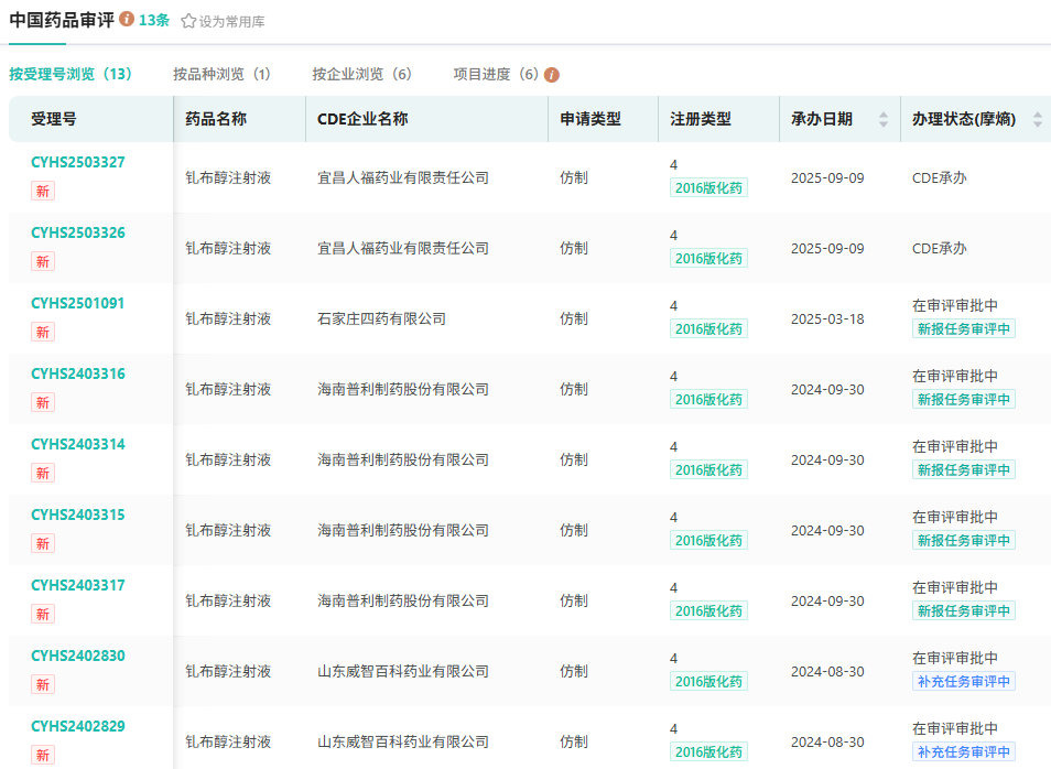
9月9日,CDE官网显示,宜昌人福药业有限责任公司按4类化药注册申报的钆布醇注射液上市申请已获受理。该药全球销售额超4亿美元,吸引了多家知名药企参与布局,且已被纳入第11批集采名单,市场竞争正不断加剧。

截图来源:CDE官网
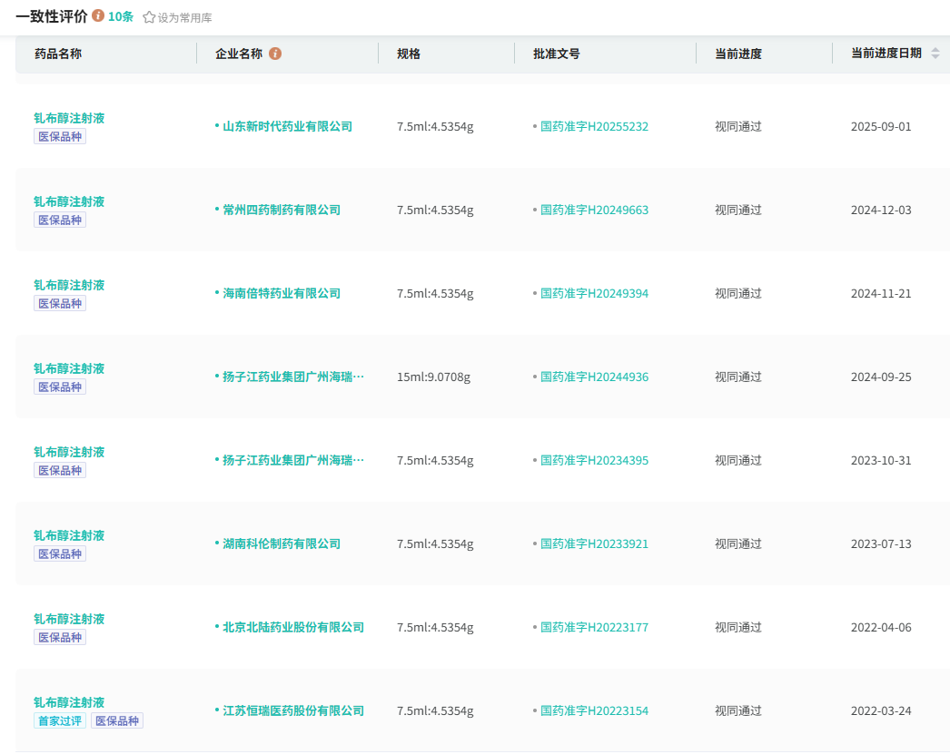
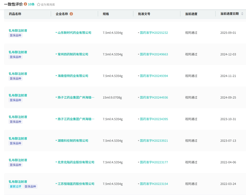
钆布醇注射液(gadobutrol)是一种用于磁共振成像(MRI)的顺磁性对比剂,是临床应用最广泛的第二代钆造影剂,适用于成人及全年龄段儿童(包括足月新生儿)的磁共振成像。

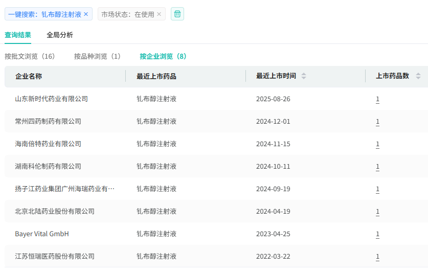
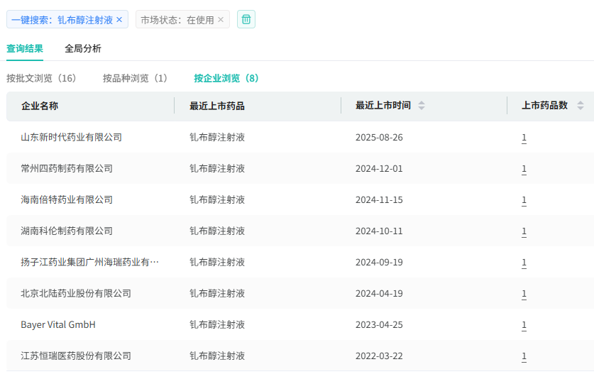
截图来源:摩熵医药全球药物研发数据库
该药物由拜耳(Bayer)公司研发,1998年首次在瑞士获批上市。2011年3月获FDA批准,2012月7月进入中国市场,商品名为“加乐显”。目前其已在100多个国家或地区获批上市。
近年来,钆布醇注射液的市场表现持续向好。公开数据显示,2020年其全球销售额约为3.07亿美元,2021年钆布醇相关剂型全球销售额跃升至约4.95 亿美元。
其国内市场表现更为突出,据摩熵医药数据库显示,2023年钆布醇注射液在我国院内市场的销售额突破2亿元,同比增幅高达45.78%,2024年攀升至2.24亿元,同比增长9.4%,市场潜力不断释放。












川公网安备51019002008863号
本网站未发布麻醉药品、精神药品、医疗用毒性药品、放射性药品、戒毒药品和医疗机构制剂的产品信息
收藏
登录后参与评论
暂无评论