药融云是以医药数据库为核心,集医药数据、行业资讯、医药咨询等于一体的医药产业数据服务平台。关注我们,获取更多最新医药专业报告,了解行业最新情报。
据《药融云医药行业观察周报》数据统计,在2023.05.08-2023.05.14期间,共有99项仿制药注册申请获CDE承办,其中新注册分类上市申请受理号72项(包括化药3类,4类,5.2类),新注册分类临床申请受理号1项(化药4类),一致性评价申请受理号26项。本周创新药周报请点击《CDE周报 | 37个新药获批临床,6款上市!恒瑞、迈威生物、我武生物..》。
一、通过一致性评价
本周,共26个品种通过仿制药一致性评价(按受理号计36项)。其中,过评品种主要为神经系统用药和系统用抗感染药,过评产品剂型主要为注射剂,还包括片剂、胶囊剂和颗粒剂。

图片来源:《药融云医药行业观察周报》
从过评受理号数量来看,最多的品种为注射用赖氨匹林和注射用氨苄西林钠,碘海醇注射液、硝酸甘油注射液和左卡尼汀注射液等6个品种紧随其后。
从过评企业数量来看,最多的品种为醋酸钠林格注射液,共有2家企业过评,分别为湖南科伦制药和石家庄四药;除此之外,本周过评企业还有重庆药友制药、湖南汉森制药、山西康宝生物制品和山东齐都药业等26家企业。
药融云一致性评价数据库显示,截至目前,除了湖南科伦制药和石家庄四药,醋酸钠林格注射液视同通过一致性评价的企业还有3家,为苏州朗易生物、河南科伦药业、河北仁合益康药业(国内首家过评)。其过评企业已满5家,符合目前集采门槛,有望进第九批国家药品集采。
醋酸钠林格注射液一致性评价情况查询

图片来源:药融云一致性评价数据库
另外,石药银湖制药、莎普爱思药业、多瑞药业、贵州科伦药业4家企业也提交了醋酸钠林格注射液的一致性评价申请,目前处于在审评审批中阶段。
醋酸钠林格注射液属于新一代晶体盐平衡液,主要成分有氯化钠、醋酸钠(三水合物)、氯化钾、氯化钙(二水合物)等电解质。临床上主要用于补充体液,调节电解质平衡、纠正酸中毒。广泛用于麻醉科、儿科、ICU、急诊科、烧伤科、大外科等科室。
醋酸钠林格注射液医院终端市场历年销售趋势

图片来源:药融云全国医院销售(全终端)数据库
药融云全国医院销售(全终端)数据库显示,2017年-2021年,醋酸钠林格注射液在中国医院全终端的市场规模呈持续稳定增长态势,销售额一路攀升,2021年销售额更是突破20亿大关,达到20.85亿元,同比增长40.37%,2022年有望再创新高。
其中,湖北多瑞医药占据了全国医院终端61.94%的市场份额,排名第一;其次是四川科伦药业占据13.98%,南京正大天晴占10.95%;江苏正大丰海制药占8.48%的市场份额。
醋酸钠林格注射液医院终端市场企业竞争格局

图片来源:药融云全国医院销售(全终端)数据库
二、视同通过一致性评价
本周,有22个品种视同通过仿制药一致性评价(按受理号计32项)。视同通过的品种主要为心血管系统用药和神经系统用药,共计占比约41%,还包括感觉系统用药、抗肿瘤药和免疫机能调节药和消化系统与代谢药等9大治疗领域。视同通过的剂型主要为注射剂和片剂,还包括眼用制剂、胶囊剂和口服液体剂等5种剂型。

图片来源:《药融云医药行业观察周报》
其中,从品种层面来看,本周共视同过评22个品种,其中奥赛利定富马酸盐注射液为受理号数量最多的品种,达比加群酯胶囊、吸入用硫酸沙丁胺醇溶液和草酸艾司西酞普兰口服溶液等7个品种紧随其后。
从企业层面来看,过评品种数达2个的企业仅四川汇宇制药一家,过评品种分别为米力农注射液和氟尿嘧啶注射液。其余视同通过的企业还有江苏恩华药业、浙江华海药业、济南景笙科技和浙江国镜药业等21家企业。

图片来源:《药融云医药行业观察周报》
值得关注的是,江苏恩华药业拿下富马酸奥赛利定注射液首仿,同时,浙江国镜药业的草酸艾司西酞普兰口服溶液获批上市,这是该品种第2家获得批文的药企。
恩华药业的富马酸奥赛利定注射液(TRV130,欧立罗)获批上市,治疗成人患者严重到需要静脉注射阿片类药物的急性疼痛,也可作为替代疗法效果不佳时的选择。
TRV130原研企业为Trevena公司,于2020年在美国获批上市,是全球首个上市的G蛋白偏向性μ-阿片受体激动剂,用于治疗需要静脉注射阿片类药物或替代疗法不佳的成人患者的急性疼痛。恩华药业拥有此产品在大中华区开发和商业化的独家权益。
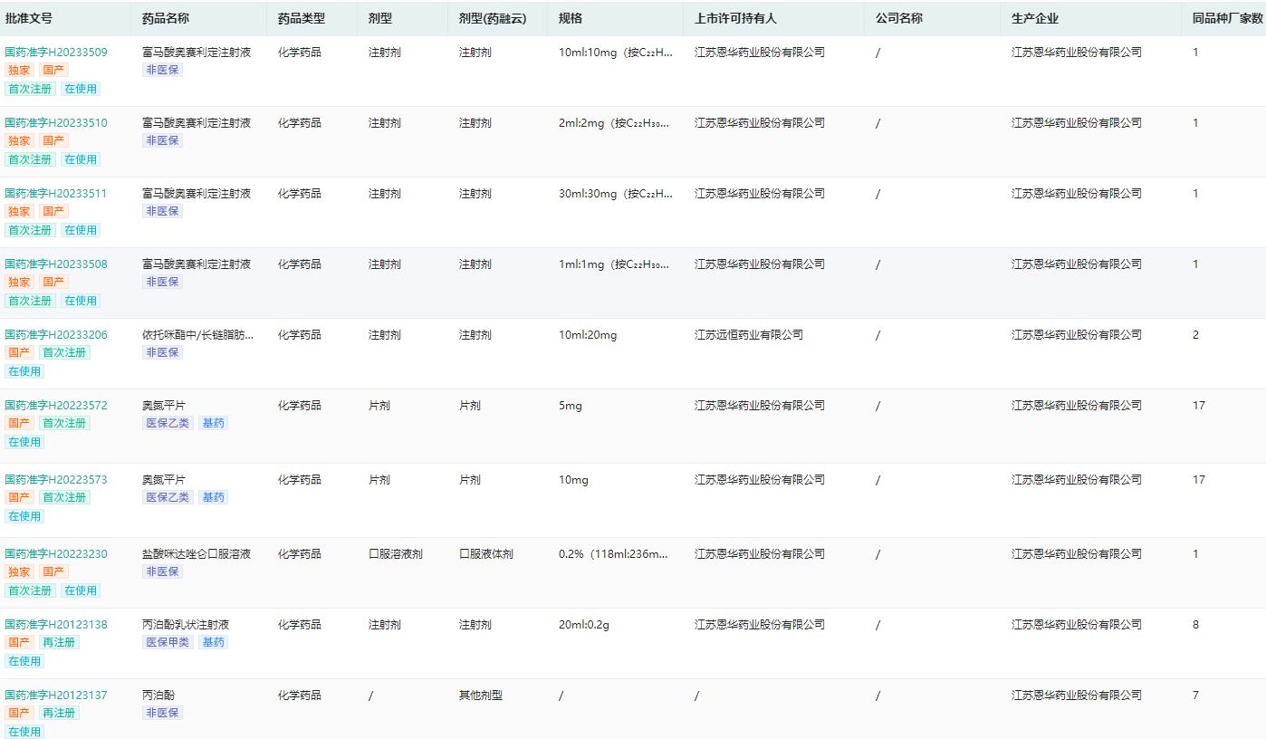
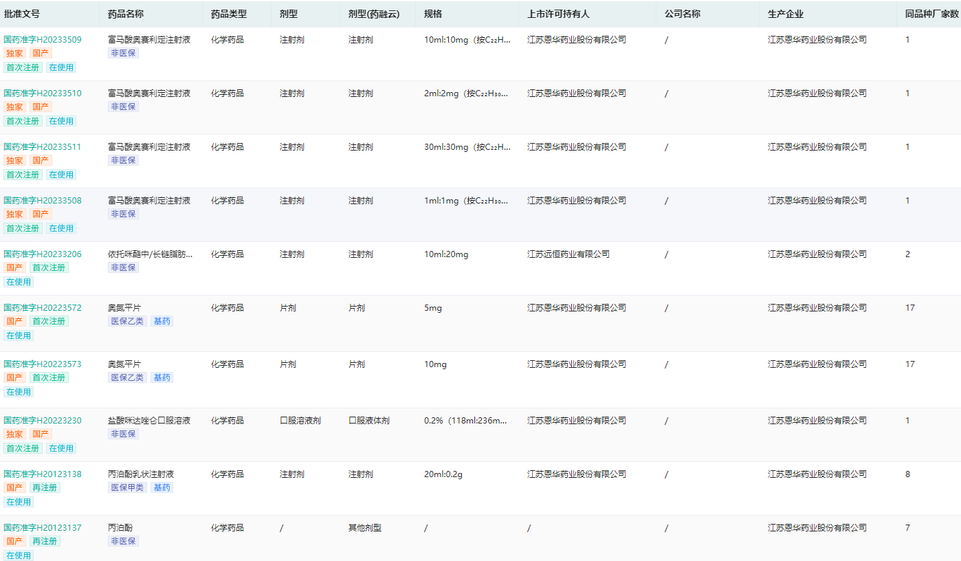
药融云中国药品批文数据库显示,截至目前,恩华药业拥有171条生产批文,涉及131个品种;其中,已通过一致性评价的品种有11个,包括盐酸右美托咪定注射液、咪达唑仑注射液、加巴喷丁胶囊、氟马西尼注射液、利培酮片、氯氮平片、氯硝西泮片、舒必利片等;视同通过一致性评价的品种有7个,包括依托咪酯中/长链脂肪乳注射液、奥氮平片、盐酸咪达唑仑口服溶液、盐酸阿芬太尼注射液、盐酸度洛西汀肠溶胶囊、盐酸羟考酮注射液、枸橼酸舒芬太尼注射液。
恩华药业药品生产批文查询(部分展示)

图片来源:药融云中国药品批文数据库
三、首次过评/视同过评品种
在本周,首次过评/视同通过一致性评价的品种有14个,包括甲钴胺分散片、注射用赖氨匹林、胞磷胆碱钠注射液、尼可地尔片、硝酸甘油注射液、戊酸二氟可龙乳膏、泽布替尼胶囊、曲伏前列素滴眼液、氯化钾注射液、地西泮片等。
本周首次过评/视同过评品种(部分)

图片来源:《药融云医药行业观察周报》
四、过评/视同过评达3家企业品种
同时,在本周过评/视同过评达3家企业的品种有6个,分别是注射用氨苄西林钠、氟尿嘧啶注射液、盐酸多巴胺注射液、卡前列素氨丁三醇注射液、曲伏前列素滴眼液、乳酸钠林格注射液。
本周过评/视同过评达 3 家企业品种

图片来源:《药融云医药行业观察周报》
想要获取完整报告内容,请关注“药融云公众号(yrydata)”,后台回复关键词“报告”进行领取;或者前往“药融文库(wenku.pharnexcloud.com/?mh)”「原创报告」中进行全文下载。
想要解锁更多药品信息吗?查询药融云数据库(vip.pharnexcloud.com/?zmt-mhwz)掌握药品各国上市情况、药品批文信息、销售情况与各维度分析、市场竞争格局、一致性评价情况、集采中标情况、药企申报审批信息、最新动态与前景等,以及帮助企业抉择可否投入时提供数据参考!注册立享15天免费试用!

<END>








川公网安备51019002008863号
本网站未发布麻醉药品、精神药品、医疗用毒性药品、放射性药品、戒毒药品和医疗机构制剂的产品信息
收藏
登录后参与评论
暂无评论