

罗马不是一天建成的。
4月23日,恒瑞医药发布了2021年年度报告。年报显示,2021年恒瑞医药实现营业收入259.06亿元,同比下降6.59%;对应的净利润为45.30亿元,同比减少28.41%;其扣除非经常性损益的净利润42.01亿元,同比减少29.53%。
自恒瑞医药1999年公开经营业绩数据以来,营业收入一直在不间断增长;净利润方面也是在2002年出现过一次微降之后就一直保持持续增长势头。而2021年恒瑞医药可谓创造了历史新“纪录”,首次出现营业收入、净利润双降,扣非净利润近21年来也出现首降。
【研发投入62.03亿元 创历史新高】
但值得注意的是,在费用方面,恒瑞医药2021年销售费用为93.84亿元,较上年减少4.19亿元;管理费用为28.60亿元,较上年减少2.07亿元;而与销售费用、管理费用同比减少相反的是,恒瑞医药的研发费用同比大幅增加。
2021年,恒瑞医药研发费用为59.43亿元,同比增加9.55亿元,增幅为19.13%;若加上资本化研发投入2.60亿元,研发投入合计达62.03亿元,比上年增长24.34%,接近营业收入的四分之一,创历史新高。
在疫情影响、行业变革与竞争加剧的外部环境下,恒瑞医药销售费用减4亿、研发费用增10亿的背后,是其加快了由仿制药向创新药转型的步伐。
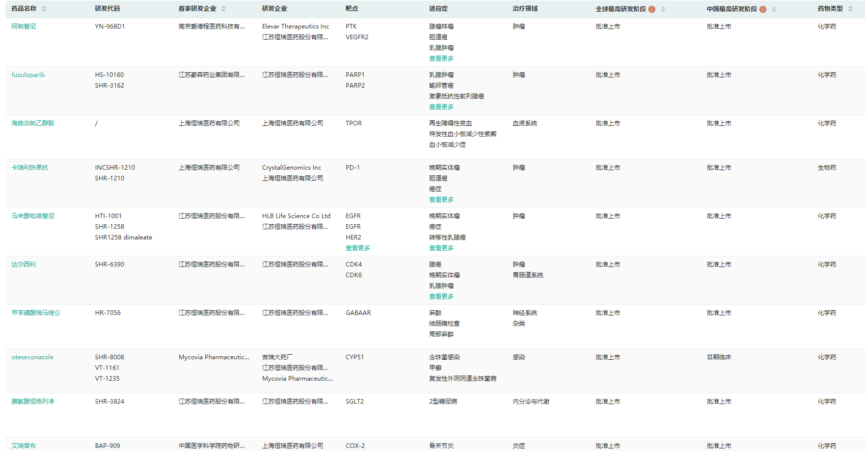
2021年,恒瑞医药实现3个创新药(海曲泊帕乙醇胺片、羟乙磺酸达尔西利片和脯氨酸恒格列净片)获批上市,已上市创新药增至10款,位居国内同行业前茅。
恒瑞医药获批上市的创新药

图片来源:药融云全球药物研发数据库
作为中国创新药物研发的先行者,据药融云全球药物研发数据库显示,2022年恒瑞医药截至目前有5个创新药处于上市申请阶段,近70个创新药正在临床开发,其中12个处于III期临床研究,有57个处于I~II期临床研究阶段。
恒瑞医药创新药不同研发阶段药品数量

图片来源:药融云全球药物研发数据库
而处于上市申请阶段的5款创新药,包括3款抗肿瘤药,2款2型糖尿病治疗药。12个III期临床阶段项目中,治疗领域包括皮肤病、免疫调节、肿瘤、神经系统、内分泌及代谢系统、呼吸系统、心血管系统等。
恒瑞医药上市申请药品信息

恒瑞医药上市申请药品治疗领域

图片来源:药融云全球药物研发数据库
近年来,在创新、国际化发展战略驱动之下,恒瑞医药也进行差异化、前瞻性布局,研发管线日益多元化。
从治疗领域来看,从聚焦肿瘤药到布局更广阔的治疗领域,包括自身免疫疾病、疼痛管理、糖尿病、心血管疾病、代谢性疾病、感染疾病、呼吸系统疾病、血液疾病、神经系统疾病等领域,甚至还拓展到眼科、核药等其他领域。
2021年恒瑞医药在研项目治疗领域分布中,小分子中肿瘤比例为55%、自身免疫为18%、代谢性疾病为8%、心血管疾病为4%和其他为15%;大分子中肿瘤、神经系统、自身免疫和心血管依次比例为72%、16%、8%和4%。
【恒瑞医药重仓肿瘤治疗领域】
在肿瘤治疗领域,恒瑞医药有丰富的研发管线,研发品种基本覆盖了我国高发瘤种,尤其是肺癌和乳腺癌。目前全球有 14个处于早期临床阶段,26个处于I期临床阶段,5个II期临床阶段,3个III期临床阶段。覆盖的子领域包括激酶抑制剂、抗体药物偶联物(ADC)、肿瘤免疫学、激素受体调控、DNA修复及表观遗传学和肿瘤的支持治疗等。
恒瑞医药肿瘤领域不同药物研发情况

恒瑞医药肿瘤领域各靶点药品数量

图片来源:药融云全球药物研发数据库
在肺癌领域,恒瑞医药全方位布局,以卡瑞利珠单抗与SHR-1316(PD-L1单抗)保证一线治疗优势地位。
卡瑞利珠单抗是恒瑞医药自主研发并拥有知识产权的人源化PD-1单克隆抗体,它是一种人源化的IgG4单抗,无抗体依赖性的细胞介导的细胞毒作用(ADCC)、抗体依赖性细胞介导的吞噬作用(ADCP)和补体依赖的细胞毒性(CDC)作用,从而可有效降低T细胞耗竭,有助于发挥持续抑瘤作用。
卡瑞利珠单抗已经在肺癌、肝癌、食管癌、鼻咽癌和霍奇金淋巴瘤五大癌种中有8项适应症获批上市,是目前获批适应症数量最多、覆盖瘤种上领跑的国产PD-1单抗,并已进入国家医保目录。卡瑞利珠单抗的后续开发不仅聚焦于现有适应症和癌种的联合用药,还致力于其他癌种的适应症拓展。
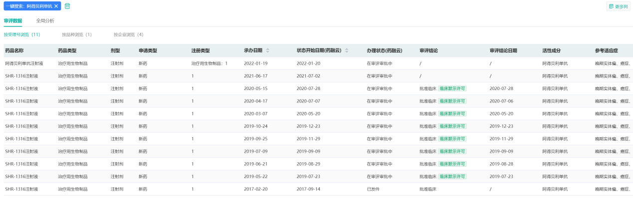
而阿得贝利单抗也是恒瑞医药自主研发的一种人源化抗PD-L1单克隆抗体,其可以特异性结合PD-L1分子,从而阻断导致肿瘤免疫耐受的PD-1/PD-L1通路,重新激活免疫系统的抗肿瘤活性,从而达到治疗肿瘤的目的。
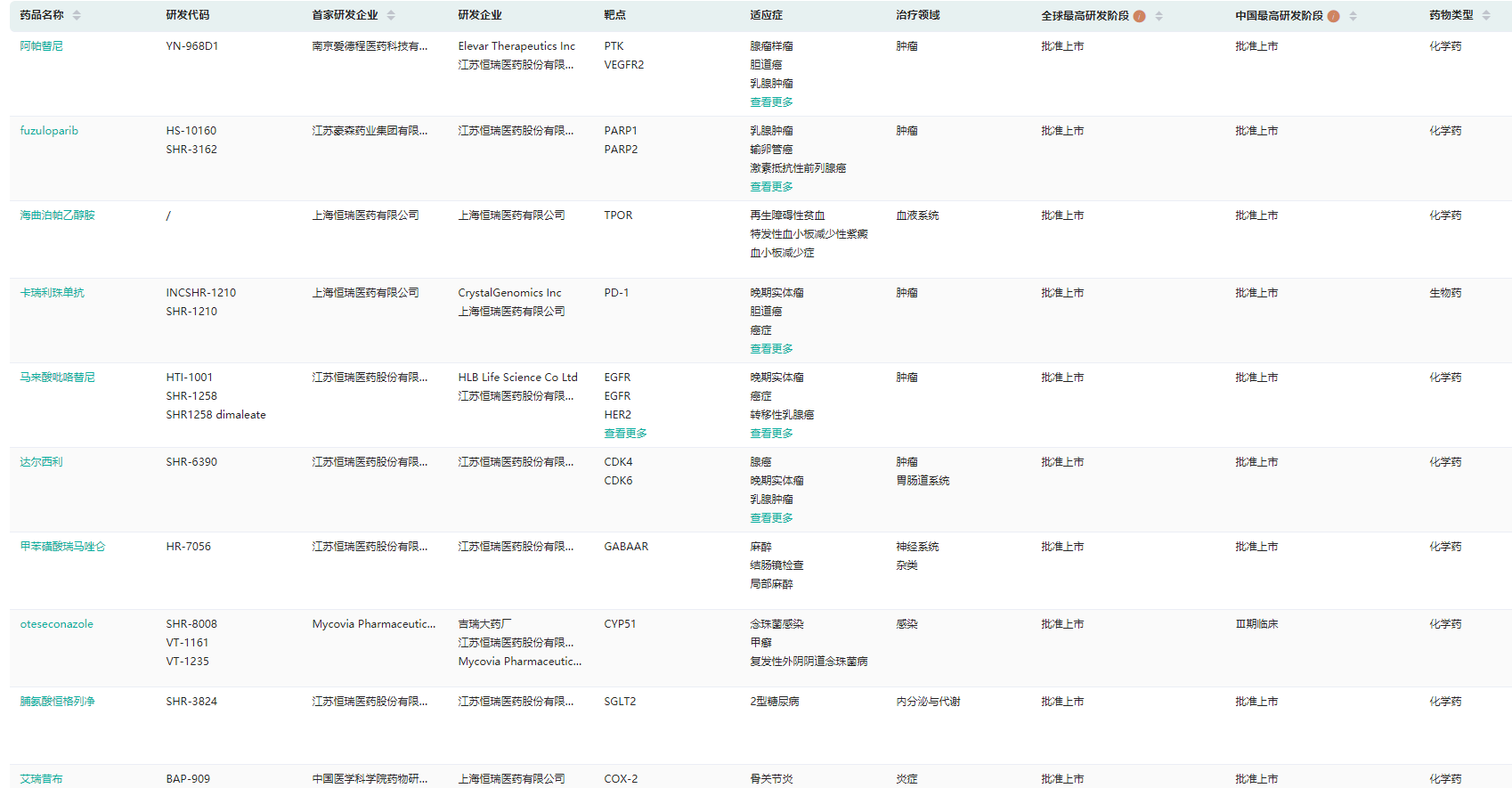
据药融云中国药品审评数据库显示,2022年1月19日,阿得贝利单抗联合化疗一线治疗广泛期小细胞肺癌的药品上市许可申请获药监局受理,这是国产第5款申报上市的 PD-L1 单抗。
阿得贝利单抗审评数据

图片来源:药融云中国药品审评数据库
阿得贝利单抗审评概况

图片来源:药融云中国药品审评数据库
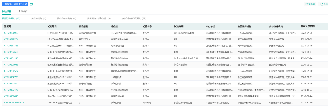
同时,通过药融云中国临床试验数据库可以看到,恒瑞医药目前在国内针对阿得贝利单抗已经启动了 11 项临床试验研究。其中 3 项适应症已经进入III期临床,包括局限期小细胞肺癌一线疗法、可切除非小细胞肺癌围手术期治疗、广泛期小细胞肺癌一线疗法。
阿得贝利单抗临床试验数据

图片来源:药融云中国临床试验数据库
在乳腺癌治疗领域,恒瑞医药已上市获批2个1.1类创新产品——吡咯替尼与达尔西利,分别覆盖了HER2阳性乳腺癌与HR阳性乳腺癌这两大最重要的乳腺癌亚型,涉及从晚期二线、晚期一线、新辅助/辅助各疾病阶段适应症人群。
与此同时,HER2抗体偶联药物SHR-A1811、SERCA、SERD药物,以及针对三阴性乳腺癌的PD-1抗体卡瑞利珠单抗,HER2阴性乳腺癌的PARP酶抑制剂氟唑帕利等产品的乳腺癌临床开发正在进行中。
近日,NMPA批准恒瑞医药自主研发的1类新药马来酸吡咯替尼片与曲妥珠单抗和多西他赛联合,用于表皮生长因子受体2(HER2)阳性早期或局部晚期乳腺癌患者的新辅助治疗。这是吡咯替尼在国内乳腺癌领域获批的第二个适应症。
值得一提的是,“生物导弹”ADC(抗体药物偶联物)药物主要应用于抗肿瘤领域,也是近年来热门的研究方向之一。
从ADC产品管线储备上看,恒瑞医药目前有5款ADC药物(SHR-A1811、SHR-A1904、SHR-A1912、SHR-A2009、SHR-A1921)获批临床,也已经扩展到HER2、Trop2、CEA、cMET、Claudin 18.2、B7-H3、EGFR等多个靶点,适应症涵盖乳腺癌、实体瘤、胃癌、直肠癌等多领域。
SHR-A1811基本信息

图片来源:药融云全球药物研发数据库
恒瑞医药还建立了多个ADC技术平台,包括依喜替康类似物ADC、艾日布林ADC、抗体偶联TLR激动剂等。HER2 ADC新药SHR-A1811为恒瑞医药ADC管线的重点,目前已经推进到二期临床阶段。临床拓展方面推进多种联合治疗方案,如联合PD-1、化疗、靶向治疗等。
【研发管线多元覆盖,差异化布局】
恒瑞医药坚持差异化布局研发的创新研发策略,通过基础创新、产品组合创新,形成全方位、多元化的管线覆盖。在慢病治疗领域,恒瑞医药涵盖到了代谢性疾病、心血管疾病、呼吸系统疾病、自身免疫疾病、疼痛管理、骨代谢等多领域,呈现出可满足临床需求的差异化创新。
在糖尿病领域,恒瑞医药布局了多款创新药,涵盖化学药及生物药,单方制剂及复方制剂等,从偏前端的新型口服降糖药二甲双胍、罗格列酮、格列喹酮等,到“最后一道防线”的基础胰岛素,进行了全面的布局。
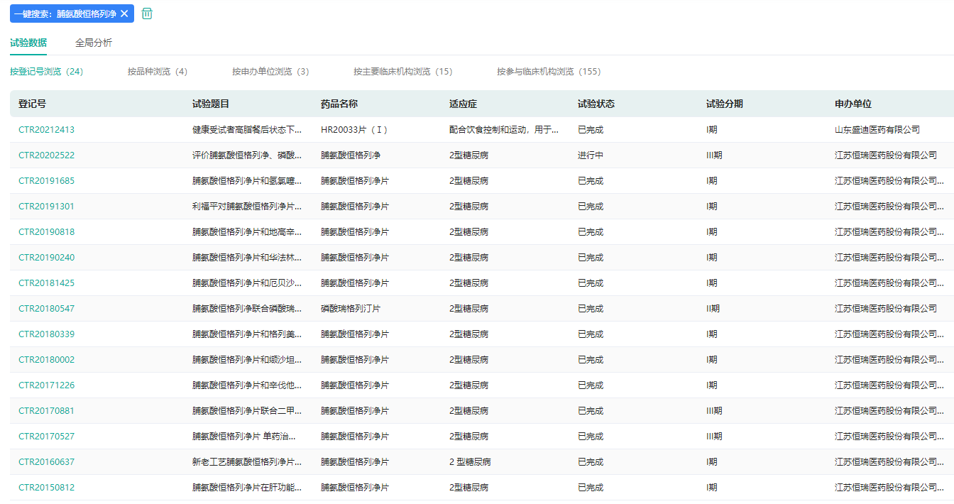
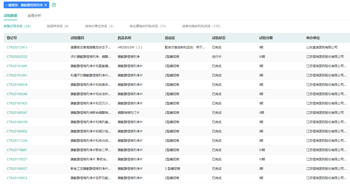
恒格列净是中国首个自主研发的SGLT-2i 1类新药,作为新型的、高选择性的SGLT-2口服抑制剂,适用于改善成人2型糖尿病患者的血糖控制,其两项Ⅲ期临床研究数据表明,恒格列净在单药治疗以及与二甲双胍联用情况下,均可显著改善血糖控制,具有减重、降压等综合获益,给中国糖尿病患者带来新的治疗选择。
早些年恒瑞还开发过口服 GLP-1 类似物 SHR-2042 和呋格列泛,均已进入临床试验阶段。而在生物新药/改良新领域,恒瑞开发了长效胰岛素 INS068、超速效胰岛素 HR011408、长效胰岛素/GLP-1 复方制剂 HR17031 和 GLP-1 类似物诺利糖肽。
脯氨酸恒格列净临床试验信息(部分)

图片来源:药融云中国临床试验数据库
自身免疫疾病也是恒瑞医药的另一个重要研究领域。目前有多款自身免疫疾病在研药物获批临床,包括小分子JAK1激酶抑制剂SHR0302、靶向IL-17A的重组人源化单克隆抗体SHR-1314等等,涉及的适应症涵盖白癜风、活动性强直性脊柱炎、克罗恩病等。
除此之外,恒瑞医药在其他前沿的领域也有布局。如蛋白水解靶向嵌合物(PROTAC)(2019年开始布局)、分子胶、抗体药物偶联物(ADC)、双/多特异性抗体、AAV基因治疗(自主研发)、mRNA、生物信息学、转化医学等。
结语:
创新药物的研发永无止境。多年来的高研发投入,给恒瑞医药带来了丰硕的果实。10年间,其研发类型从单纯的模仿/改进(Me-too/Me-better)到快速跟进(Fast-follow)再到逐步追求FIC和BIC。相信恒瑞追求的创新,是面向世界的创新,下一个10年,重点在于走向国际化。
想要解锁更多药企信息吗?查询药融云数据库(https://www.pharnexcloud.com/?zmt-mhwz)掌握药企创新药产品布局、基本信息、临床研发阶段、最新进展、市场规模与前景;仿制药申报情况、一致性评价、市场竞争格局、销售情况;公司投融资情况、年报与前景,可否投入!注册立享15天免费试用和虎年首份医药数据大礼包!

<END>







川公网安备51019002008863号
本网站未发布麻醉药品、精神药品、医疗用毒性药品、放射性药品、戒毒药品和医疗机构制剂的产品信息
收藏
登录后参与评论
暂无评论