2022年,百亿造影剂市场异常动荡。据药融云数据库统计,2022年造影剂院内销售额为113亿,同比下滑23%,这主要是由于有两大十亿品种受集采影响,销售额大幅下滑。TOP10品种出炉,变化巨大,两极分化严重,单个品种销售额最高上升44%,最高下滑61%。即使如此,依旧还有众多药企持续布局或正在布局的路上。

截图来源:药融云全国医院销售数据库
另外值得注意的是,今年是碘佛醇注射液首次拿下造影剂市场品种排名TOP1,该药为恒瑞医药的优势品种,市场份额占比超9成。恒瑞医药也凭借着这一品种,再登造影剂市场药企排名TOP1,连冠第八年。
一、百亿造影剂市场动荡,TOP10品种剧变,恒瑞医药连冠
造影剂,也称为对比剂,是为增强影像观察效果而注入(或服用)到人体组织或器官的化学制品,是医学影像学科必不可少的诊断与鉴别诊断用药品。
按对应检测设备,造影剂大致可分为三类,X射线造影剂、磁共振成像造影剂和超声造影剂。虽然造影剂归类为药品,但不同于一般药品,造影剂仅用于疾病的诊断并无治疗作用,与诊断试剂类似,却需要注射于人体,所以按药品类别进行注册、市场准入管控。
从2022年造影剂市场TOP10品种来看,尽管碘佛醇注射液和碘美普尔注射液销售额分别上升了20%和44%,却依旧难挡碘克沙醇注射液和碘海醇注射液两大品种的颓势:在国家第五批集采中,碘克沙醇注射液和碘海醇注射液均被纳入,于2021年10月后陆续在各省市执行。受此集采影响,两者院内销售额分别下滑了61.3%和52.1%。
2022年造影剂市场TOP10品种

数据来源:药融云全国医院销售数据库
从2022年造影剂市场TOP10药企来看,恒瑞医药依旧稳坐第一,主要还是依靠着其优势品种碘佛醇注射液。据药融云全国医院销售数据库显示,从2015年起,恒瑞医药就顶替拜耳坐在了造影剂市场药企排名TOP1的位置,至此已连冠八年。除碘佛醇注射液外,恒瑞医药还手握着钆特酸葡胺注射液、碘克沙醇注射液、罂粟乙碘油注射液、钆布醇注射液四款造影剂。
2022年造影剂市场TOP10药企

截图来源:药融云全国医院销售数据库
作为造影剂市场的龙头企业,恒瑞医药也深受集采影响:在第五批全国药品集采中,碘克沙醇注射液出局造影剂集采,失去了销售额几十亿的造影剂重地。据恒瑞医药财报,2022年其造影剂板块营收下滑了16.54%。
值得一提的是,碘帕醇注射液已被纳入第7批集采(中选企业:博莱科、南京正大天晴、上海司太立、北陆药业),目前该品种市场主要由博莱科占领,其次为北陆药业和南京正大天晴等。第7批集采已于2022年11月起陆续在各省市落地,碘帕醇注射液后续市场表现如何,能否实现国产替代,尚待揭晓。
下述为造影剂市场TOP10品种浅析。
二、碘佛醇注射液:首次登顶夺得“销冠”,恒瑞医药狂喜
碘佛醇注射液是一种新型经血管用药的非离子、低渗透、水溶性、不透射线造影剂。最早于1954年在美国获批上市,后2001年进入中国。目前,国内仅有1款进口(来自Liebel-Flarsheim)和1款国产(来自恒瑞医药)。
据药融云统计,2022年碘佛醇注射液的院内销售额超26亿元,同比增长20%,其中恒瑞医药占据领导地位,市场份额超9成。这也是该品种首次“坐上”造影剂市场品种排名榜一的位置。

截图来源:药融云全国医院销售数据库
此外,上海司太立制药和成都倍特药业已提交仿制上市申请,均在审评审批中。
三、碘克沙醇注射液:销售市场缩水61%,倍特药业最新获批
碘克沙醇注射液为X-线对比剂,适用于成人及儿童的动脉数字减影血管造影、心血管造影、外周动脉及静脉造影、内脏动脉造影、脑动脉造影、头部及身体CT成像、排泄性尿路造影、冠状动脉CT血管造影(CCTA)。
据药融云数据库,碘克沙醇院内销售额峰值为2021年的43.6亿元,后受集采降价影响,2022年销售额滑至不足20亿元,在造影剂市场品种排名中下跌至第二。

截图来源:药融云全国医院销售数据库
目前,国内共有8家药企拥有碘克沙醇注射液生产批文,分别为GE Healthcare AS、北陆药业、恒瑞医药、正大天晴、扬子江药业、南京正大天晴、司太立制药、倍特药业。其中,倍特药业刚于上周(2023年5月23日)获得批准,成为该产品国产第7家获批药企。

截图来源:NMPA官网
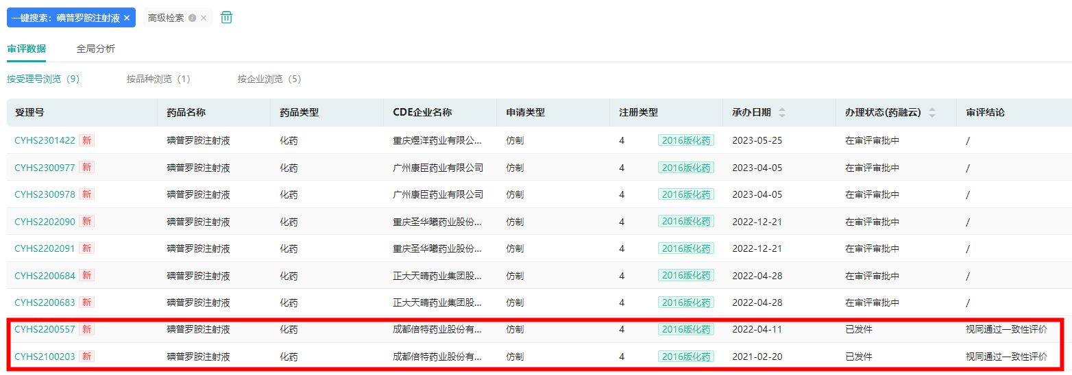
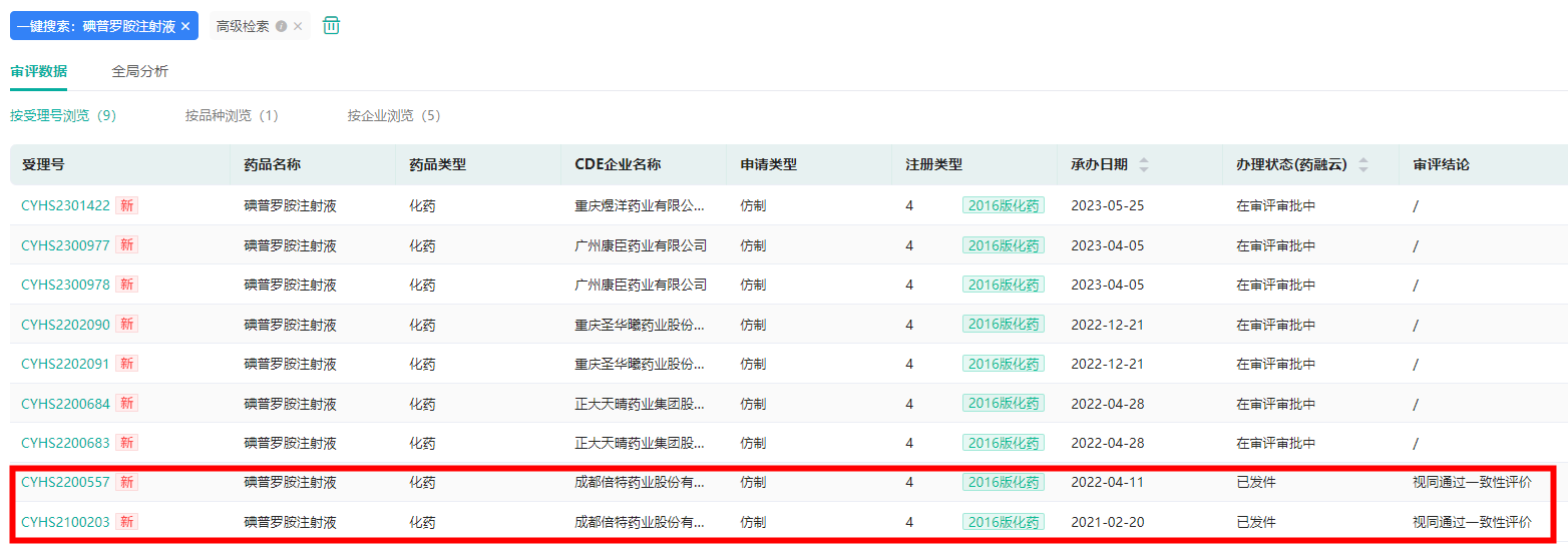
四、碘普罗胺注射液:拜耳原研13亿品种,多家药企抢国产第2家
碘普罗胺注射液是一种非离子、水溶性、三碘化的X射线造影剂,用于血管内给药。据药融云数据,碘普罗胺注射液2022年院内销售额近13亿元,该造影剂市场由原研拜耳一家独享。
经药融云中国药品审评数据库查询显示,今年2月,成都倍特率先获批生产碘普罗胺注射液,视同通过一致性评价,同时斩获“国内首仿药+首家过评”。除此之外,还有广州康臣药业、重庆圣华曦药业、正大天晴药业、重庆煜洋药业/重庆圣华曦药业等药企也递交了仿制上市申请,尚在审评审批中。

截图来源:药融云中国药品审评数据库
想要解锁更多药物销售情况吗?查询药融云数据库(vip.pharnexcloud.com/?zmt-mhwz)掌握药物全国医院和零售药店年度/季度销售趋势、药物/活性成分排行榜、生产企业排行榜、给药途径/ATC分类销售额占比等更多全局分析,以及帮助企业抉择可否投入时提供数据参考!!注册立享15天免费试用!

<END>








川公网安备51019002008863号
本网站未发布麻醉药品、精神药品、医疗用毒性药品、放射性药品、戒毒药品和医疗机构制剂的产品信息
收藏
登录后参与评论
暂无评论