
在瞬息万变的医药行业,精准数据是决策的核心。为了帮助医药企业加速创新、提高效率,摩熵数科(原药融云品牌)迎来了品牌升级的里程碑时刻,并借此契机,将隆重推出倾力打造的“流行病学数据库”。
流行病学数据库以人工智能和大数据挖掘技术为驱动,汇集全球顶尖数据资源,成为行业用户药物研发立项和市场战略优化的强大助力。
一、精准流行病学数据,驱动医药研发与市场战略
我们的数据库整合了来自WHO、GLOBOCAN、GBD、中国卫生统计年鉴、医药文献、公共卫生机构报告等全球权威流行病学数据源,覆盖1298种疾病及损伤和相关亚组人群,提供近30年的疾病流行趋势分析,帮助行业用户轻松掌握全球疾病分布情况,为公共卫生健康部门决策提供参考,辅助医药企业研发立项决策。我们的数据库包含“疾病列表”、“图表分析”、“疾病监测”三大子版块,涵盖多疾病流病数据列表、单疾病流病分析和疾病分布监测三大功能。

二、流行病学数据库亮点
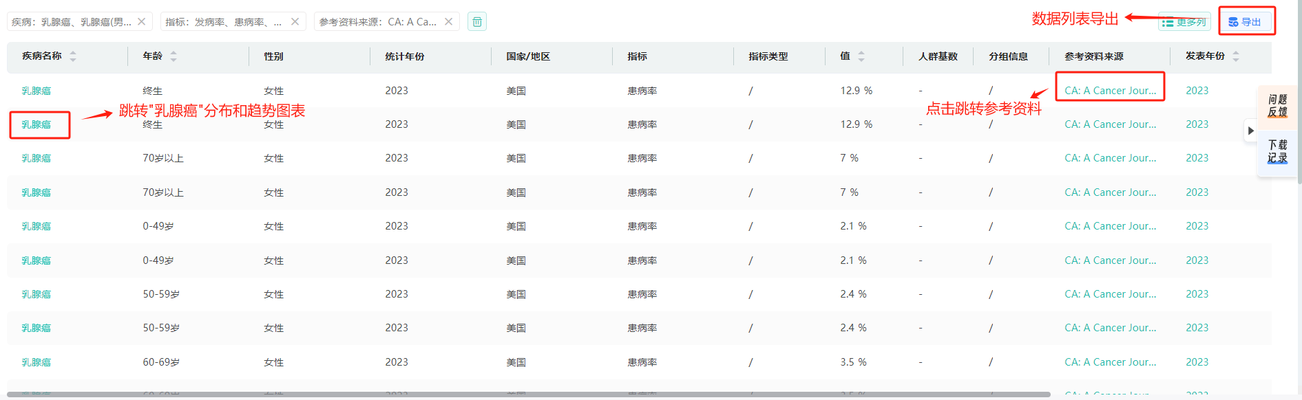
1. 疾病列表-数据信息简洁明了,快速获取关键指标数据
以「乳腺癌」为例,疾病输入或选择乳腺癌,点击确定获取关于乳腺癌的流病数据列表。

支持对“指标”、“国家/地区”、“参考资料来源”、“发表年份”、“性别”、“年龄”进一步选择。

支持数据列表的导出、一键跳转疾病流行趋势和分布分析图、查阅数据来源资料。

2. 图表分析-数据可视化,对比和趋势分析更加直观,提升数据理解效率
以「乳腺癌」为例,疾病选择“乳腺癌”,指标选择“发病数”,国家地区选择“全球”。

【国家/地区分布图】全球疾病负担估计,2021年全球乳腺癌发病top10的国家如下图所示,中国排名第5位。

【国家/地区热图】GBD 2012-2019年乳腺癌发病数top10的国家/地区热图,如下图所示,可见中美乳腺癌发病数远高于其他国家或地区。

【逐年趋势图】GBD 2011-2021年全球乳腺癌发病数逐年上升。

【年龄趋势图】GBD 2021年数据显示,全球乳腺癌高发年龄在60岁左右。

【性别趋势图】GBD2021年数据显示,全球乳腺癌发病数女性高于男性。

所有图表均支持“年份”、“性别”、“年龄”、“数据来源”、“展示形式”选择,以及图表数据导出。

3. 疾病监测-实时追踪疾病流行动态,及时优化企业资源资源分配

【全国法定传染病图】提供我国法定甲乙丙类传染病,全国及各省级月度发病和死亡数:

【疾病热图】我国2011-2021年所有疾病发病情况如下图所示,可见传染病、呼吸系统疾病比其他类型疾病更加常见,非传染病中胃肠道疾病和口腔疾病较为多发。

【排名趋势图】根据GBD数据显示,我国2021年疾病发病数排名如下图所示,腹泻、covid-19、细菌性皮肤病发病数排前三。

Global Cancer数据显示,我国2022年气管、支气管和肺癌发病数最高。

【数据库申请试用方式】
方式一:官网注册申请
申请试用地址: https://vip.pharnexcloud.com/database/epidemiology?auto=1
方式二:二维码申请试用

扫码填写相关信息,即可申请数据库试用。
三、摩熵咨询,为生命科学领域提供市场洞察解决方案
摩熵咨询(原药融咨询)是摩熵数科旗下生物医药专业咨询服务品牌,依托摩熵数科全面的医药全产业链数据库,为客户提供产品立项评估及管线规划、产业/行业调研、数据定制、市场洞察等专业咨询服务和定制化解决方案。
摩熵咨询依托【流行病学数据库】全疾病流行病学数据,提供一系列流行病学咨询服务,帮助药企更好地理解疾病流行情况、优化药物研发和市场推广策略。
应用场景示例:
1. 疾病亚型负担分析
· 服务内容:帮助制药公司评估目标疾病亚型的全球或地区性负担,包括患病率、发病率、死亡率、致残调整生命年(DALYs)、健康寿命损失年(YLLs)等。
· 应用场景:药企可以通过了解特定疾病不同亚型在不同地区或人群中的负担来确定药物研发的优先级、市场规模和潜在的社会经济影响。
2. 疾病预测模型与趋势分析
· 服务内容:构建基于流行病学数据的数学模型,预测疾病的未来发展趋势,模拟不同干预措施(如疫苗、药物)的影响,预测未来的疾病负担。
· 应用场景:帮助药企预测疾病的潜在市场规模,规划长期研发和市场战略,并针对新药物的潜在疗效进行情景分析。
3. 市场准入与药物经济学分析
· 服务内容:通过对样本医院患者诊疗及费用数据,帮助药企开展基于真实世界数据的流行病学研究,探索药物的长期安全性、有效性和不同人群中的适用性。
· 应用场景:药企可以通过这些研究支持药物的上市后安全性监测,验证临床试验的结果,并进一步了解药物在不同患者群体中的表现。
4. 患者队列研究与真实世界证据(RWE)分析
· 服务内容:通过对样本医院患者诊疗及费用数据,帮助药企开展基于真实世界数据的流行病学研究,探索药物的长期安全性、有效性和不同人群中的适用性。
· 应用场景:药企可以通过这些研究支持药物的上市后安全性监测,验证临床试验的结果,并进一步了解药物在不同患者群体中的表现。
5. 药物上市后流行病学研究
· 服务内容:帮助药企开展药物上市后的流行病学研究,如安全性监测、药物使用情况分析以及患者长期随访研究。
· 应用场景:药物上市后的研究可用于评估药物在真实世界中的效果和安全性,帮助药企满足监管要求并优化市场策略。
<END>
想要解锁更多药物研发信息吗?查询摩熵医药(原药融云)数据库(vip.pharnexcloud.com/?zmt-mhwz)掌握药物基本信息、市场竞争格局、销售情况与各维度分析、药企研发进展、临床试验情况、申报审批情况、各国上市情况、最新市场动态、市场规模与前景等,以及帮助企业抉择可否投入时提供数据参考!注册立享15天免费试用!








川公网安备51019002008863号
本网站未发布麻醉药品、精神药品、医疗用毒性药品、放射性药品、戒毒药品和医疗机构制剂的产品信息
收藏
登录后参与评论
暂无评论