
创新药研发在提升医疗水平、促进社会发展等方面具有重要意义。随着科技的进步,如分子诊断、基因编辑和新型药物输送系统等关键技术的发展,创新药研发的效率和成功率得到了显著提高。
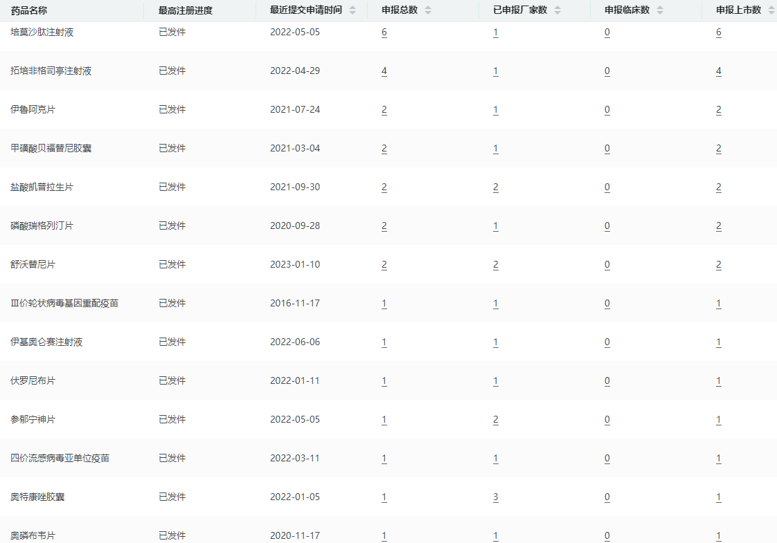
据药融云中国药品审评数据库统计,截至目前,2023年我国共批准了28款创新药上市,其中进口药物有2款,包括恒瑞医药/美国Mycovia的奥特康唑胶囊、武田制药的琥珀酸莫博赛替尼胶囊;国产药物有26款,涉及我武生物、贝达药业、恒瑞医药、迪哲医药、海正生物等32家企业。
2023年获批上市的创新药品种


图片来源:药融云中国药品审评数据库
从药物类型来看,包括14款化学药品、13款生物制品和1款中药。据药融云数据库统计,2019年NMPA共批准了12款新药,2020年共批准了16款新药,2021年批准了39款新药,2022年批准了19款新药。
相较之下,截至目前2023年上市的1类新药数量已经超过了2022年全年获批上市的1类新药。此外,还有18款1类新药的上市申请处于在审评审批阶段,期待今年上市的新药数量再创新高。
而中药研发创新也是我国医药行业发展的重要组成部分,对于提升我国药品研发整体水平、推动中医药传承创新都具有重要的意义。中药研发创新为我国中医药的传承创新提供了新的动力。
据药融云数据库统计,2016年以来,国家药品监督管理局共批准了34个中药新药,包括1类中药13款、3类中药3款、5类中药6款、6类中药12款;其中,仅2021年就批准了12个,中药新药获批数量首次突破两位数。
中药新药获批年度趋势

图片来源:药融云中国药品审评数据库
其中,从申报企业维度来看,2016年后中药新药获批上市的TOP10企业中,康缘药业与以岭药业均获批3款中药创新药。
康缘药业获批的3款中药是筋骨止痛凝胶、苓桂术甘颗粒、银翘清热片,以岭药业获批的是益智安神片、苏夏解郁除烦胶囊、连花清咳片。
上市中药新药申报企业TOP10

图片来源:药融云中国药品审评数据库
作为国内中药创新领军企业,康缘药业近几年每年均有中药新药获批上市的态势。2020年4月9日,筋骨止痛凝胶获批上市,成为国内近10年以来获批的唯一一个创新中药骨伤类凝胶剂,是用于治疗膝骨关节炎的专病专药。
2020年12月,筋骨止痛凝胶通过医保谈判纳入国家医保目录。药融云全国医院销售(全终端)数据库显示,2022年医院终端市场筋骨止痛凝胶的销售额接近4000万元,同比增长621.04%。

图片来源:药融云全国医院销售(全终端)数据库
康缘药业的银翘清热片于2021年11月获批上市,也是自2020年7月1日新的中药注册分类实施以来,首个获批上市的1.1类中药新药,具有祛风清热,发表解肌,清泻肺热,利咽止痛,泻火解毒,止咳化痰的治疗作用。目前已进入最新版的2022年版国家医保药品目录。
除了银翘清热片以外,康缘药业还相继收获了3.2类中药新药散寒化湿颗粒(用于寒湿郁肺所致疫病)、3.1类中药新药苓桂术甘颗粒(用于中阳不足之痰饮)2款呼吸系统疾病中成药。
长期以来,以岭药业重点布局中医药板块,拥有莲花清瘟胶囊/颗粒、通心络胶囊、参松养心胶囊等明星单品。药融云数据库显示,2022年在医院终端市场以岭药业的连花清咳片销售额为6494.19万元,同比增长241.4%。

图片来源:药融云全国医院销售(全终端)数据库
目前,以岭药业于2021年获批的解郁除烦胶囊和益肾养心安神片已通过医保谈判进入国家医保目录,有望实现快速放量。
政策利好不断的背景下,国内医药企业创新研发热情高涨,在新药创新研发上持续下功夫。除了批准数量的增加,新药的创新水平也得到了大幅提升。然而,新药的研发仍面临着投入大、周期长等挑战。未来,需要进一步加强研发投入,完善创新药研发的产业链,以应对日益增长的医疗需求和挑战。
<END>
要解锁更多企业药品研发信息吗?查询药融云数据库(vip.pharnexcloud.com/?zmt-mhwz)掌握药品各国上市情况、药品批文信息、销售情况与各维度分析、市场竞争格局、一致性评价情况、集采中标情况、药企申报审批信息、最新动态与前景等,以及帮助企业抉择可否投入时提供数据参考!注册立享15天免费试用!








浙公网安备33011002015279
本网站未发布麻醉药品、精神药品、医疗用毒性药品、放射性药品、戒毒药品和医疗机构制剂的产品信息
收藏
登录后参与评论
暂无评论