
近日,据NMPA官网公示,正大天晴药业的4类仿制药碘普罗胺注射液获批上市并视同过评,成为国产第2家。据药融云数据统计,正大天晴已有3款造影剂获批。

截图来源:NMPA
碘普罗胺注射液原研厂家为拜耳,是一种非离子、水溶性、三碘化的X射线造影剂,用于血管内给药。血管内注射碘普罗胺注射液,造影剂流动路径中的血管变得混浊,允许内部结构放射成像可视化,直至低于一定浓度(不可成像)。据药融云数据统计,碘普罗胺注射液在2022年全国院内市场销售超12亿元,进入2023年,其市场表现依旧抢眼,2023年全国院内(数据截至2023年Q3)销售额达12.08亿元。

截图来源:药融云全国医院销售数据库
此前,该品种仅倍特药业一家获批上市,并斩获国内首仿。而此次,正大天晴的碘普罗胺注射液获批上市,成为国产第2家。

截图来源:药融云过评药品汇总数据库
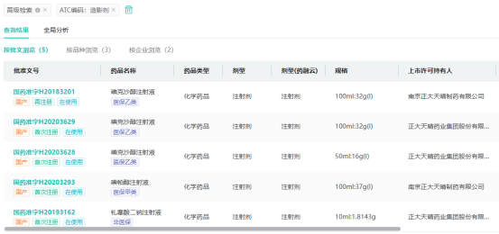
近年来,正大天晴在造影剂领域展现出强劲的发展势头,频频发力并取得显著成果。据药融云数据显示,目前正大天晴已有3款造影剂成功获批。其中,钆塞酸二钠注射液于2019年6月获批,斩获国内首仿;紧接着,2020年第2款造影剂--碘克沙醇注射液也顺利获批,为国产第6家。此次,碘普罗胺注射液的获批上市,无疑将进一步巩固并提升正大天晴在造影剂领域的市场地位与竞争力。

截图来源:药融云中国药品批文数据库
2024年至今,正大天晴已提交了吸入用盐酸溴己新溶液、注射用醋酸地加瑞克、达格列净二甲双胍缓释片等16个品种的仿制申请,均在审评审批中。在造影剂仿制药布局方面,正大天晴还提交了钆特醇注射液的上市申请,在审评审批中,若顺利获批,有望成为国产第2家。
<END>
要解锁更多企业药品研发信息吗?查询药融云数据库(vip.pharnexcloud.com/?zmt-mhwz)掌握药品各国上市情况、药品批文信息、销售情况与各维度分析、市场竞争格局、一致性评价情况、集采中标情况、药企申报审批信息、最新动态与前景等,以及帮助企业抉择可否投入时提供数据参考!注册立享15天免费试用!








川公网安备51019002008863号
本网站未发布麻醉药品、精神药品、医疗用毒性药品、放射性药品、戒毒药品和医疗机构制剂的产品信息
收藏
登录后参与评论
暂无评论