
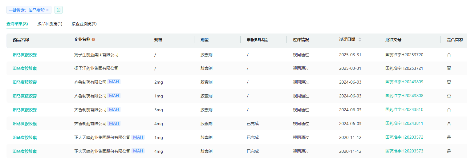
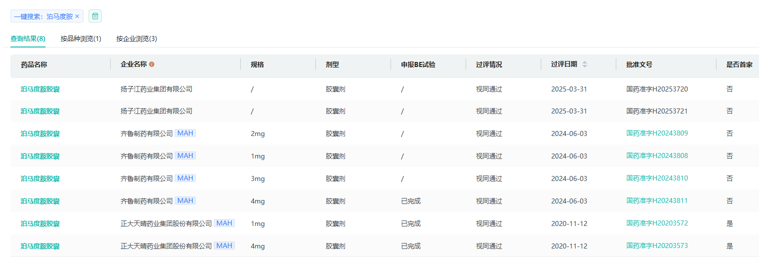
3月31日,据NMPA官网显示,扬子江药业提交的3类仿制药泊马度胺胶囊上市申请已获批准并视同通过一致性评价。据摩熵医药数据库显示,此次获批包括1mg、4mg两个规格,扬子江药业成为国内第三家获批该品种的企业,此前获批企业包括正大天晴(首仿)和齐鲁制药。

截图来源:NMPA
泊马度胺是一种沙利度胺类似物,具有直接的细胞毒性和免疫调节作用,能抑制血液肿瘤细胞增殖,诱导其凋亡,临床上主要用于血液肿瘤的治疗。相比于沙利度胺,泊马度胺具有更强的抗多发性骨髓瘤活性和相似的安全性。
这款药物由百时美施贵宝旗下新基制药研发,于2013年2月获FDA批准上市,同年8月欧盟获批。泊马度胺首发适应症为已经接受至少两种疗法并在最后一次治疗期间或治疗结束后60天内发生疾病进展的多发性骨髓瘤,2020年5月在美国扩展新适应症,用于治疗卡波西肉瘤。
疗效强、安全性佳、适应症拓展使得泊马度胺上市后全球销售额一路攀升。据摩熵医药全球药物研发数据库显示,2014-2023年泊马度胺全球销售额快速增长,从6.8亿美元增长至34.4亿美元。
值得一提的是,泊马度胺为多发性骨髓瘤第三代免疫调节剂,第一代药物为沙利度胺,第二代药物为来那度胺。第二代药物来那度胺在市场上的表现颇为亮眼,2020年全球销售额首次突破100亿美元,2021年达到峰值128.9亿美元,跻身“全球超级重磅炸弹”药物。

截图来源:摩熵医药全球药物研发数据库
不过,泊马度胺原研产品并未在国内获批上市。据摩熵医药中国药品审评数据库显示,2022年6月,原研百时美施贵宝/新基提交了泊马度胺胶囊上市申请,2023年1月,国家药监局发布通知,该药上市申请未被批准。

截图来源:摩熵医药中国药品审评数据库
优异的全球市场销售表现吸引了国内药企争相布局。据摩熵医药数据库显示,国内泊马度胺胶囊仿制药视同过评的企业有三家,正大天晴于2020年11月拿下首仿+首家过评,2021年顺利进入医保,后续成功续约2022年版、2023年版、2024年版医保。
齐鲁制药为第二家获批并视同过评的企业,于2024年6月获批,此次扬子江药业成功拿下国内第三家。

截图来源:摩熵医药过评药品汇总数据库
参考来源:
[1] NMPA官网
[2] 摩熵医药(原药融云)数据库
想要解锁更多药物研发信息吗?查询摩熵医药(原药融云)数据库(vip.pharnexcloud.com/?zmt-mhwz)掌握药物基本信息、市场竞争格局、销售情况与各维度分析、药企研发进展、临床试验情况、申报审批情况、各国上市情况、最新市场动态、市场规模与前景等,以及帮助企业抉择可否投入时提供数据参考!注册立享15天免费试用!








川公网安备51019002008863号
本网站未发布麻醉药品、精神药品、医疗用毒性药品、放射性药品、戒毒药品和医疗机构制剂的产品信息
收藏
登录后参与评论
暂无评论