CDK4/6抑制剂一向是乳腺癌治疗领域的热门研究方向,今年起,国内这一赛道竞争格局将发生较大变化。
随着诺华的瑞波西利于今年1月获NMPA批准上市,国内CDK4/6抑制剂治疗乳腺癌领域也形成了"3+1"的市场竞争格局(3款进口药品+1款国产药),除瑞波西利外的三款药物均已进入医保。
值得注意的是,辉瑞的$50亿品种哌柏西利今年院内销售额大幅下滑,同时在国内的专利将于今年到期,届时齐鲁制药、瀚森制药等6家药企获批的仿制药将正式杀入这一市场。
此外,正大天晴、四环制药、贝达药业等6家药企的CDK4/6抑制剂针对乳腺癌的研究也已陆续迈入临床III期阶段,离上市仅几步之遥。CDK4/6抑制剂这一热门赛道,未来竞争格局如何,实属难料。
一、CDK4/6抑制剂——乳腺癌治疗最热赛道,国内“3+1”竞争格局
乳腺癌已经取代肺癌,成为全球第一大癌症。据世界卫生组织统计,2020年,全球乳腺癌新发病例高达226万例,超过了第二大癌症——肺癌的220万例。在中国,2020年42万例的乳腺癌新发病例占据了女性新发癌症病例数的五分之一,位居女性高发癌症首位。2020年有12万女性因乳腺癌死亡。
乳腺癌是全球发病率第一的肿瘤,其内分泌治疗的不良反应比化疗少,疗效持久,从最早的三苯氧胺到氟维司群,再到CDK4/6(细胞周期蛋白依赖性激酶)抑制剂,治疗效果不断增加。CDK4/6抑制剂改变了HR+/HER2-乳腺癌患者的治疗结局,可以有效克服或延迟内分泌抵抗的出现,为患者争取更长的生存时间。
1月19日,诺华的琥珀酸瑞波西利片获国家药监局(NMPA)批准上市,商品名:凯丽隆®。瑞波西利与芳香化酶抑制剂联合用药,作为激素受体(HR)阳性、人表皮生长因子受体2(HER2)阴性(HR+/HER2-)局部晚期或转移性乳腺癌绝经前或围绝经期女性患者的初始内分泌治疗,使用内分泌疗法治疗时应联用黄体生成素释放激素(LHRH)激动剂。这是国内首个且目前唯一被批准用于绝经前/围绝经期乳腺癌患者初始治疗的CDK4/6抑制剂(《5款重磅新药获批上市,罗氏、诺华、百克为国内患者带来福音!》)。
随着瑞波西利获批上市,国内CDK4/6抑制剂治疗乳腺癌领域也形成了3款进口药品+1款国产药的竞争格局。经药融云数据库查询显示,除诺华的瑞波西利以外,辉瑞的哌柏西利胶囊/片、礼来的阿贝西利片分别于2018年、2020年在国内获批;2021年12月,恒瑞医药的羟乙磺酸达尔西利片也作为1类新药获批(另有先声药业引进的CDK4/6抑制剂曲拉西利于2022年获批,用于广泛期小细胞肺癌患者在化疗前使用,降低化疗引起的骨髓抑制发生率,此处不纳入统计中)。其中,哌柏西利已有多个仿制药获批上市。
国内已上市CDK4/6抑制剂

截图来源:药融云中国药品批文数据库
这4款CDK4/6抑制剂中,除了最新获批的瑞波西利,其余3款均已纳入医保:阿贝西利片率先于2021年12月进入国家医保,哌柏西利胶囊、羟乙磺酸达尔西利片也在今年年初通过医保谈判。
二、哌柏西利市场缩水30%,面临3大挑战
据药融云统计,2022年前三季度国内CDK4/6抑制剂的院内销售额已超3亿元,同比增长393%。不过,最先在国内上市的哌柏西利市场表现却与之相反,2022年前三季度院内销售额下滑30%,市场占比由2021年的95%缩水至14%,其在CDK4/6抑制剂市场的领军位置已经被阿贝西利大举反超,后者2022年前三季度市场份额达85%。

截图来源:药融云全国医院销售数据库
之所以如此,大概率是由于哌柏西利进入医保时间较晚,同时其适应症覆盖较阿贝西利少。不仅如此,2021年9月,诺华宣布与SOLTI创新癌症研究中心合作展开一项名为HARMONIA的国际多中心、随机、开放、III期研究。诺华官网称,该研究是首个在RNA水平检测招募特定肿瘤分子亚型患者的前瞻性 III期试验,也是首个直接比较瑞波西利与哌柏西利在HR+/HER2-晚期乳腺癌患者治疗中的头对头研究。
这意味着,辉瑞的哌柏西利若想在CDK4/6抑制剂市场上争取更多地位,在适应症方面的研究,还需要更进一步。
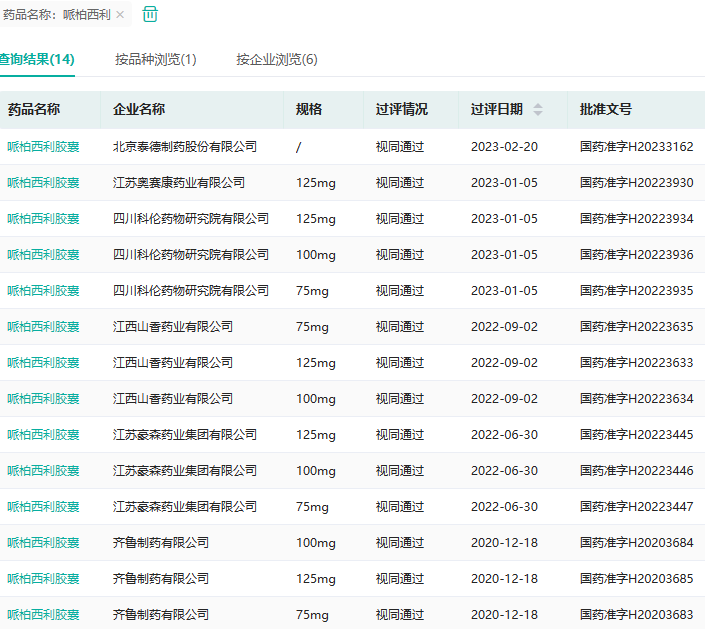
另一方面,哌柏西利在国内的专利将于今年到期,大批已获批的仿制药将正式杀入这一市场。据药融云数据库,齐鲁制药、瀚森制药、青峰医药、科伦药业、奥赛康、泰德制药等6家药企均有哌柏西利仿制药获批(《$50亿乳腺癌明星药!辉瑞CDK4/6抑制剂市场迎巨变,5家药企已入场》)。
哌柏西利过评概况

截图来源:药融云过评药品汇总数据
三、6款新药进入III期,来自正大天晴、四环制药……
据药融云数据库,目前国内有6款CDK4/6抑制剂已迈入临床III期阶段,距离上市不远了。分别有正大天晴的TQB-3616,四环制药的吡罗西尼片(XZP-3287)、嘉和生物的GB491、复创医药的FCN-437c胶囊、必贝特医药的BEBT-209胶囊和贝达药业的BPI-16350胶囊。试验概况见下表。

数据来源:药融云中国临床试验数据库
想要解锁更多药物靶点信息吗?查询药融云数据库(vip.pharnexcloud.com/?zmt-mhwz)掌握各药物靶点药物基本信息、上市药物情况、销售情况与各维度分析、药企药物研发进展、市场规模与前景等,以及帮助企业抉择可否投入时提供数据参考!!注册立享15天免费试用!

<END>








川公网安备51019002008863号
本网站未发布麻醉药品、精神药品、医疗用毒性药品、放射性药品、戒毒药品和医疗机构制剂的产品信息
收藏
登录后参与评论
暂无评论