
了解最新医药动态,监测仿制药/生物类似物注册申报详情,洞察最新医药行业发展方向,尽在《药融云医药行业观察周报》。
根据药融云数据统计,2023.08.21-2023.08.27 期间共有 100 项仿制药注册申请获 CDE 承办,其中新注册分类上市申请受理号 79 项(包括化药 3 类,4 类,5.2 类),新注册分类临床申请受理号 5 项(包括化药3 类),一致性评价申请受理号 16 项;共 12 个品种通过一致性评价仿制药(按受理号计 20 项),6 个品种视同通过一致性评价(按受理号计 13 项)。本周无生物类似物注册申报动态。
通过一致性评价全局分析
过评品种主要为系统用抗感染药,占比为11.55%,其次是心血管系统用药、血液和造血系统用药、消化系统与代谢药,占比为3.15%。过评产品剂型主要为注射剂,占比18.9%还包括胶囊剂(占比1.5%)和片剂(占比1.5%)。

图片来源:《药融云医药行业观察周报》
本周过评受理号数量最多的品种为注射用头孢呋辛钠和注射用氨苄西林钠;本周过评企业有金鸿药业、苏州二叶制药、杭州中美华东制药和湖南尔康制药等 12 家企业。

图片来源:《药融云医药行业观察周报》
众多药企布局两大广谱注射液品种
注射用头孢呋辛钠是医保甲类品种,为广谱的第二代头孢菌素,其作用机理是通过结合细菌蛋白,从而抑制细菌细胞壁的合成。适用于由特定微生物敏感菌株引起的呼吸道感染、耳鼻喉感染、泌尿系感染、皮肤和软组织感染、败血症、脑膜炎、淋病、骨和关节感染、产褥期和妇科感染等疾病。
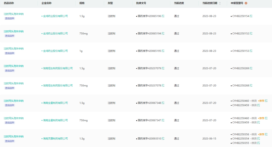
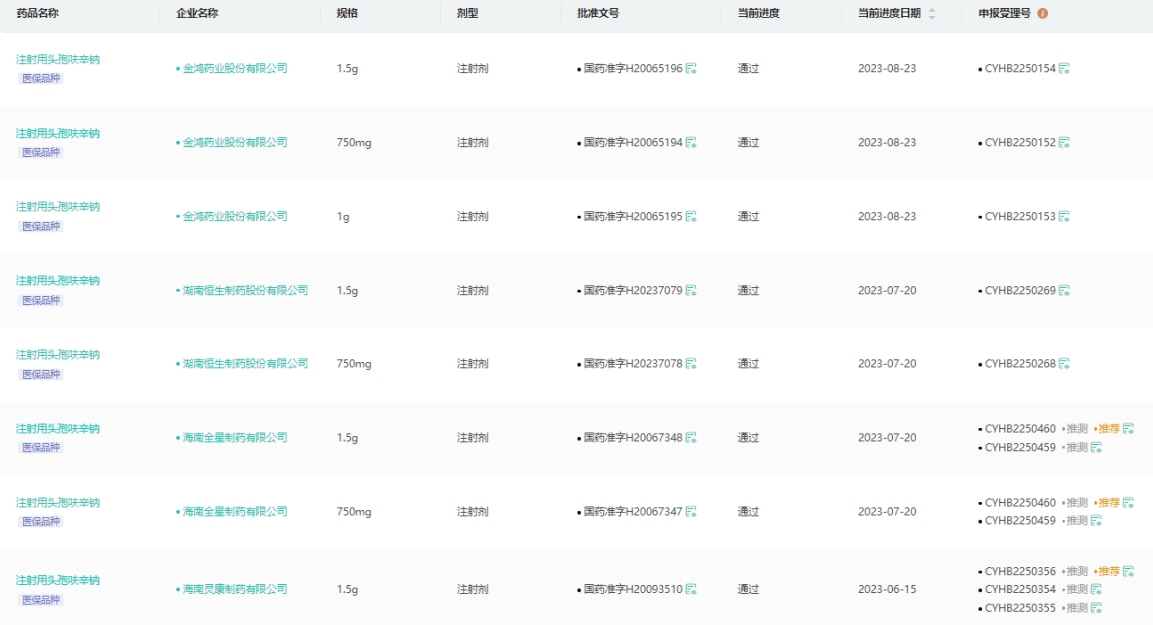
据药融云数据库显示,目前国内已有107家企业拥有注射用头孢呋辛钠批文,包括湖南科伦制药、海南灵康制药、丽珠集团、广州白云山医药、国药集团国瑞药业等。截至目前,通过一致性评价的有24家药企,涉及11个品规。其首家过评企业是浙江惠迪森药业。
注射用头孢呋辛钠过评企业查询(部分)

数据来源:药融云一致性评价数据库
药融云全国医院销售数据库显示,2022年注射用头孢呋辛钠的销售额近21亿元,山东润泽制药、白云山天心制药、浙江惠迪森药业的市场份额位居前三。

数据来源:药融云全国医院销售数据库
注射用氨苄西林钠是国家基药及医药甲类品种。氨苄西林为半合成的广谱青霉素,抗菌机制是阻止细菌的细胞壁合成,而且能直接杀灭细菌,作为第三代半合成青霉素具有高效、广谱、耐酸的特点。注射用氨苄西林钠适用于敏感菌所致的呼吸道感染、胃肠道感染、尿路感染、软组织感染、心内膜炎、脑膜炎、败血症等。
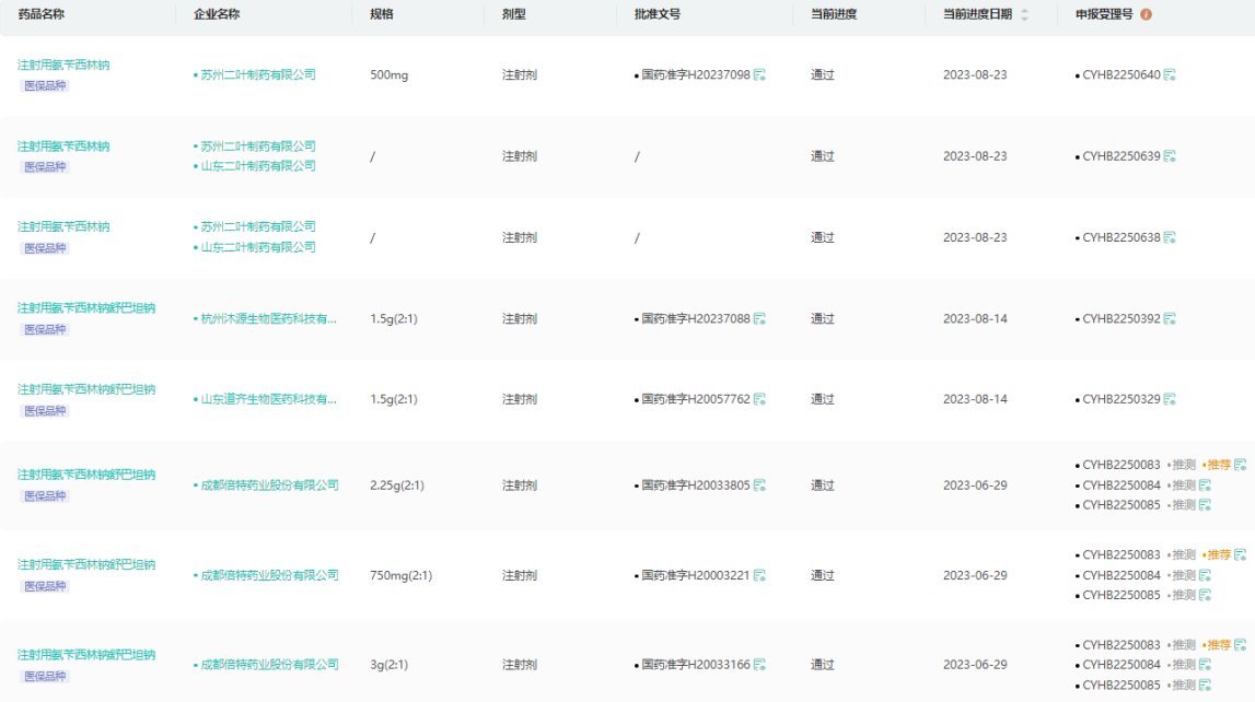
据药融云数据库显示,目前国内已有89家企业拥有注射用氨苄西林钠批文,包括苏州二叶制药有限公司、福安药业集团庆余堂制药有限公司、成都第一制药有限公司、哈药集团制药总厂、上海上药新亚药业有限公司等。通过一致性评价有9家公司,成都倍特药业、海南通用三洋药业、山东鲁抗医药、湖南科伦制药、山东二叶制药等。
注射用氨苄西林钠过评企业查询(部分)

数据来源:药融云一致性评价数据库
视同通过一致性评价全局分析
其中视同通过的品种主要为心血管系统用药,共计占比约为 46.2%,还包括神经系统用药、皮肤病用药和系统用抗感染药等 5 大治疗领域;本周视同通过的剂型主要为片剂,还包括注射剂、软膏剂和口服液体剂等 4 种剂型。
从品种层面来看,本周共过评6个品种,其中沙库巴曲缬沙坦钠片为受理号数量最多的品种,也是过评企业最多的品种,共有 2 家企业过评,分别为南京一心和医药科技和石药集团欧意药业,吡拉西坦注射液和他克莫司软膏紧随其后。
从企业层面来看,视同通过的企业共包括南京一心和医药科技、石药集团欧意药业、海南全星制药和杭州中美华东制药等 7 家企业。其中,沙库巴曲缬沙坦钠首仿之争落下帷幕,石药欧意、南京一心和同日获批。

图片来源:《药融云医药行业观察周报》
沙库巴曲缬沙坦钠片——心衰患者的福音
沙库巴曲缬沙坦钠片含有脑啡肽酶抑制剂沙库巴曲和血管紧张素受体拮抗剂缬沙坦。通过LBQ657(前药沙库巴曲的活性代谢产物)抑制脑啡肽酶(中性肽链内切酶;NEP),同时通过缬沙坦阻断血管紧张素Ⅱ的1型受体(AT1)。用于射血分数降低的慢性心力衰竭(NYHAⅡ-V级,LVEF≤40%)成人患者,降低心血管死亡和心力衰竭住院的风险。沙库巴曲缬沙坦钠片是全球首个ARNI类心衰新药。
据药融云全国医院(全终端)销售数据显示,2022年沙库巴曲缬沙坦钠片的销售额为21.41亿元人民币,目前国内仅有石药欧意、南京一心和两家药企视同通过一致性评价。沙库巴曲缬沙坦钠片原研由诺华开发,商品名为诺欣妥。

数据来源:药融云全国医院(全终端)销售数据库
<END>
想要获取《药融云医药行业观察周报》完整报告内容,请关注“药融云”公众号,后台回复“报告”关键词进行领取;或者前往药融云“药融文库”网站【原创报告】栏目进行全文下载。








川公网安备51019002008863号
本网站未发布麻醉药品、精神药品、医疗用毒性药品、放射性药品、戒毒药品和医疗机构制剂的产品信息
收藏
登录后参与评论
暂无评论