
近日,据CDE官网显示,恒瑞医药子公司盛迪医药降糖复方制剂HR20031片CXHS2300099/CXHS2300100递交上市申请并获受理。

截图来源:CDE官网
HR20031片是一款由恒格列净、瑞格列汀和二甲双胍组成的固定剂量复方缓释制剂,拟每日一次口服用于治疗经二甲双胍治疗后血糖仍控制不佳的2型糖尿病。HR20031片有望通过三种不同作用机制达到更好的降血糖作用。
猛攻300亿糖尿病市场!
中国是“糖尿病大国”,有超过1.4亿糖尿病人群,其中约7283万例糖尿病患者尚未被确诊,且由于糖尿病需要终生服药,所以治疗药物市场坐拥巨大的需求量。据药融云数据库显示,中国糖尿病化学药/生物药院内销售额由2015年219亿元增长到2021年343亿元,年复合增长率为7.99%。

截图来源:药融云全国医药销售数据库
而从企业来看,目前在糖尿病药物领域,国内市场主要还是由诺和诺德、赛诺菲、阿斯利康等跨国药企占领,本土药企则以杭州中美华东制药、甘李药业、通化东宝等领跑。恒瑞医药大力布局糖尿病领域,力求多分多得一席之地,目前可以说已迈出了其糖尿病新药商业化的第一步。
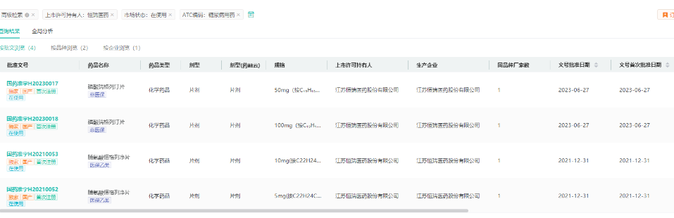
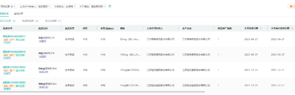
恒瑞已上市的糖尿病用药

数据来源:药融云中国药品批文数据库
据药融云数据库,目前恒瑞医药共有在使用的糖尿病用药相关批文4条,涉及2个品种,其中磷酸瑞格列汀片、脯氨酸恒格列净片为独家新药品种。
17款糖尿病新药布局,成效初显
恒瑞在多个治疗领域均布局有创新药,针对糖尿病的布局也相当广泛,且成效初显。目前已上市的糖尿病新药有2款(SGLT2抑制剂恒格列净和DPP-4抑制剂磷酸瑞格列汀片),新药瑞格列汀二甲双胍片(Ⅰ)/(Ⅱ)、HR20033片、HR20031片正上市在审中,一共三款新药处于申报上市中。另有10余款新药进入临床阶段。
恒瑞主要糖尿病1类新药

数据来源:药融云数据库,企业官网
在生物制剂领域,恒瑞布局了长效胰岛素INS068、GLP-1类似物诺利糖肽;超速效胰岛素HR011408也已迈入I期临床阶段;在如今降糖领域研发热门方向GLP-1/GIP双靶点激动剂方面,恒瑞同样做了布局。
<END>
要解锁更多企业药品研发信息吗?查询药融云数据库(vip.pharnexcloud.com/?zmt-mhwz)掌握药品各国上市情况、药品批文信息、销售情况与各维度分析、市场竞争格局、一致性评价情况、集采中标情况、药企申报审批信息、最新动态与前景等,以及帮助企业抉择可否投入时提供数据参考!注册立享15天免费试用!








川公网安备51019002008863号
本网站未发布麻醉药品、精神药品、医疗用毒性药品、放射性药品、戒毒药品和医疗机构制剂的产品信息
收藏
登录后参与评论
暂无评论