
3月1日,据CDE官网最新公示,重庆华邦制药提交的3类仿制药伊布替尼片上市申请获受理,2025年1月齐鲁制药拿下该品种首仿,暂无第2家药企获批。此次重庆华邦制药若能顺利获批,有望后来者居上,拿下该品种片剂的国产第2家。

截图来源:CDE
伊布替尼由艾伯维的子公司Pharmacyclics和强生共同研发,是全球首个获批的BTK抑制剂。2017年,该药品成功进入中国市场。目前,伊布替尼已被纳入2022版国家医保谈判目录乙类品种。随着新药研发技术的不断进步,新一代的BTK抑制剂相继涌现,这些新药在靶向性、化合物优化以及减少药物间相互作用等方面均取得了显著进展。因此,BTK抑制剂的全球销售额也呈现出快速增长的趋势。据摩熵医药数据库统计,2023年伊布替尼的全球销售额已超68亿美元。

截图来源:摩熵医药全球药物研发数据库
2022年,先声药业成功拿下其伊布替尼胶囊国内首仿资格。目前原研伊布替尼片尚未在国内上市,齐鲁制药于2023年3月完成了生物等效性试验,并紧接着在6月递交了仿制药的上市申请。最终,在2025年1月,齐鲁制药(海南)成功获得了按注册分类3类申报的伊布替尼片的上市批准,成为该剂型国内首仿,并视同通过一致性评价。

截图来源:摩熵医药中国药品批文数据库
目前,国内还有多家药企布局了伊布替尼胶囊仿制药,分别为仁合熙德隆药业、重庆药友制药、南京正大天晴制药、杭州中美华东制药等。而伊布替尼片,仅有湖南科伦制药和重庆华邦制药2家按注册分类3类提交在审中,若重庆华邦制药能顺利获批,有望后来者居上,拿下该品种片剂的国产第2家。
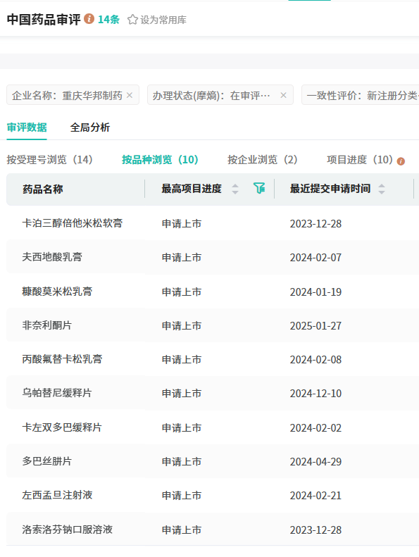
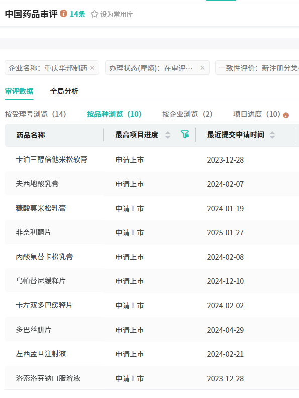
此外,重庆华邦制药(含子公司)还提交了卡泊三醇倍他米松软膏、夫西地酸乳膏、非奈利酮片、左西孟旦注射液等10款品种的仿制申请。

截图来源:摩熵医药中国药品审评数据库
2025年至今,重庆华邦制药(含子公司)有盐酸左西替利嗪口服溶液、盐酸贝尼地平片2款品种迎来过评。








川公网安备51019002008863号
本网站未发布麻醉药品、精神药品、医疗用毒性药品、放射性药品、戒毒药品和医疗机构制剂的产品信息
收藏
登录后参与评论
暂无评论