

恒瑞医药8月19日晚间披露半年报,2022年上半年实现营业收入102.28亿元,同比下降23.08%;净利润21.19亿元,同比下降20.55%。

截图来源:恒瑞医药企业公告
恒瑞医药表示,集采仿制药收入断崖式下跌、多款创新药执行新的医保谈判价格,以及国内疫情使公司产品销售受到冲击,导致公司收入出现较大下滑。
即便如此,恒瑞医药今年的创新步伐依旧坚定,已上市的甲磺酸阿帕替尼、马来酸吡咯替尼、甲苯磺酸瑞马唑仑、卡瑞利珠单抗、氟唑帕利、海曲泊帕乙醇胺、羟乙磺酸达尔西、脯氨酸恒格列净和瑞维鲁胺仍有多个适应症正在开发中,最高已递交NDA。
恒瑞医药(含子公司)已上市创新药后续主要临床研发管线


截图来源:恒瑞医药企业公告
在研新药方面,恒瑞医药有近70款药物正在开展临床试验,其中阿得贝利单抗 、瑞格列汀、HR20033 、SHR8008和SHR8554等创新药已递交NDA。具体详细研发管线如下:
恒瑞医药(含子公司)在研创新药主要临床研发管线





截图来源:恒瑞医药企业公告
仅在8月,恒瑞医药已有4款创新药启动新临床试验。包括注射用HR20013、SHR-1701注射液、注射用HRS-8427和苹果酸法米替尼胶囊。另有HRS-9821吸入混悬液、HRS-5965片和HR20014注射液等3款1类新药获得临床试验默示许可。
注射用HR20013
据药融云中国临床试验数据库显示,8月17日,恒瑞医药的注射用HR20013启动III期临床试验(CTR20222107),以注射用福沙匹坦双葡甲胺联合盐酸帕洛诺司琼为对照,评价注射用HR20013用于预防高致吐性化疗引起恶心呕吐的有效性和安全性。
化疗后的恶心呕吐(CINV)是最常见的化疗不良反应之一,发生率高达60%-80% ,可分为急性、迟发性、预期性、突破性和难治性5类。其中急性 CINV 发生在接受化疗后 24 小时内,延迟性CINV在化疗24小时后发生。CINV会降低患者对治疗的依从性,在身体方面使患者代谢失衡、营养不良、体重减轻,严重影响患者的生活。因此预防化疗后急性和延迟性恶心、呕吐至关重要。
HR20013III期临床试验信息(部分)

截图来源:药融云中国临床试验数据库
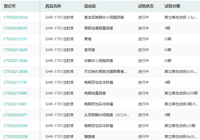
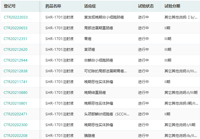
SHR-1701注射液
8月15日,恒瑞医药公示了SHR-1701注射液的Ⅰb/Ⅱ期临床试验,适应症为复发或晚期非小细胞肺癌。据悉,第一阶段(Ⅰb期) 评价阿美替尼联合SHR-1701治疗EGFR突变的复发或晚期非小细胞肺癌患者的耐受性和安全性。第二阶段(II期) 评价阿美替尼联合SHR-1701一线治疗EGFR突变的复发或晚期非小细胞肺癌的有效性。(现仅开展Ib期试验)。
SHR-1701是恒瑞医药自主研发并具有知识产权的抗PD-L1/TGF-βRII双功能融合蛋白,已在中国开展多项实体瘤临床试验,包括SHR-1701单药或联合贝伐珠单抗注射液、苹果酸法米替尼等治疗鼻咽癌、宫颈癌、非鳞非小细胞肺癌、晚期结直肠癌等多个瘤种的临床试验,并在澳洲开展I期临床试验。2020年,恒瑞医药将SHR-1701注射液许可给了韩国东亚公司。
SHR-1701注射液临床试验信息(部分)

截图来源:药融云中国临床试验数据库
注射用HRS-8427
7月25日,恒瑞医药注射用HRS-8427获得临床默示许可,用于尿路感染,这是其首次获批临床(默示许可)。8月15日,注射用HRS-8427便启动并公示了其I期临床试验,研究其在中国健康受试者中单、多次给药的安全性、耐受性及药代动力学。
注射用HRS-8427通过抑制细胞壁的生物合成发挥抑菌杀菌作用,临床前显示其在多个标准菌株和临床分离菌株构建的小鼠感染模型中发挥抗菌药效,安全性良好。国内暂无同类产品获批上市。
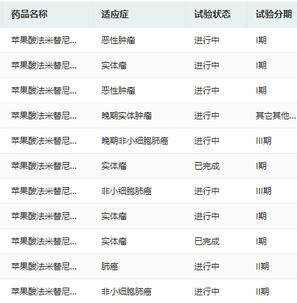
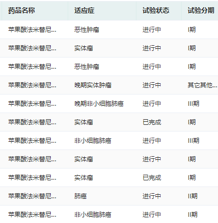
苹果酸法米替尼胶囊
8月10日,恒瑞医药苹果酸法米替尼胶囊又一项临床试验被公示,是[14C]苹果酸法米替尼在中国成年男性健康受试者体内吸收、代谢和排泄的单中心、单剂量、开放的I期临床试验。
此前,苹果酸法米替尼胶囊已开展了多项针对不同适应症的临床试验,其中治疗复发性或转移性非小细胞肺癌、晚期非小细胞肺癌的研究均已到III期临床试验阶段;针对肺癌、晚期实体瘤、晚期泌尿系统肿瘤、妇科肿瘤等癌种的II期临床试验也正在进行中。此外其宫颈癌适应症还于2020年被CDE纳入突破性治疗品种。
苹果酸法米替尼胶囊临床试验信息(部分)

截图来源:药融云中国临床试验数据库
苹果酸法米替尼胶囊是恒瑞医药创新研发的小分子多靶点酪氨酸激酶抑制剂。对多种受体酪氨酸激酶如c-Kit、VEGFR1/2/3、PDGFRα/β、FGFR2/3等有很好的抑制活性,属于多靶点抗血管生成靶向药。目前正在中国及美国开展临床研究。
3款1类新药8月获临床
与此同时,8月至今,恒瑞医药另有HRS-9821吸入混悬液、HRS-5965片和HR20014注射液等3款1类新药获得临床试验默示许可。
8月16日,据CDE官网,恒瑞医药的HRS-9821吸入混悬液获批临床,拟开展用于慢性阻塞性肺疾病维持治疗的研究。这是该品种首次获批临床。
HRS-5965片此次申请的适应症为用于 IgA 肾病、特发性膜性肾病、C3 肾病和狼疮性肾炎等补体参与介导的原发性或继发性肾小球疾病。据恒瑞医药公开资料,HRS-5965可改善免疫复合物沉积导致的肾小球炎症。临床前显示其在大鼠肾炎模型中起到了显著的治疗性作用,安全性良好。经查询,国内暂无同类产品获批上市。
HR20014注射液本次获得药物临床试验批准通知书,同意本品开展糖尿病适应症临床试验。据悉,HR20014 注射液可达到平稳持续的降糖作用,兼顾空腹血糖和餐后血糖控制。经查询,目前暂无国内企业同类产品获批上市。
参考来源:
[1] 恒瑞医药企业公告
[2] 药融云数据库
想要解锁更多药企创新药研发信息吗?查询药融云数据库(https://www.pharnexcloud.com/?zmt-mhwz)掌握药企创新药产品布局、基本信息、研发阶段、最新进展、申报获批情况、临床试验信息、市场规模与前景,可否投入研发!注册立享15天免费试用和虎年首份医药数据大礼包!

—END—







川公网安备51019002008863号
本网站未发布麻醉药品、精神药品、医疗用毒性药品、放射性药品、戒毒药品和医疗机构制剂的产品信息
收藏
登录后参与评论
暂无评论