
近日,据药融云中国药品审评数据库显示,神州细胞自主研发的贝伐珠单抗注射液(商品名:安贝珠)正式获批上市(国药准字S20230035)。
安贝珠是一款重组人源化抗VEGF单克隆抗体注射液,是原研贝伐珠单抗(商品名:Avastin,安维汀)的生物类似药,本次获批的适应症包括转移性结直肠癌,晚期、转移性或复发性非小细胞肺癌,复发性胶质母细胞瘤,肝细胞癌,上皮性卵巢癌、输卵管癌或原发性腹膜癌,宫颈癌。
贝伐珠单抗注射液审评时间轴-总耗时433天

图片来源:药融云中国药品审评数据库
贝伐珠单抗是一种人源化抗VEGF单克隆抗体,是罗氏旗下的全球首个可广泛用于多种瘤的抗血管生成药物,通过阻断VEGF而抑制肿瘤的血管新生,切断肿瘤区域的供血,抑制肿瘤的生长和转移,从而产生抗肿瘤作用。于2004年2月获FDA批准上市,后于2010年2月获准进入中国市场,并于2017年被纳入国家医保目录乙类范围。
自2004年上市以来,贝伐珠单抗已在全球范围内获批治疗结直肠癌、乳腺癌、脑癌(胶质母细胞瘤)、肾癌、宫颈癌、卵巢癌、非鳞状非小细胞肺癌等多种癌症。因在治疗癌症方面显著的疗效和良好的安全性,也使它成为了很多企业开发生物类似药的对象。
一、“国产替代”加速狂飙,第十款国产贝伐珠单抗获批上市!
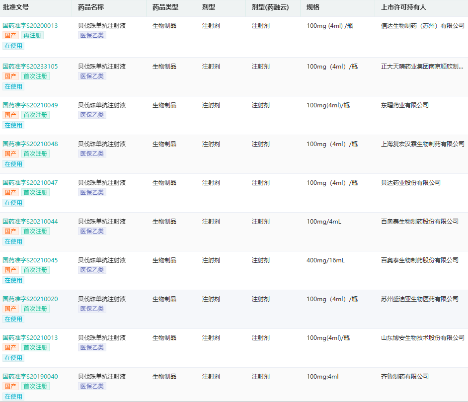
药融云中国药品批文数据库显示,神州细胞的贝伐珠单抗注射液,是第十款获批上市的国产贝伐珠单抗。除此之外,前九款国产贝伐珠单抗的生产企业(按获批上市时间先后进行排序)分别是:齐鲁制药、信达生物、博安生物/绿叶制药、盛迪亚生物(恒瑞医药全资子公司)、百奥泰、海正生物/贝达药业、复宏汉霖、东曜药业、正大天晴。
国产贝伐珠单抗注射液生产批文查询

图片来源:药融云中国药品批文数据库
2019年12月,齐鲁制药的贝伐珠单抗(商品名:安可达)获得国家重大新药创制专项支持,按照优先审评审批程序获批上市,成功拿下首仿,并于与安维汀一起进入2019年国家医保目录。
随后,2020年6月,信达生物贝伐珠单抗生物类似药(商品名:达攸同)获批上市;2021年5月,绿叶制药/博安生物的贝伐珠单抗注射液(商品名:博优诺)获批;同年6月,恒瑞医药的抗肿瘤生物药贝伐珠单抗注射液(商品名:艾瑞妥)获批;同年11月,百奥泰的贝伐珠单抗注射液(商品名称:普贝希)获批......
目前,贝伐珠单抗已有多个适应症被纳入医保目录,其中包括结直肠癌、非小细胞肺癌、肝细胞癌、复发性脑胶质瘤等。药融云数据库显示,贝伐珠单抗原研在2017年未进入国家医保目录之前,中位中标价为5253元(100mg/瓶),经过医保谈判后,价格降至1998元(100mg/瓶);2018年,贝伐珠单抗又进一步降至1934元(100mg/瓶)。
贝伐珠单抗注射液不同省市中标价格查询(登录药融云数据库可查询具体价格详情)

图片来源:药融云药品招投标数据库
齐鲁制药的安可达公开价格是1266元/瓶,信达生物的达攸同为1188元/瓶;博安生物的博优诺为1145元/瓶,恒瑞医药的艾瑞妥为1140元/瓶,东曜药业的朴欣汀为1142元/瓶,贝达药业的贝安汀价格为1076元/瓶.....(登录药融云数据库可查询更多药品价格详情)
随着生物药市场竞争日渐火热,生物类似药纳入全国集采已是大势所趋。而在省级集采上,广东联盟集采可以说是已打响了单抗类生物类似药集采的“第一枪”。相信未来生物类似药纳入国家集采后,将会惠及更多患者,同时,也将是创新药企业争夺的一大方向。
二、“1家原研+10家仿制”同场竞技,百亿市场被相继分食!
作为罗氏单抗三巨头之一(分别为曲妥珠单抗、贝伐珠单抗和利妥昔单抗),贝伐珠单抗称霸销售榜多年,目前已在全球100多个国家上市,是抗体领域重磅炸弹级药物。截止2019年,贝伐珠单抗全球销售额已近859亿美元。
贝伐珠单抗的欧洲专利保护于2018年到期,美国专利保护于2019年到期后,该药已成为国内外热门仿制产品。面对这个百亿市场,市场争夺注定激烈,如何从中分得一杯羹,国内玩家也各显神通。随着国产仿制药的陆续上市,国内市场空间也快速增长。
药融云全国医院销售数据库显示,在国内医院端市场贝伐珠单抗2020年销售规模近40亿元,同比增长28.19%;其中罗氏占据68.29%的市场份额,齐鲁制药占比31.23%。
随着国产贝伐珠单抗注射液生物类似药的陆续获批,罗氏安维汀在中国医院端的市场份额也被严重挤压,销售开始逐年缩水。2022年贝伐珠单抗在医院端的销售规模已达到65亿元,其中齐鲁制药以35.56亿元的销售额超过罗氏,位居榜首,占据54.74%的市场份额;罗氏以15亿元销售额位居第二,占比22.89%;其次是信达生物,占比17.13%。
2022年中国医院端贝伐珠单抗竞争格局

图片来源:药融云全国医院销售数据库
凭借其较高的性价比优势与迅速扩张的市场占有率,可以预见我国进入市场的生物类似药种类将不断增多。业界预计,未来三年内还将可能有50多款生物类似药陆续上市,而率先进入市场的国内企业将优先受益。
想要解锁更多药品信息吗?查询药融云数据库(vip.pharnexcloud.com/?zmt-mhwz)掌握药品各国上市情况、药品批文信息、销售情况与各维度分析、市场竞争格局、通过一致性评价情况、集采中标情况、药企申报审批信息、最新动态与前景等,以及帮助企业抉择可否投入时提供数据参考!注册立享15天免费试用!

<END>







川公网安备51019002008863号
本网站未发布麻醉药品、精神药品、医疗用毒性药品、放射性药品、戒毒药品和医疗机构制剂的产品信息
收藏
登录后参与评论
暂无评论