
8月23日,四川美大康华康药业的注射用伏立康唑通过仿制药一致性评价。据药融云全国医院销售数据库显示,2019年国内医院端注射用伏立康唑销售规模超20亿元。
其中,原研厂家辉瑞占据40.3%的市场份额,四川美大康华康药业占据18.41%,珠海亿邦制药紧随其后占据17.71%,然后是丽珠集团占据14.11%,晋城海斯制药占据9.47%市场份额。
医院端注射用伏立康唑销售市场格局

图片来源:药融云全国医院销售数据库
注射用伏立康唑为广谱三唑类抗真菌药,治疗侵袭性曲霉病,非中性粒细胞减少患者中的念珠菌血症,对氟康唑耐药的念珠菌引起的严重侵袭性感染(包括克柔念珠菌),由足放线病菌属和镰刀菌属引起的严重感染等。
据药融云一致性评价审评进度数据库统计,目前注射用伏立康唑申报企业达25家,申报受理号31个。其中,已有4家企业过评,分别是倍特药业、普利制药、齐鲁制药、四川美大康华康药业,形成4+1格局,已满足集采条件。
注射用伏立康唑一致性评价审评数据(部分)

图片来源:药融云一致性评价审评进度数据库
注:药融云一致性评价审评进度数据库,收载了通过一致性评价品规和正在做一致性评价的全部申报数据。数据来源于NMPA和CDE官网,经内部专业人员整理而成。数据库支持精确查询和条件筛选,用户可以通过输入受理号、药品名称、企业名称、审评结论以及注册分类等进行快速查询,助您实时掌握仿制药审评动态,把握行业发展态势,洞悉行业竞争格局。
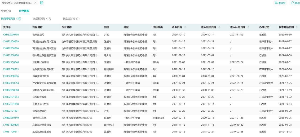
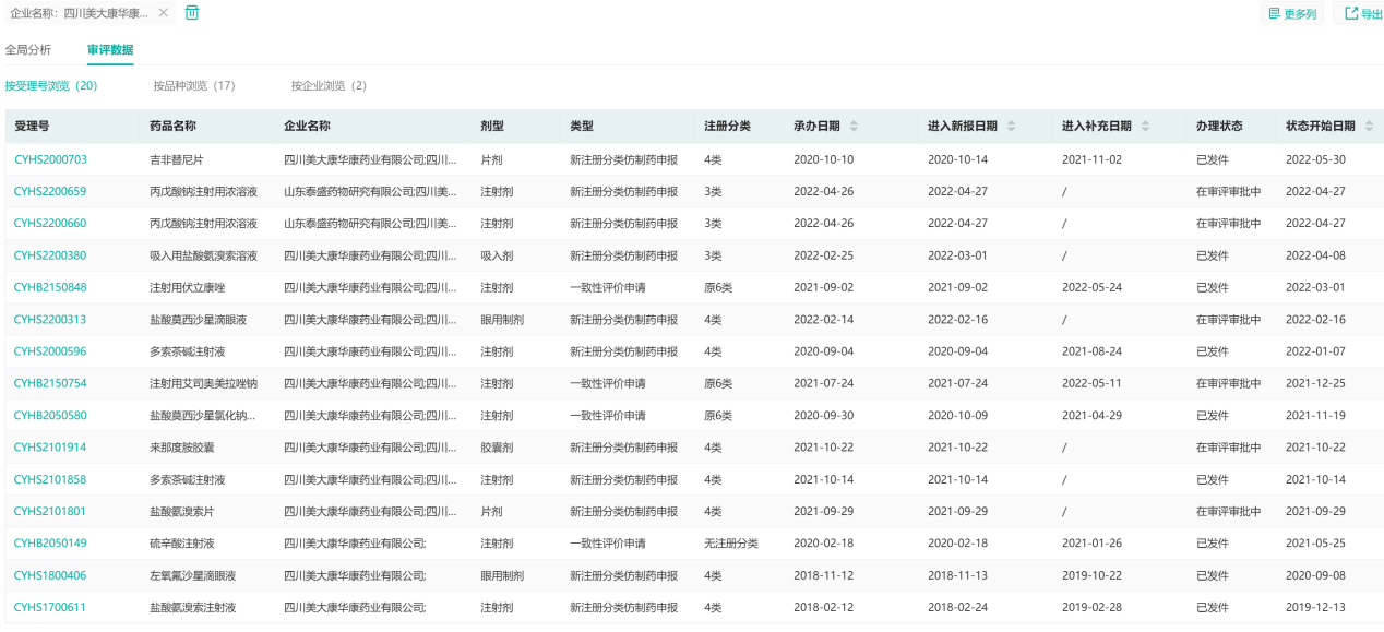
截至目前,四川美大康华康药业申报一致性评价受理号20个,涉及17个品种;其中已通过受理号9个,通过或视同通过一致性评价品种数8个,包含盐酸氨溴索注射液、左氧氟沙星滴眼液、硫辛酸注射液、多索茶碱注射液、盐酸莫西沙星氯化钠注射液、注射用伏立康唑、吉非替尼片、盐酸右美托咪定注射液。
四川美大康华康药业一致性评价审评数据(部分)

图片来源:药融云一致性评价审评进度数据库
值得一提的是,齐鲁制药以仿制4类报产的注射用伏立康唑也是在8月初获批上市,视同通过一致性评价。截至目前,齐鲁制药申报一致性评价受理号334个,涉及品种数179个;其中共有97个品种(171个品规)通过/视同通过一致性评价,首个过评品种是富马酸替诺福韦二吡呋酯片(齐鲁制药有限公司)、吉非替尼片(齐鲁制药(海南)有限公司)。
据药融云药品集中采购数据库收录数据显示,在第七批国家组织的药品集中带量采购中,齐鲁制药中选药品共计23个,其中注射剂最多,达到10个;中选品种13个,涉及22个品规。
齐鲁制药第七批集采数据(部分)

图片来源:药融云药品集中采购数据库
其中,最高降幅品种为富马酸丙酚替诺福韦片,中选价格0.32元,降幅达到98.22%;最低降幅品种为盐酸昂丹司琼注射液,中选价格15.8元,降幅34.72%(搜索"药融云小程序"进行相关更多数据查询)。
集采一直以来都是以价换量的过程,虽对药企有好处,但却会对以仿制药为主、产品单一药企的营收和净利润带来很大的冲击。因此,国内仿制药企业的重心开始转移,从着力于新注册分类实施前上市药品的一致性评价转向开始重视发展高质量标准的新型仿制药研发。
想要解锁更多药企仿制药信息吗?查询药融云数据库(vip.pharnexcloud.com/?zmt-mhwz)掌握药企仿制药申报情况、审批信息、最新进展、一致性评价、市场竞争格局、销售情况,市场规模与前景,可否投入!注册立享15天免费试用和虎年首份医药数据大礼包!

<END>







川公网安备51019002008863号
本网站未发布麻醉药品、精神药品、医疗用毒性药品、放射性药品、戒毒药品和医疗机构制剂的产品信息
收藏
登录后参与评论
暂无评论