
8月24日,中国国家药监局药品审评中心(CDE)官网最新公示,恒瑞医药递交了1类新药SHR0302片的上市申请并获得受理。公开资料显示,SHR0302(艾玛昔替尼)是一款新一代JAK1抑制剂,根据其在特应性皮炎人群中积极的2期研究结果,该产品还曾被CDE纳入突破性治疗品种。
早在今年6月初,恒瑞便与其子公司瑞石生物共同递交了硫酸艾玛昔替尼片的上市申请并获得受理(受理号:CXHS2300052),用于治疗中重度特应性皮炎((Atopic Dermatitis, AD),尚在审评审批中。这是首个提交上市申请并获受理的国内自主研发的JAK1抑制剂。

截图来源:CDE官网
据公开资料,艾玛昔替尼片(ivarmacitinib tablet)是一种口服高选择性的JAK1抑制剂,属于2代JAK抑制剂。研究显示,JAK1抑制剂通过调节多种与特应性皮炎病理相关的细胞因子来控制病情。据悉,艾玛昔替尼与泛JAK抑制剂相比,具有更高的选择性,用于中重度特应性皮炎的治疗可能具有更好的安全性和有效性。
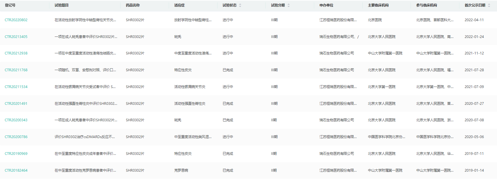
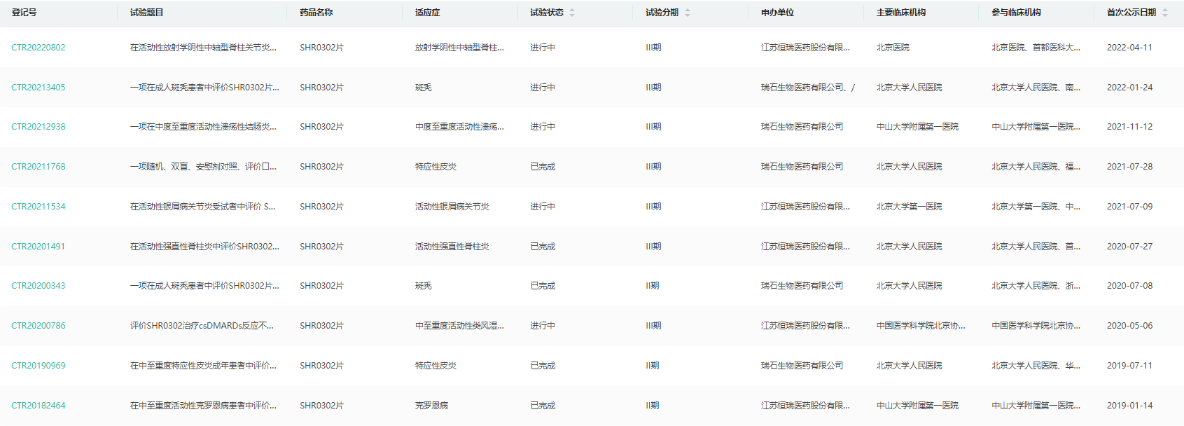
药融云数据库显示,除了特应性皮炎,艾玛昔替尼还在开展多项III期临床试验,针对适应症包括放射学阴性中轴型脊柱关节炎、斑秃、中度至重度活动性溃疡性结肠炎、活动性银屑病关节炎、活动性强直性脊柱炎、中至重度活动性类风湿关节炎等。此外还有针对移植物抗宿主病、克罗恩病等适应症的临床在研。

截图来源:药融云中国临床试验数据库
除了此次申报的片剂产品,恒瑞还针对SHR0302这款JAK产品开发了乳膏剂、口服溶液的剂型,分别处于临床II/III期、临床I期阶段。
参考资料:
1.CDE官网
2.药融云数据库
<END>
要解锁更多企业药品研发信息吗?查询药融云数据库(vip.pharnexcloud.com/?zmt-mhwz)掌握药品各国上市情况、药品批文信息、销售情况与各维度分析、市场竞争格局、一致性评价情况、集采中标情况、药企申报审批信息、最新动态与前景等,以及帮助企业抉择可否投入时提供数据参考!注册立享15天免费试用!








川公网安备51019002008863号
本网站未发布麻醉药品、精神药品、医疗用毒性药品、放射性药品、戒毒药品和医疗机构制剂的产品信息
收藏
登录后参与评论
暂无评论