
据CDE官网公示,百济神州的替雷利珠单抗注射液递交的2.2类上市申请获受理。这是该品种第13项申报上市的适应症。据百济神州2023年半年度财报,此次申报的适应症或为一线治疗广泛期小细胞肺癌(ES-SCLC)。

截图来源:CDE官网
据悉,本次上市申请基于III期RATIONALE 312(NCT04005716)研究的积极数据。5月26日,百济神州宣布,III期RATIONALE 312研究达到其总生存期(OS)的主要终点,即相较于化疗,替雷利珠单抗联合化疗在未经治疗的广泛期小细胞肺癌(ES-SCLC)患者中展现出OS优效性。与此同时,试验未发现新的安全性警示。
据药融云数据库,替雷利珠单抗注射液已在国内陆续获批11项适应症,包括食管鳞状细胞癌、胃或食管结合部腺癌、鼻咽癌、结直肠癌、非小细胞肺癌、霍奇金淋巴瘤等,其中,联合化疗用于一线治疗不可切除的局部晚期、复发或转移性食管鳞状细胞癌(ESCC)的适应症于今年5月获批。
已获批适应症中,有9项已被纳入了国家医保目录中。在此基础上,产品用于治疗一线不可切除或转移性肝细胞癌(HCC)患者的补充新增适应症上市许可申请也正在被国家药监局审评中,有望年内获批。
雷替丽珠单抗注射液上市申报情况

数据来源:药融云中国药品审评数据库
另外,百济神州还布局了替雷利珠单抗注射液的皮下注射剂型,其临床申请已于8月2日获受理。
据百济神州2023年半年度财报,百泽安®(替雷利珠单抗注射液)在2023年上半年中国的销售额总计18.36亿元,相较于2022年同期12.51亿元的销售额,同比增长超过了四成。
与此同时,美国FDA也在审评对百泽安®用于二线治疗食管鳞状细胞癌(ESCC)的新药上市许可申请,且FDA已于今年第二季度完成此项申请获批前的生产基地现场核查。
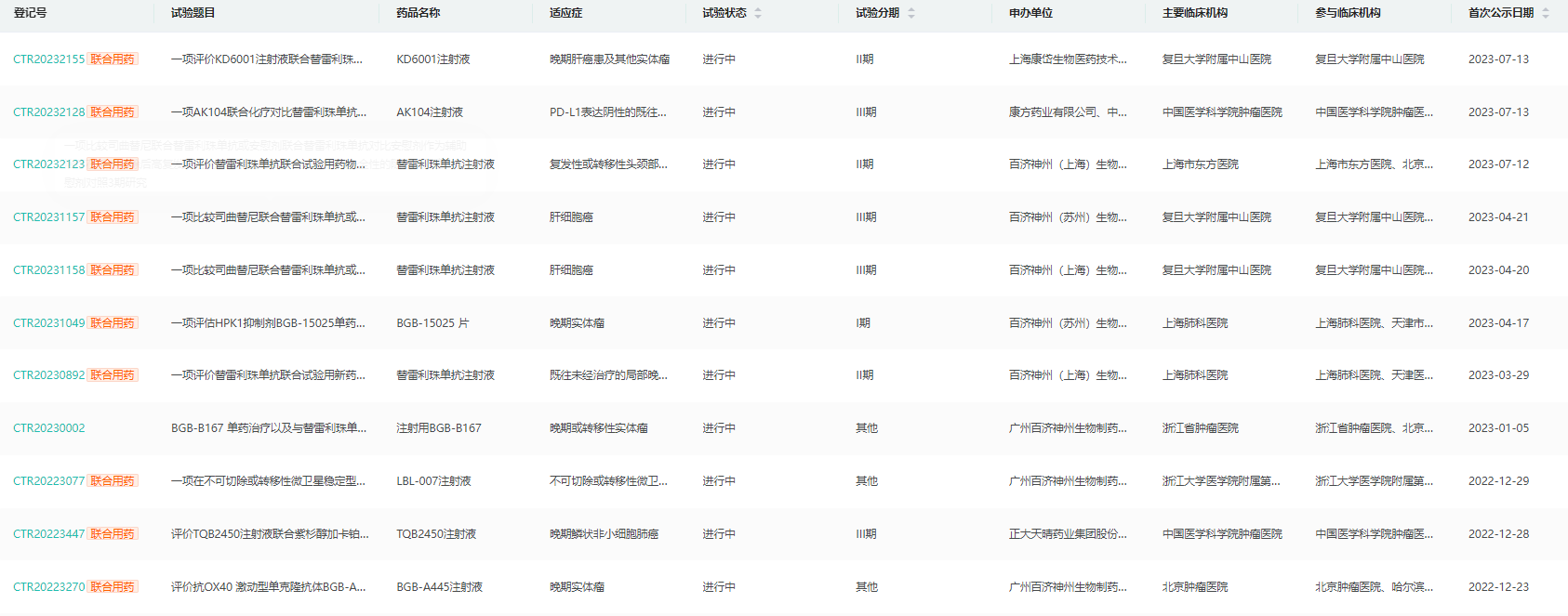
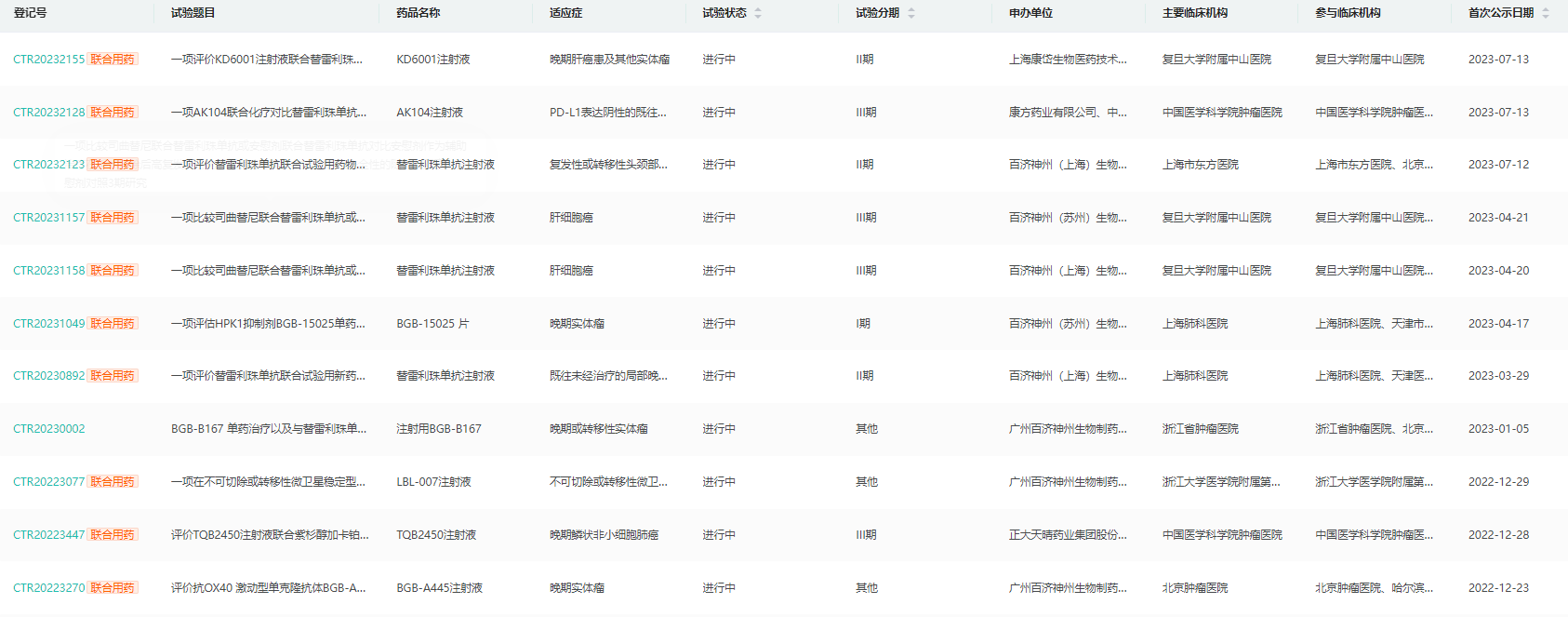
据药融云数据库,替雷利珠单抗今年还启动了2项III期临床试验和2项II期临床,适应症包括头颈部鳞状细胞癌、肝细胞癌、非小细胞肺癌等。
替雷利珠单抗国内临床试验

截图来源:药融云中国临床试验数据库
<END>
要解锁更多企业药品研发信息吗?查询药融云数据库(vip.pharnexcloud.com/?zmt-mhwz)掌握药品各国上市情况、药品批文信息、销售情况与各维度分析、市场竞争格局、一致性评价情况、集采中标情况、药企申报审批信息、最新动态与前景等,以及帮助企业抉择可否投入时提供数据参考!注册立享15天免费试用!








川公网安备51019002008863号
本网站未发布麻醉药品、精神药品、医疗用毒性药品、放射性药品、戒毒药品和医疗机构制剂的产品信息
收藏
登录后参与评论
暂无评论