
8月23日,据CDE官网显示,四川科伦药业提交的3类仿制药盐酸曲唑酮片上市申请已获受理。据药融云数据库显示,目前盐酸曲唑酮片在国内暂无一家药企过评。

截图来源:CDE官网
盐酸曲唑酮是一种非典型抗抑郁药,同时兼具镇静和抗焦虑作用,属于5-羟色胺和去甲肾上腺素再摄取抑制剂(SARIs)类别。据药融云数据库显示,盐酸曲唑酮片在2023年全国院内市场的销售额超4亿元,同比增长达23.79%。

截图来源:药融云全国医院销售数据库
在仿制药布局方面,盐酸曲唑酮片有四川科伦药业、成都倍特药业、重庆圣华曦药业等14家药企提交了仿制申请,均在审评审批中。目前有5家药企拥有生产批文,暂无一家药企过评,首家过评企业将花落谁家?我们拭目以待。

截图来源:药融云中国药品审评数据库
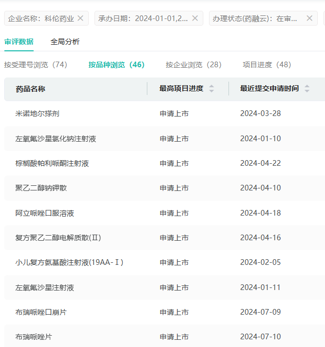
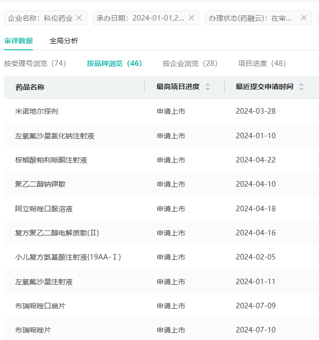
2024年至今,科伦药业(含子公司)提交了盐酸曲唑酮片、米诺地尔搽剂、左氧氟沙星氯化钠注射液、布瑞哌唑片、枸橼酸西地那非口溶膜等46个品种的上市申请。

截图来源:药融云中国药品审评数据库
今年以来,科伦药业(含子公司)有20个品种过评,其中拿下艾曲泊帕乙醇胺片、ω-3甘油三酯(2%)中长链脂肪乳/氨基酸(16)/葡萄糖(16%)注射液、注射用美罗培南/氯化钠注射液3个品种首家过评+首仿。
参考来源:
[1] CDE官网
[2] 药融云数据库
<END>
想要解锁更多药物研发信息吗?查询药融云数据库(vip.pharnexcloud.com/?zmt-mhwz)掌握药物基本信息、市场竞争格局、销售情况与各维度分析、药企研发进展、临床试验情况、申报审批情况、各国上市情况、最新市场动态、市场规模与前景等,以及帮助企业抉择可否投入时提供数据参考!注册立享15天免费试用!








川公网安备51019002008863号
本网站未发布麻醉药品、精神药品、医疗用毒性药品、放射性药品、戒毒药品和医疗机构制剂的产品信息
收藏
登录后参与评论
暂无评论