
1月17日,CDE官网公示,齐鲁制药的1类创新药 注射用QLS5132 与2.2类新药 QL2107注射液 临床申请同步获受理。此次“双弹齐发”,刷新了其生物药管线的推进节奏。

截图来源:CDE官网
一、首款自研ADC破冰:QLS5132剑指晚期实体瘤
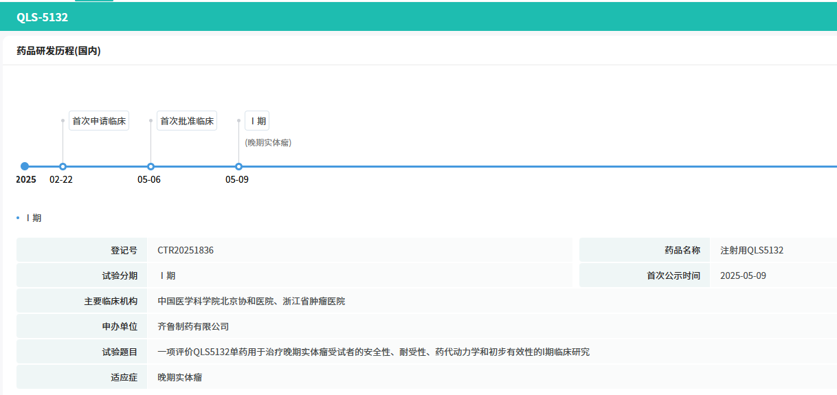
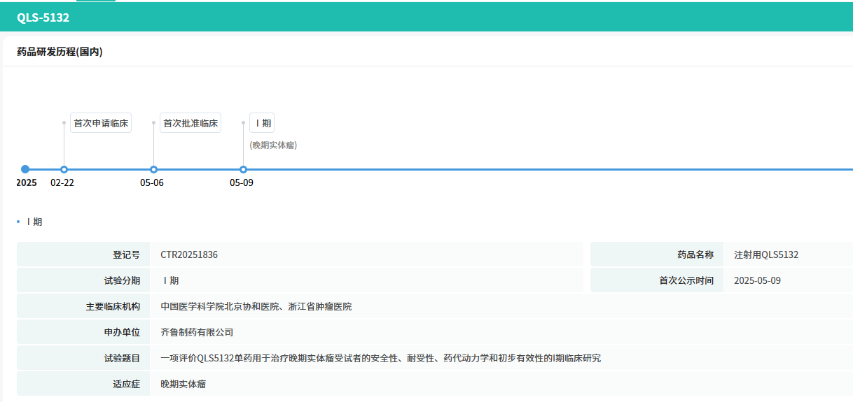
注射用QLS5132 的受理,标志着齐鲁制药正式切入ADC这一高壁垒赛道。作为公司首款自主研发的靶向CLDN6(Claudin-6)抗体偶联药物(ADC),QLS5132 属1类创新生物制剂,拟用于晚期实体瘤治疗。
CLDN6作为紧密连接蛋白家族成员,在卵巢癌、睾丸癌、肺癌等高发实体瘤中呈特异性高表达,正常组织分布极少,是近年肿瘤靶向治疗的“黄金靶点”。据公开信息,QLS5132 已于2025年5月6日首次批准临床,是目前齐鲁制药首款进入临床阶段的自研ADC药物。

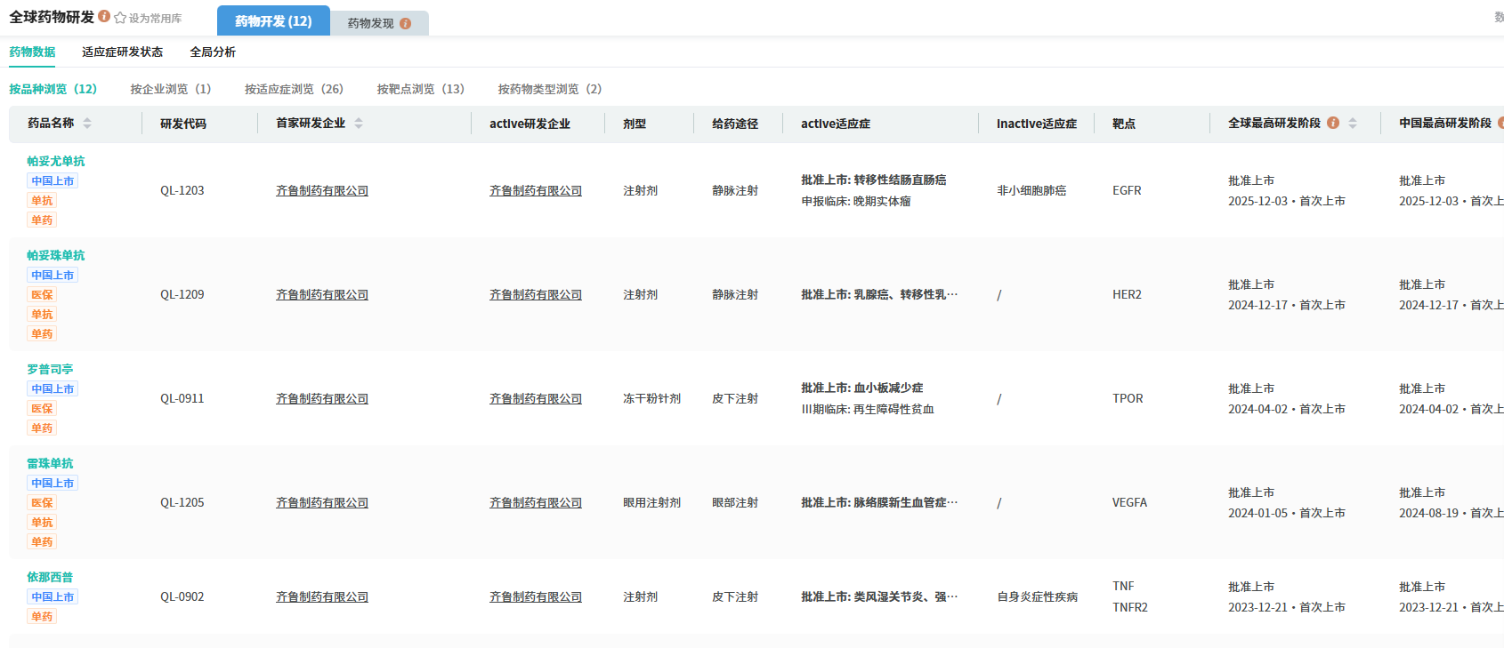
查数据,找摩熵!图源:摩熵医药-全球药物研发数据库
二、PD-1类似药再下一城:QL2107对标“K药”
同日受理的 QL2107注射液,是齐鲁制药研发的帕博利珠单抗(Keytruda®,“K药”)生物类似药。
帕博利珠单抗,中国患者俗称“K药”是免疫治疗领域的明星药物,自2014年首次获美国FDA批准以来,不仅在黑色素瘤治疗中效果显著,在非小细胞肺癌、头颈部鳞状细胞癌等多种癌症中也展现出良好疗效。
QL2107 通过结合PD-1受体,阻断PD-1/PD-L1、PD-1/PD-L2信号轴,解除T细胞免疫抑制,从而激活抗肿瘤免疫应答。目前齐鲁制药有10多款生物类似药获批上市。

查数据,找摩熵!图源:摩熵医药-全球药物研发数据库
目前国内多款PD-1类似药已进入临床后期,其生物类似药赛道竞争已进入白热化。QL2107 的推进节奏,将直接影响齐鲁在免疫治疗市场的占位。
三、2025年11款1类新药临床获批,生物药矩阵持续扩容
生物药是齐鲁制药重点布局的药品类型之一。据摩熵医药数据库的数据显示,2025年,齐鲁制药共有11款1类新药首次在国内获批临床,其中6款为生物药。这些新药的适应症高度集中在抗肿瘤领域,涵盖了ADC、双抗、单抗等多个热门研发方向。










浙公网安备33011002015279
本网站未发布麻醉药品、精神药品、医疗用毒性药品、放射性药品、戒毒药品和医疗机构制剂的产品信息
收藏
登录后参与评论
暂无评论