
10月29日,据NMPA官网最新公示 ,扬子江药业集团江苏紫龙药业以仿制4类报产的醋酸加尼瑞克注射液获批并通过一致性评价。据摩熵医药数据库显示,该品种在2023年全国院内市场的销售额逼近2亿元。

截图来源:NMPA
醋酸加尼瑞克原研厂家为欧加农(从默沙东分拆而来)。是辅助生殖领域的降调药。作为促性腺激素释放激素(GnRH)拮抗剂,专为在接受辅助生殖技术(ART)控制性卵巢刺激(COS)方案的妇女中使用,用于预防过早出现促黄体激素(LH)峰。在原研和正大天晴共同推动下,国内院内市场销售快速增长。据摩熵医药数据库显示,该品种在2023年全国院内市场的销售额逼近2亿元,同比增长达9.50%。

截图来源:摩熵医药(原药融云)全国医院销售数据库
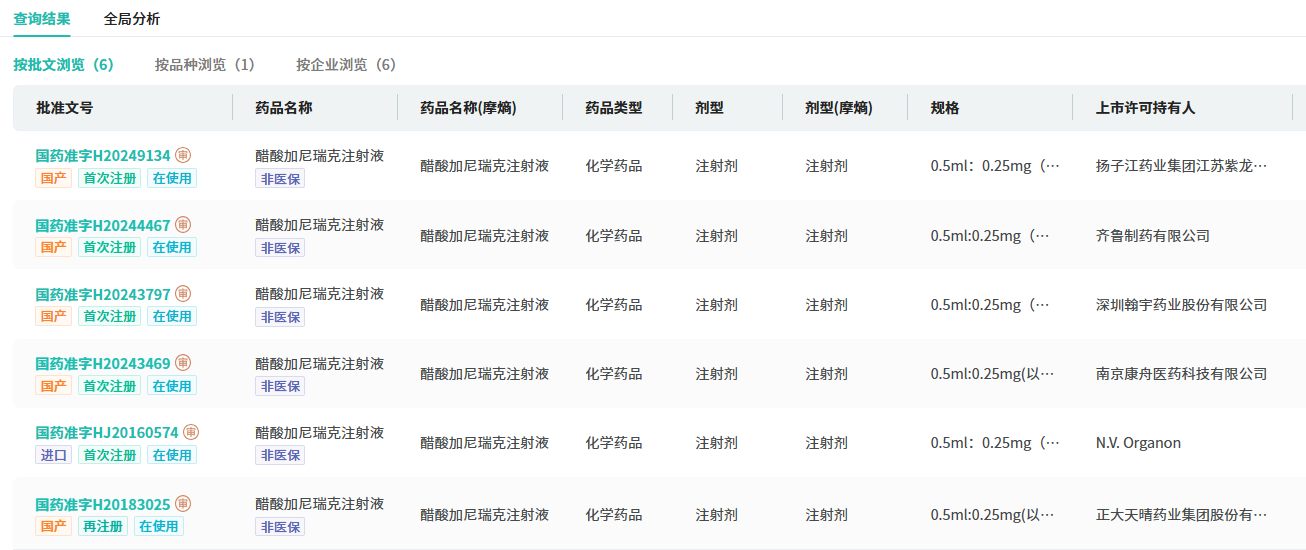
除原研(欧加农),国内市场还有正大天晴、南京康舟医药、深圳翰宇药业、齐鲁制药4家药企的醋酸加尼瑞克注射液已获批上市,扬子江药业集团江苏紫龙药业为该产品国产第5家。

截图来源:摩熵医药(原药融云)中国药品批文数据库
目前,在仿制药布局方面醋酸加尼瑞克注射液有辰欣药业、湖南科伦制药等6家药企提交了4类仿制申请,均在审评审批中。

截图来源:摩熵医药(原药融云)中国药品审评数据库
2024年至今,扬子江药业集团江苏紫龙药业有吸入用乙酰半胱氨酸溶液、磷酸特地唑胺片、醋酸加尼瑞克注射液3个品种获批并过评。
<END>
想要解锁更多药物研发信息吗?查询摩熵医药(原药融云)数据库(vip.pharnexcloud.com/?zmt-mhwz)掌握药物基本信息、市场竞争格局、销售情况与各维度分析、药企研发进展、临床试验情况、申报审批情况、各国上市情况、最新市场动态、市场规模与前景等,以及帮助企业抉择可否投入时提供数据参考!注册立享15天免费试用!








川公网安备51019002008863号
本网站未发布麻醉药品、精神药品、医疗用毒性药品、放射性药品、戒毒药品和医疗机构制剂的产品信息
收藏
登录后参与评论
暂无评论