
5月29日,复星医药的1类创新药芦沃美替尼(FCN-159,商品名:复迈宁)获批上市,适用于朗格汉斯细胞组织细胞增生症(LCH)和组织细胞肿瘤成人患者;2岁及2岁以上伴有症状、无法手术的丛状神经纤维瘤(PN)的I型神经纤维瘤病(NF1)儿童及青少年患者。
芦沃美替尼基本信息

图片来源:摩熵医药全球药物研发数据库
说到I型神经纤维瘤病(NF1),这是一种较为常见的常染色体显性遗传性疾病。在神经纤维瘤病的三种主要临床类型中,它占据了96%的比例,且已被纳入国家罕见病目录,全球发病率为1/2500-1/3000。大约30%-50%的NF1患者会出现丛状神经纤维瘤(PN),这种瘤体沿神经长轴呈弥漫性生长,常累及多条神经干、分支及神经丛,并侵及周围组织,从而引发毁容、疼痛、运动及呼吸功能障碍、视力受损以及膀胱或肠道功能障碍等一系列严重问题。
鉴于NF1相关PN瘤体复杂的生长特性和侵入性生长方式,手术治疗面临着诸多挑战。瘤体往往生长于头部、颈部、脊椎等特殊部位,致使手术风险巨大、难度极高,部分瘤体无法被完全切除,且复发率居高不下,这使得手术治疗效果极为有限,因此,研发有效的治疗药物迫在眉睫。
FCN-159作为复星医药开发的高活性、高选择性MEK1/2抑制剂,其作用机制至关重要。MEK是细胞外信号相关激酶(ERK)通路的上游调节因子,通过抑制MEK的活性,能够有效抑制RAS调节RAF/MEK/ERK通路的活性,进而抑制肿瘤生长。而在NF1中,RAS-丝裂原活化蛋白激酶(RAS-MAPK)通路常常发生异常,这种异常会促使细胞增殖和肿瘤沿神经生长,因此,MEK被认为是F1相关PN药物开发的潜力靶点。
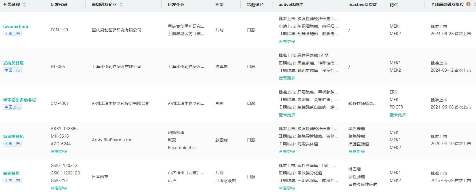
MEK 抑制剂的应用不仅局限于治疗NF1相关 PN,它还在黑色素瘤、结直肠癌、淋巴瘤等肿瘤的治疗领域展现出巨大潜力。据摩熵医药数据库显示,目前国内已批准5款MEK抑制剂,除了芦沃美替尼,还有诺华/百济神州的Trametinib(曲美替尼)、阿斯利康/默克的Selumetinib(氢司美替尼)、泽璟生物的Donafenibtosylate(甲苯磺酸多纳非尼)和科州制药的Tunlametinib(妥拉美替尼)。
国内获批上市的MEK抑制剂

图片来源:摩熵医药全球药物研发数据库
此外,国内还有20余款MEK抑制剂正处于研发阶段,如卫材的E-6201(II期临床)、恒瑞医药的SHR7390(I期临床)、基石药业的CS3006(I期临床)、正大天晴的TQ-B3234(I期临床)、来凯医药的GSK-795(I期临床)、璧辰医药的ABM-168(I期临床)等。
此次11款创新药集中获批,既是中国药审改革成果的集中体现,也标志着本土药企在肿瘤、罕见病等高壁垒领域实现技术突破。随着政策支持力度加大和研发体系完善,未来将有更多创新药进入临床,为患者带来生命希望。
想要解锁更多药品研发信息吗?查询摩熵医药(原药融云)数据库(vip.pharnexcloud.com/?zmt-mhwz)掌握药企公司基本信息、投融资情况、产品管线分布、药物销售情况与各维度分析、药物研发情况、年度报告、最新进展动态、临床试验信息、市场规模与前景等,以及帮助企业抉择可否投入时提供数据参考!注册立享15天免费试用!








川公网安备51019002008863号
本网站未发布麻醉药品、精神药品、医疗用毒性药品、放射性药品、戒毒药品和医疗机构制剂的产品信息
收藏
登录后参与评论
暂无评论